Как укрепить склоны с помощью геоматериалов?
Участок со склоном – капризный объект. Дождь может стать причиной оползня. Тающий снег спровоцирует подтопление внизу участка. Ветер грозится сдуть с него верхний слой почвы. Одним словом, проблем может быть множество, если их вовремя не решить.
Первое, что нужно сделать на таком участке, – это пригласить специалистов. После обследования они представят вам полную картину опасностей, которые вас могут подстерегать. И одна из самых главных – рельеф. Чем выше угол уклона вашей территории, тем выше вероятность осыпей, оползней, сползания грунта во время весеннего таяния снега. Выход тут только один – укрепить склон.
Способы укрепления склона
Способов укрепления склона немало. Нельзя уверенно сказать, что какой-то из них однозначно лучше. Здесь многое зависит от угла, под которым расположен ваш участок, и от преобладающего типа почв.
Самый простой способ укрепления склона – высадка растений с мощной корневой системой.
Однако данный способ подходит только для той территории, где возвышенность расположена под небольшим углом. Для участков же с уклоном, превышающим 10 градусов, нужны более надежные способы. К ним относится укрепление склона различными геосинтетическими материалами (геоматериалами):
- геотекстилем;
- геоматом;
- геосеткой;
- георешеткой.
Все эти слова с первой частью гео- являются строительными материалами, выполненными из натуральных или синтетических полимеров. Они используются для улучшения свойств различных типов грунтов, оберегают почвы от эрозии и служат для защиты территорий, которые нуждаются в усилении склонов. Данные изделия не боятся влаги, перепадов температур и химических веществ. Они имеют долгий срок использования, экологически безопасны и не вызывают трудностей в установке.
Чем отличаются разные виды геоматериалов?
Геосетка отличается небольшой, по сравнению с георешеткой, высотой ячеек: она не превышает 5 мм.
Геомат – строительный материал, который внешне напоминает мочалку с множеством пустот. Он состоит из нескольких слоев полипропиленовых решеток, которые укладывают друг на друга и соединяют. Корни растений, высаженных после укладки геомата, со временем переплетаются с его волокнами. Так формируется очень плотный слой земли, который предохраняет склон и от эрозии, и от оползней.
Геотекстилем называется волокно, изготовленное тканым или нетканым способом из пропиленовых или полиэфирных нитей. Может быть разного цвета. Этот материал не допускает прорастания сорняков, выполняет функцию фильтра и способствует водоотведению. Помогает он также равномерно распределять нагрузку от насыпных материалов. При укреплении склонов обычно используется в сочетании с георешеткой.
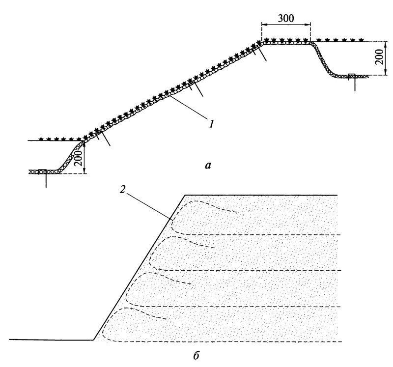
Укрепление склона георешеткой
Если склон вашего участка превышает 70 градусов, специалисты рекомендуют в качестве армирующего материала использовать георешетку. Этот полимерный материал похож на большие соты, которые во время работы заполняют различными материалами. Укладка георешетки происходит в определенной последовательности в несколько этапов.
Этап 1
Вначале необходимо очистить землю от крупных растений, камней, мусора, ям и т.п., выровнять и, если есть необходимость, уплотнить склон. Корневую систему растений не удаляют, т.к. она служит для скрепления почвы.
Этап 2
На склон расстелите геотекстиль и хорошо растяните. Этот слой нужен для того, чтобы предотвратить смешивание грунта с материалом, которым впоследствии будут заполнены ячейки георешетки. Поможет геотекстиль также и в том случае, если из склона сочится вода. Материал просто не даст ей дойти до поверхности и размыть верхний слой почвы, а распределит жидкость по своей поверхности и направит ее вниз, к подножию склона.
Этап 3
Закрепите на геотекстиль анкеры. Расстояние между ними не должно превышать 21 см для мелкоячестой георешетки и 40 см – для крупноячеистой. Именно анкеры нужны для удержания данного материала.
Этап 4
Растяните георешетку на склоне, закрепляя ее на анкеры. Чтобы получить цельное полотно, отдельные секции георешетки соедините друг с другом промышленным степлером.
Помните, что у правильно уложенной и растянутой георешетки ячейки должны иметь квадратную форму.
Этап 5
Далее идет заполнение ячеек выбранным заранее материалом. Для этого обычно используют щебень или плодородную почву. Минеральный наполнитель – песок или щебень – насыпают на 3 см выше кромки. Почва должна возвышаться над георешеткой на 5 см.
Этап 6
Последний этап – уплотнение и выравнивание поверхности. Если сверху была насыпана плодородная земля, склон можно засеять травой. Растения своими корнями еще больше скрепят грунт.
Геоматериалы, которые применяются для укрепления склонов, доступны по цене и достаточно просты в использовании. Какой из них лучше выбрать, вам посоветует специалист.
Система укрепления крутых склонов
Преимущества системы укрепления крутых склонов
Склоны являются широко распространенной географической особенностью. Они могут располагаться где угодно со степенью крутизны от низменностей до ультра крутых горных. Как правило, практически весь спектр этих особенностей местности можно обнаружить на строительных участках.
При строительстве дорожных трасс и зданий относительно плоские участки земли являются предпочтительными. Эти области конструируются с помощью выкапывания или заполнения ям почвой, что часто оставляет значительные изменения по краям котлована.
Армирование крутых склонов является экономически эффективным средством для достижения более высоких оценок надежности, чем это возможно с обычными неукрепленными.
Геосинтетические укрепленные крутые склоны являются почвенными структурами, смоделированными при угле наклона лицевой стороны вверх до высоты 80° от горизонтали.
Обычные неармированные склоны ограничиваются углом наклона лицевой стороны примерно до 30 градусов, или меньше, в зависимости от угла естественного откоса наклона почвы.
Подробная информация о системах укрепления
Как и обычные почвенные склоны, укрепленные склоны сконструированы посредством уплотнения грунтовых слоев, в то время как лицевая сторона находится под углом. Вследствие чего лицевая сторона защищена от эрозии. Дополнительные геосинтетические элементы включаются в укрепленные крутые склоны, чтобы облегчить дренаж, свести к минимуму просачивание грунтовых вод и обеспечить стабильность более крутого наклона и эрозионную стойкость облицовки. Ниже приведены подробные компоненты геосинтетических материалов, усиливающих системы укрепления крутых склонов:
- Фундамент — твердая почва или основа, на которой конструируется склон. Устойчивость подразумевается под твердым основанием.
- Почвенный остаток – это та часть почвы, которая остается на месте за пределами раскопа.

- Закрытый дренаж — геосинтетический дренаж устанавливается на границах зоны армированной почвы для контроля и сбора просачивающихся грунтовых вод.
- Армированная почва — почва, находящаяся в уложенном слое, прилегающему к почвенному остатку и включающая в себя горизонтальные армирующие слои, что создает наклонную структуру.
- Укрепление – геосинтетики, полимерная геосетка или дренажный геотекстиль с достаточной прочностью и почвенно-совместимыми модулями, расположенными по горизонтали в пределах склона, обеспечивают крепость на растяжение, чтобы противостоять неустойчивости.
- Защитное покрытие – покрытие, устойчивое к эрозии, которое наносят на готовую поверхность склона.
Геоматериалы для укрепления склона
Склон — это очень проблемное место, которое может разрушиться если вовремя не принять меры, например: от дождя, тающего снега или от ветра, который может уничтожить верхний слой почвы. И в первую очередь, что необходимо сделать, это позвать специалиста, который обследует участок и предоставит целую карту возможных проблем.
Наиболее простой метод укрепления склонов, это посадка растений с сильной корневой системой, когда трава разрастается, то своими корнями скрепляет грунт и не дает ему двигаться вниз. Но этот метод, подойдет для склонов, не превышающих угол наклона 10°. Если склон больше 10 градусов, то для его укрепления нужны надежные геоматериалы:
- Геотекстиль — обладает наиболее высокой прочностью на сдвиг, что определяет его полезность при армировании склонов. Текстиль легко раскатывается и обеспечивает покрытие большой площади участка. Материал полезен при борьбе с эрозией и оползнями, помогает увеличить степень возможных механических нагрузок на поверхность грунта.
Геотекстиль прочный водонепроницаемый, помогает избежать смещение слоев грунта при сходе воды и снега. Применение материалов данной категории актуально для укрепления склонов с кривизной до 60 градусов. -
Геоматы — обеспечивают эффективную борьбу с эрозией или оползанием. Обладающие полимерной основой геоматы отлично подходят для сочетания с естественными методами фиксации склонов. Благодаря водопроницаемости они не препятствуют росту травы, а переплетение корней и геоматов формирует систему, которая защищает склон от эрозии, вымывания, выветривания и оползней. Геоматы возможно наполнять не только семенами трав и растений, но и битумом, щебнем. Этот материал подойдет для использования на откосах с уклоном до 70 градусов.
- Геосетка — чаще всего для укрепления склонов применяется сетка из стекловолокна или полиэфирных нитей. Она довольно жесткая, не боится высоких деформационных нагрузок, просто закрепляется к поверхности склона. Данный материал подойдет для армирования откосов с крутизной до 70 градусов.

- Объемная георешетка — подойдет для укрепления откосов с различным уровнем кривизны. После растягивания и фиксации на местности ее ячейки наполняют щебнем, торфом или иными проницаемыми материалами. Георешетка благополучно справляется с эрозией оврагов, склоны становятся наиболее устойчивыми, останавливается их осыпание. Высота конструкции варьируется от 5 до 30 см, в зависимости от сложности рельефа местности, нагрузки на склон.
- Биоматы — используется для стремительного и эффективного развития растительного покрова. Биоразлагаемая основа, создающая подходящие условия для прорастания природного каркаса из трав и кустарников. Они представляют собой нетканое – иглопробивное либо нитепрошивное основание из растительных волокон (соломы, кокосового волокна или их смеси), усиленных полипропиленовой или джутовой нитью. Полотно хорошо оберегает посадки от дождя и ветра. А разложение естественных волокон материала содействует удобрению почвы. Создание естественных преград на дороге осыпания и расползания пластов земли производится на склонах до 45 градусов.
Если уклон не превышает 30°, возможно просто выбрать подходящие растения, способные оказывать сопротивление смещению слоев земли в вертикальной и горизонтальной плоскости. При наиболее активном перепаде высот обычно применяют комбинированные способы. К примеру, при угле наклона в 45 градусов насыпи необходимо сперва обнести габионами, а потом использовать георешетку в верхней части холма, на основе искусственной опоры.
Укрепление склона от сползания на участке: современные методы
Содержание статьи
- 1 Промышленные методы
- 1.1 Изменение профиля существующего рельефа
- 1.2 Регулирование гидрогеологической обстановки
- 1.3 Агролесомелиорация
- 1.4 Улучшение прочностных свойств грунтов
- 1.5 Устройство удерживающих сооружений
- 1.5.1 Подпорные стены
- 1.5.2 Свайные конструкции
- 1.5.3 Геотекстиль, геосетки и георешетки
- 1.5.4 Габионы
- 2 Народные методы
- 2.
1 Высаживание кустарников и деревьев - 2.2 Устройство террас
- 2.3 Подпорные стенки
- 2.4 Геополимерные материалы
- 2.5 Мероприятия по отводу поверхностных вод
- 2.
Строительство различных объектов часто приходится вести на участках, имеющих сложный рельеф с выраженными уклонами. В таких случаях, с целью предотвращения сползания массивов грунта, применяют специальные противооползневые мероприятия. При этом способы, с помощью которых производят укрепление склонов, в зависимости от разновидности постройки и сложности ситуации можно разделить на два вида: промышленные методы и народные методы.
Промышленные методы
При строительстве крупных, ответственных объектов в сложных условиях используется усиление грунтов с помощью следующих мероприятий:
- изменение профиля существующего рельефа для повышения стабильности состояния склонов;
- регулирование гидрогеологической обстановки;
- агролесомелиорация;
- улучшение прочностных свойств грунтов;
- устройство сооружений удерживающего характера.

Выбор метода зависит от условий конкретного участка, на котором ведется строительство: вида объекта, его назначения, размеров и этажности, величины уклона, уровня грунтовых вод, типа и характеристик грунтов. Перед тем, как осуществлять мероприятия по укреплению склонов на участке, производят инженерно-геологические, инженерно-гидрологические, геодезические изыскания, позволяющие определить все факторы, влияющие на выбор того или иного способа.
Важно! Укрепление склона от сползания осуществляется на основании требований СНиП 22-02-2003 «Инженерная защита территорий, зданий и сооружений от опасных геологических процессов», СП 45.13330.2012 «Земляные сооружения, основания и фундаменты» и других нормативных документов, действующих на территории РФ.
Изменение профиля существующего рельефа
Профиль существующего рельефа изменяют несколькими способами: террасированием, удалением нестабильного грунта и его заменой, устройством в нижней зоне уклона специального упорного контрбанкета, предотвращающего сползание грунта.
С помощью террасирования снижается крутизна уклона, ему придается более устойчивая форма. Террасы устраивают обычно на границах пластов грунта с разными характеристиками и на участках с просачиванием грунтовых вод на поверхность. Ширину террас и высоту перепадов между ними определяют расчетом. Устройство террас сопровождается комплексом мероприятий по водоотведению.
Удаление и замена нестабильного грунта производится в случае, когда все остальные способы крепления склонов признаны нецелесообразными и экономически неэффективными.
Устройство контрбанкета осуществляется на основании предварительных расчетов, которыми определяются размеры и форма упорного сооружения из грунта, плотность его укладки и схема отвода поверхностных вод.
1 — поверхность склона; 2 — контрбанкет; 3 — поверхность скольжения; 4 — номера расчётных отсеков, на которые условно разбивается оползневый массив.
Регулирование гидрогеологической обстановки
Регулирование гидрогеологической обстановки включает следующие мероприятия:
- регулирование движения поверхностных вод, образующихся в результате осадков или таяния снега;
- предотвращение просачивания воды вглубь грунта, которая способна вызывать эрозионные процессы и возникновение оползней;
- понижение существующего уровня грунтовых вод.

В целях регулирования движения поверхностных вод осуществляется вертикальная планировка рельефа местности на участке строительства, устройство специальных водоотводов и ливневой канализации для удаления вод за пределы территории строительства.
Для предотвращения просачивания вод вглубь массива грунта необходимо тщательно следить за возможными утечками из промышленных и хозяйственно-бытовых водопроводов, расположенных вблизи опасных склонов, и вовремя их устранять. Также в этих целях должны быть исключены такие явления, как скопление дождевой и талой воды в котлованах и траншеях во время строительства.
Понижение существующего уровня грунтовых вод осуществляется с помощью следующих мероприятий:
- устройство дренажных траншей и канав;
- устройство дренажей трубчатого типа;
- устройство пластовых дренажей;
- устройство водопонижающих скважин.
Агролесомелиорация
Укрепление склонов с помощью агролесомелиорации заключается в высаживании деревьев и кустарников, разветвленная корневая система которых, подобно армированию железобетонных конструкций, способствует укреплению грунта на склоне.
Посадка деревьев и кустарников сочетается также с посевом многолетних трав, которые закрепляют верхний слой грунта. Агролесомелиорация допускается для укрепления склонов крутизной до 35°, подбор пород деревьев и кустарников осуществляется с учетом климатических условий региона строительства.
Улучшение прочностных свойств грунтов
Укрепление грунтов – способ, предусматривающий введение в естественный массив грунта специальных агентов, изменяющих его свойства и улучшающих характеристики прочности и устойчивости. Укрепление грунтов осуществляется с помощью следующих методов: цементации, битумизации, силикатизации, смолизации, электрохимического и термического закрепления.
Цементация заключается в процессе нагнетания в массив грунта водного раствора цемента через специальные скважины-инжекторы. В результате цементный раствор проникает в поры грунтового массива и при последующем затвердевании способствует значительному увеличению прочности, устойчивости и водонепроницаемости грунтов.
Технология цементации может использоваться только для крупнообломочных грунтов и песков средней и крупной фракции.
Методы битумизации, силикатизации, смолизации осуществляется по такому же принципу инъецирования в массив грунта жидкой субстанции расплавленного битума или битумной эмульсии в холодном виде, жидкого стекла, синтетической смолы, которые также проникают в поры грунта, повышая после отвердевания его прочностные свойства.
Метод термохимического закрепления состоит в том, что в массив грунта в определенном порядке погружают полые электроды – аноды и катоды, и пропускают по ним постоянный электрический ток. При этом вода, находящаяся в порах грунта, начинает двигаться к катодам и откачивается через них. А через аноды в грунт закачиваются специальные солевые растворы или жидкое стекло, насыщающие грунт и способствующие образованию более плотных и прочных структур. Применяется для укрепления песчаных, илистых и глинистых грунтов.
Термический метод заключается в обжиге грунтов под воздействием высокой температуры.
Обжиг производится с помощью нагнетания в пробуренные скважины горячего воздуха или сжиганием в них нефтепродуктов. В результате происходят структурные изменения связей между частицами грунта, повышающие его прочность и устойчивость. Используется для укрепления глинистых, лессовых грунтов с высокой пористостью и просадочностью.
Устройство удерживающих сооружений
Для предотвращения оползневых явлений используются следующие удерживающие сооружения и материалы:
- подпорные стены;
- свайные конструкции;
- геотекстиль, геосетки и георешетки;
- габионы.
Подпорные стены
Подпорные стены используют для удержания слоев грунта определенной толщины с установленными поверхностями скольжения, по которым возможно сползание грунтовых масс. Подпорные стены могут возводиться из различных материалов – камня или кирпича, бутобетона, бетона и железобетона, мелкоразмерных блоков. Конструкция и конфигурация подпорных стен определяются проектом.
При их сооружении важно, чтобы фундамент конструкции был расположен в слое стабильного грунта.
В сложных случаях, когда необходимо устроить защитную преграду на глубину более 4 метров, используют способ «стена в грунте». С помощью землеройной техники осуществляют выборку грунта на большую глубину и заполняют полости монолитным железобетоном, сборными бетонными изделиями или смесью глинистого грунта с цементом. Стену в грунте также можно создать из буронабивных свай.
Свайные конструкции
В случае, когда слой неустойчивого грунта имеет большую толщину, используются удерживающие конструкции из свай. Обычно применяются буронабивные сваи, которыми прорезают массив грунта на нужную глубину. Количество, величину заглубления, расположение свай определяют проектом. В определенных случаях могут использоваться предварительно изготовленные сваи – железобетонные, стальные, деревянные методом забивки, вдавливания, вибропогружения, завинчивания. В каждом случае оценивается опасность динамического воздействия способа погружения на устойчивость массива грунта и на близкорасположенные постройки или инженерные коммуникации.
Сплошное удерживающее сооружение из свай называется шпунтом или шпунтовым рядом. Свайные конструкции могут комбинироваться с подпорными стенками.
Часто для возведения подпорных стенок (особенно при берегоукреплении и укреплении откосов котлованов) применяют Шпунт Ларсена.
Подпорная стена из Шпунта Ларсена.
Геотекстиль, геосетки и георешетки
Один из способов укрепления склонов – армирование с помощью следующих материалов:
- геотекстиль – это нетканый материал, который изготавливается из синтетического волокна иглопробивным методом;
- геосетка изготавливается из полиэфирных волокон, пропитанных битумом, которые сплетают между собой, образуя полотно с прямоугольными ячейками;
- геоматы производятся из полипропиленовых волокон, сплетенных между собой в произвольном порядке, в результате чего материал образует пространственную структуру;
- георешетка имеет более сложную структуру в виде ячеек, сформированных из полос плотного полимерного материала – полиэтилена, полипропилена или полиэфирной ткани.
Ячейки георешетки заполняют грунтом, песком или щебнем.
Все эти материалы обладают высокой прочностью на растяжение, стойкостью к перепадам температуры, воздействию влаги, агрессивных химических веществ, вредных микроорганизмов.
Укрепление склона георешеткой.
Укрепление склонов с помощью геополимерных материалов производится схожим образом. Полотна укладывают на выровненное основание склона, закрепляют между собой и к грунту с помощью металлических анкеров, потом засыпают слоем щебня или гравия, затем слоем плодородного грунта. В завершение накрывают слоем дерна или плитки, предусмотренной проектом благоустройства территории. Армирование геополимерными материалами может применяться для крутых склонов, имеющих уклон до 60—70°, в комплексе с агролесомелиоративными мероприятиями, когда корни высаженных деревьев и кустарников проникают через полотна и дополнительно укрепляют косогоры.
Габионы
Габионные конструкции для укрепления склонов сооружаются с помощью стальной сетки с шестиугольными ячейками из проволоки двойного кручения, придающей особую прочность габионам.
Из проволоки создают объемы прямоугольной формы, которые заполняют мелким и крупным камнем твердых и прочных горных пород. Габионы сооружают в местах, наиболее подверженных опасности схода оползней – на перепадах высот и в нижней части склонов.
Народные методы
Народные методы используются для укрепления склонов на участках застройки частных жилых домов и дач. При этом в большинстве случаев применяются те же промышленные мероприятия, только более упрощенные для того, чтобы их можно осуществить.
Высаживание кустарников и деревьев
При укреплении склонов с помощью высаживания деревьев и кустарников следует иметь ввиду, что на этих участках будет невозможно культивирование огородных культур. Поэтому склоны, на которых предполагается устройство грядок для овощей, лучше всего укреплять террасированием.
Устройство террас
На склоне, предназначенном для выращивания овощей, достаточно нарезать террасы шириной 1,5—2 м, что достаточно для устройства грядок.
При этом, чем круче уклон, тем более узкими придется делать террасы. Оптимальный перепад высот – 500—600 мм, уступы можно укрепить деревянными досками, набитыми на колья, вбитые в землю, или соорудить подпорные стенки из камня, бревна и других подручных материалов.
Подпорные стенки
Подпорные стенки, предназначенные для укрепления террас или сооружаемые в местах больших перепадов на ландшафте участка, лучше всего возвести из природного камня – сланца, известняка, песчаника и т.п. – сухим способом, то есть без использования цементного раствора. В швы между камнями можно высадить семена многолетних растений, которые в дальнейшем придадут особый колорит ландшафту участка.
Геополимерные материалы
Для армирования грунта на склонах дачного участка вполне можно использовать геотекстиль, сетки, маты, георешетки, так как укрепление склонов с помощью геополимерных материалов не представляет затруднений даже для непрофессионалов. Эти мероприятия лучше выполнять в комплексе с другими методами – террасированием, устройством подпорных стенок и высаживанием деревьев и кустарников.
Мероприятия по отводу поверхностных вод
Большое внимание следует уделить отводу поверхностных вод с участка, так как под воздействием воды чаще всего происходит размывание склонов. Для отвода поверхностных вод используют все способы устройства дренажных сооружений – траншеи, трубный дренаж, лотки, с помощью которых отводят дождевые и талые воды за пределы участка.
Армирование крутого склона и стабилизация георешетки
Этот веб-сайт хранит файлы cookie на вашем компьютере. Эти файлы cookie используются для сбора информации о том, как вы взаимодействуете с нашим веб-сайтом, и позволяют нам запомнить вас. Мы используем эту информацию, чтобы улучшить и настроить ваш опыт просмотра, а также для аналитики и показателей о наших посетителях как на этом веб-сайте, так и в других средствах массовой информации. Чтобы узнать больше о файлах cookie, которые мы используем, ознакомьтесь с нашей Политикой конфиденциальности.
Если вы откажетесь, ваша информация не будет отслеживаться при посещении этого веб-сайта.
В вашем браузере будет использоваться один файл cookie, чтобы помнить о том, что вы предпочитаете не отслеживаться.
- Приложения
- Решения
- Ресурсы
- Истории успеха
- Отличие Тенсара
- Поддерживать
- Подразделение CMC
Европа (en-GB)
Европа (en-GB)
- Америка
- Английский (США)
- Испанский
- Европа
- Америка
- Войти Зарегистрироваться
- Поддержка дизайна
- Где купить
- О нас
- Обзор приложений
- Типы приложений
- Истории успеха
- Сопутствующие товары
- Дизайн с тенсаром
- Ресурсы
- Найти дистрибьютора
Крутые армированные грунтовые склоны
Естественный выбор для строительства и стабилизации крутых склонов
Земляные подпорные стены или крутые склоны жизненно важны для склонов, где должна быть сохранена максимальная застраиваемая площадь или где есть резкие перепады уровня.
Если пространство не требует вертикальных стен, крутые армированные земляные склоны и стабилизация склонов с помощью георешетки предлагают привлекательные «зеленые» альтернативы со значительно меньшими затратами.
Тенсар специализируется на системах армированного грунта или механически стабилизированного грунта (MSE). Армированные грунтовые откосы с углом наклона забоя до 70° могут быть стабилизированы путем включения армирующих геосеток Тенсар, уложенных горизонтально от поверхности откоса слоями. Прочность, шаг и длина георешеток будут зависеть от угла наклона, свойств материала наполнителя и любой дополнительной нагрузки. Программное обеспечение Tensar для проектирования TensarSoil позволяет оптимизировать конструкцию укрепления откосов в соответствии с потребностями вашего проекта.
Усиление откосов с углом наклона до 45° Укрепление откосов с углом наклона до 70° Преимущества систем стабилизации откосов TensarTech
Усиление откосов с углом наклона до 45°
Склоны с углом наклона до 45° можно стабилизировать с помощью георешетки Tensar методы стабилизации откосов.
Наши армирующие георешетки будут укладываться горизонтально от поверхности склона слоями. Прочность, шаг и длина георешеток будут зависеть от угла наклона, свойств материала наполнителя и любой дополнительной нагрузки. Обычно не требуется компонентов структурной облицовки, что позволяет обрезать лицевую сторону до окончательного теста. В некоторых случаях перед посевом или посадкой для создания растительности может быть установлен мат для защиты от эрозии.
Система усиления склонов TensarTech Natural Green быстро и просто устанавливается, не требуя специальных навыков. Включив в дизайн зоны верхнего слоя почвы за лицевой структурой, можно создать «зеленую» поверхность с использованием выбранных растений, подходящих для местных условий, для создания полностью покрытой растительностью поверхности.
Усиление откосов с углом наклона поверхности до 70°
Более крутые армированные грунтовые склоны с углом наклона поверхности до 70° требуют опоры на забое, а также внутренней стабилизации.
В системе TensarTechGreenSlope используются георешетки для армирования грунта для стабилизации склона, надежно соединенные со специфическими для системы компонентами облицовки из сварной стальной сетки. Являясь полностью интегрированной системой укрепления откосов, конструкции TensarTech GreenSlope просты в установке, а модульный характер системы обеспечивает быстрое строительство с использованием навыков неспециалиста, в большинстве случаев без использования тяжелого подъемного оборудования или внешних опор.
Широкое основание армированного земляного склона означает, что опорное давление низкое, а фундамент часто не нужен, что значительно снижает затраты на целых 70% по сравнению с бетонными подпорными стенами. Затраты могут быть дополнительно снижены за счет использования местных материалов для обратной засыпки, в том числе переработанных и добытых на месте материалов.
Преимущества систем стабилизации склонов TensarTech
Системы удержания грунта TensarTech обеспечивают долговременную, проверенную проектную устойчивость с расчетным сроком службы до 120 лет.
Их простая конструкция снижает стоимость и время строительства, позволяет использовать добытые на месте материалы для конструкционного заполнения и предлагает меньшие требования к фундаменту, а в некоторых случаях вообще не требует фундамента.
Наши усиленные системы стабилизации откосов также обеспечивают эстетически привлекательные, «зеленые» варианты облицовки, используя выбранные насаждения в соответствии с местными условиями и включая простое создание сложной или изогнутой геометрии. Кроме того, большинству систем не требуются ни подъемные краны, ни временные опоры, и они обладают высокой устойчивостью к динамическим и сейсмическим нагрузкам.
Простые в установке системы армированных земляных откосов TensarTech используют комбинацию георешеток, армирующих грунт, надежно соединенных с облицовочными компонентами. Использование высокопрочной арматуры склонов из георешетки Tensar снижает затраты за счет использования материалов для обратной засыпки, включая связные грунты, переработанные и полученные на месте материалы.
Армированный склон Связанные продукты и системы
Идет загрузка…
Нет результатов, соответствующих вашему поиску. Пожалуйста, попробуйте другой поиск или свяжитесь с нами, если у вас возникнут дополнительные вопросы.
Одноосные (RE) георешетки Tensar®
Изделия для армирования, предназначенные для выдерживания длительных высоких нагрузок в одном направлении. Изготовлен из высокопрочного полиэтилена HDPE.Настенная система TensarTech®TW3
Модульная блочная система подпорных стен из армированного грунтаНастенная система TensarTech® TW1
Модульная блочная система подпорных стен из армированного грунтаСтеновые системы TensarTech®ARES
Сегментная панель, облицованная системой подпорных стен из армированного грунтаСистема TensarTech®TR2
Система подпорных стен из армированного грунта с сетчатым покрытием для временных стен или заглубленных конструкций для сброса напораСистема подпорной стены TensarTech® RockWall™ Rock Cage
Система подпорных стен из армированного грунта с габионной насыпьюСтеновая система TensarTech® Mesa®
Модульная блочная система подпорных стенСистема наклона TensarTech® NaturalGreen™
Система армированного грунта для устойчивых откосов до 45° с отделкой из естественной растительностиСистема TensarTech® GreenSlope
Система удержания земли на крутом склоне с естественной растительностьюИстории успеха в области укрепления склонов
Кендал, Великобритания
Ash Tree Park House Building
Рынок: Жилье и жилые дома
Применение: Укрепленные откосы
Преимущество: Экономия затрат, экономия времени
Нортгемптоншир, Великобритания
Распределительный центр CostCo
Рынок: Коммерческий и промышленный сектор
Применение: Укрепленные склоны
Преимущество: Экономия затрат
Girvan, Шотландия
Curragh Phase Three
Рынок: Коммерческие и промышленные объекты
Применение: Укрепленные склоны
Преимущество: Экономия затрат
Глазго, Великобритания
Медицинский центр Иствуд
Рынок: Коммерческие и промышленные объекты
Применение: Укрепленные склоны
Преимущество: Экономия затрат, экономия времени
Newport, Wales
Green Lane Rail
Рынок: Rail
Применение: Укрепленные склоны, насыпи
Преимущество: Экономия времени
Эдинбург, Великобритания
Трамвайная остановка Murrayfield Stadium
Рынок: Железная дорога
Применение: Укрепленные склоны, земляные подпорные стены
Преимущество: Экономия затрат, экономия времени
Ульстад, Норвегия
Насыпь для защиты от камнепадов
Рынок: Жилье и жилые дома
Применение: Укрепленные склоны
Преимущество : Экономия времени
Уверенный дизайн из любого места.

Программа проектирования TensarSoil позволяет инженерам-проектировщикам разрабатывать конструкции подпорных стен, откосов и опор мостов из армированного грунта.
Запрос TensarSoil
Ресурсы для укрепления склонов
Посмотреть все
Где купить
Найти продукцию Tensar
Получите контактную информацию местного инженера или дистрибьютора, чтобы мы помогли вам найти правильное решение для вашего проекта уже сегодня.
Город, штат или почтовый индексПодключиться
Нужна поддержка?
Мы здесь, чтобы помочь.
Звонок по электронной почте
Армированные грунтовые склоны, Крутые склоны Геоткань
Мы используем файлы cookie, чтобы сделать веб-сайт Тенсара лучше. Файлы cookie помогают предоставить вам более персонализированный опыт и соответствующий контент, а нам — веб-аналитику. Чтобы узнать больше о том, как мы используем файлы cookie, ознакомьтесь с нашей Политикой конфиденциальности.
Продолжая использовать этот веб-сайт, вы принимаете использование этих файлов cookie.
- Приложения
- Решения
- Истории успеха
- Ресурсы
- Отличие Тенсара
- Поддерживать
- Подразделение CMC
Америка (en-US)
Америка (en-US)
- Америка
- Европа
- Английский (Великобритания)
- английский (другой)
- Голландский
- немецкий
- Норвежский
- польский
- Шведский
- Поддержка дизайна
- Где купить
- Обзор приложений
- Типы приложений
- Истории успеха
- Сопутствующие товары
- Дизайн с тенсаром
- Ресурсы
- Найти дистрибьютора
Армированные откосы
Сохранение эстетической привлекательности и минимизация воздействия на окружающую среду при максимальном увеличении полезной площади
Укрепленные грунтовые откосы и крутые откосы представляют собой уникальные проблемы устойчивости, но они могут быть лучшей альтернативой другим решениям для разделения уровней, когда необходимо учитывать эстетическую привлекательность и воздействие на окружающую среду.
Укрепленные грунтовые откосы также могут обеспечить эффективное сопротивление дифференциальной осадке и сейсмической активности, а также устранить проблемы устойчивости поверхности. А их гибкость делает их применимыми в самых разных типах проектов, от транспортной инфраструктуры до жилых домов на одну и несколько семей.
Решения Tensar для армированных грунтовых откосов (RSS) стабилизированы георешетками, что обеспечивает долговечность и структурную целостность, на которые вы можете положиться. Эти решения часто стоят меньше, чем обычные бетонные стены, благодаря меньшим требованиям к заполнению и разрешенному использованию заполнения на месте. Фактически, наши установки RSS обычно стоят на 30-60% меньше, чем обычные бетонные стены, и используются в коммерческих, жилых, промышленных, транспортных, коммунальных и жилых помещениях по всему миру. Наши решения RSS предлагают широкий выбор вариантов облицовки для удовлетворения эстетических или экологических потребностей.
Крутые склоны более 45° Склоны армированного грунта с растительностью (местная растительность / биоинженерия) Различные варианты облицовки Применение для сброса давления .
Сварная стальная проволока из черной стали используется для разработки системы обертывания забоя, которая остается на месте для облегчения уплотнения и выравнивания забоя при работе с крутыми склонами.
Для уклонов более 70˚ мы предлагаем систему подпорных стен SierraScape®. Эта система корзин из сварной проволоки соединяет георешетку Tensar с корзиной системы с помощью надежного механического соединения, которое снижает вероятность возникновения проблем с устойчивостью поверхности.
Различные варианты облицовки
Решения Tensar RSS совместимы с различными вариантами облицовки. Если ваш проект должен естественным образом сочетаться с окружающей средой, мы предлагаем облицовку с растительностью, которая сохраняет природную красоту. Для проектов, где важна экономия средств и проект не требует немедленной эстетической привлекательности, можно быстро установить гидропосев с семенами цветов или трав. Гидропосев является распространенным выбором облицовки для таких проектов, как эстакады и дороги.
Когда требуется мгновенная визуальная привлекательность, можно использовать дерн и ландшафтную инженерию, чтобы быстро представить законченный вид, который улучшает внешний вид и ценность проекта. Эти варианты наиболее популярны в жилых или коммерческих объектах.
Для других нужд облицовки решения Tensar RSS можно использовать с облицовкой камнем или архитектурным шпоном. Компоненты каменной облицовки быстро и равномерно укладываются, создавая более однородную поверхность стены; их гибкость и возможности подключения помогают противостоять дифференциальной осадке. Проволочная форма заполняется местным или импортным камнем, цвет и размер которого можно указать для желаемого внешнего вида. Архитектурный шпон, обработанный сложенным камнем, или лицевая поверхность, вылепленная из торкрет-бетона, может обеспечить уникальную, но традиционную отделку.
Применения для сброса давления
В дополнение к проектам по разделению грунта система SierraScape может использоваться для сброса давления для поддержки грунтовых и строительных нагрузок ниже уровня земли, обеспечивая более быстрое и доступное решение.
Поскольку система эффективно поддерживает окружающую насыпь, исключаются боковые нагрузки почвы на нижележащие конструкции. Результат: более дешевые фундаментные стены, которые конструктивно эквивалентны обычным установкам, в том числе монолитным. Стены сброса давления SierraScape могут использоваться для строительства фундаментов и существующих мостов, противопаводковых стен и других проектов нового строительства или реконструкции.
Истории успеха
Kansas City, MO
Briarcliff Apartments
Рынок: Жилой
Применение: Подпорная стена
Преимущество: Использование переработанного бетона для обратной засыпки, обеспечивающее общую экономию затрат.
Delaware County, OH
County Road 124 Overpass
Рынок: Дороги общего пользования
Применение: Подпорная стенка
Преимущество: Возможность использовать местный засыпной материал
Charlottesville, VA
John Paul Jones Arena
Рынок: Университет
Область применения: Стена сброса давления
Ванкувер, Британская Колумбия
Порт Манн Бридж
Рынок: Дороги общего пользования
Применение: Укрепленный склон
округ Сан-Диего, Калифорния
Временный мост SR-76
Рынок: Дороги общего пользования
Применение: Временная подпорная стена
Преимущество : Строительство настоящих опор, способных выдерживать большие нагрузки.
Бронкс, Нью-Йорк
Major Deegan Expressway
Использование переработанного бетонного заполнителя в качестве засыпки привело к значительной экономии средств.
Порт-оф-Спейн, Тринидад и Тобаго
Beau Pres Road
Рынок: Дороги общего пользования
Применение: Укрепленный склон
Санта-Крус, Боливия
Viaducto 16+480 Amplición Doble Vía Santa Cruz — Warnes
Рынок: Vías Públicas
Заявление: Muros de Contención
Comayagua, Гондурас
Carretera CA-5
Рынок: Vías Públicas
Приложение: Muros de Contención
Департамент Копан, Гондурас
Muros Lote 3 — Copán Ruinas
Рынок: Trabajos Públicos
Применение: Muros de Contención
Zitacuaro, Michoacán, México
El Águila
Рынок: Vías Públicas
Применение: Muros de Contención
Мулатос, Сонора, Мексика
Мина Мулатос
Market: Minería
Application: Muros de Contención
Jarabacoa, La Vega, República Dominicana
Carretera El Río — Jarabacoa
Рынок: Vías Públicas
Заявление: Muro de Contención
Санто-Доминго-Эсте, Доминиканская Республика
Элевадос Автописта Лас Америкас
Рынок: Vías Públicas
Применение: Muro de Contención
Gurabo, Santiago de los Caballeros, República Dominicana
Cerros de Gurabo
Рынок: Residencial
Заявление: Muro de Contención
Продукция и системы для армированного склона
Загрузка.
..
Нет результатов, соответствующих вашему запросу. Пожалуйста, попробуйте другой поиск или свяжитесь с нами, если у вас возникнут дополнительные вопросы.
Одноосные (UX) георешетки
Устойчивое к деградации решение выдерживает высокие растягивающие нагрузки, приложенные в одном направлении.Система подпорных стен SierraScape®
Единое решение для сварки проволоки с несколькими вариантами облицовкиСистема удержания склона Sierra®
Естественная эстетическая привлекательность в сочетании со значительным снижением затрат на материалы и установкуTensarSoil
Уверенное проектирование из любого места.
Когда на карту поставлена ваша репутация, вам необходимо свести к минимуму риск с помощью предсказуемой и проверенной конструкции. Позвольте нам помочь вам найти правильный дизайн для вашего проекта. TensarSoil — это инструмент, который успешные инженеры используют для сохранения контроля.
Совместимый с несколькими основными методологиями проектирования и полностью интерактивный, TensarSoil делает проектирование сегментных подпорных стен простым, быстрым и экономичным. А TensarSoil теперь можно легко загрузить из Tensar+, нашего отмеченного наградами программного обеспечения для проектирования
Начать проектирование сейчас
Ресурсы
Посмотреть все
Где купить
Найдите продукты Tensar
Получите контактную информацию местного дистрибьютора и получите продукты Tensar на своей строительной площадке уже сегодня.
Город, штат или почтовый индексПодключиться
Нужна поддержка?
Мы здесь, чтобы помочь.
ПозвонитеСвяжитесь с нами
Исследование устойчивости земного склона, армированного георешетками, под действием совокупного воздействия осадков и землетрясений
На этой странице
РезюмеВведениеРезультаты и обсуждениеВыводыДоступность данныхКонфликты интересовБлагодарностиСсылкиАвторское правоСтатьи по теме уклон под действием сопряжения землетрясения и дождя; создана численная расчетная модель армированного земляного откоса, учитывающая совместное воздействие землетрясения и дождя.
Изучены динамическая реакция, поровое давление и распределение растягивающих напряжений арматуры под дождем перед землетрясением, дождем после землетрясения и землетрясением-дождем. Результаты показывают, что эффект связи землетрясения и дождя является влиятельным фактором при динамическом анализе армированных склонов Земли, анализу которого следует уделить внимание и изучить его в будущем. Комбинация георешетки и грунта эффективно улучшает деформацию склона и общую устойчивость, уменьшает вторичное разрушение склона и обеспечивает основу для проектирования сейсмостойких конструкций армированного земляного склона.
1. Введение
Неустойчивость склона является одной из наиболее распространенных геологических катастроф в инженерно-геологических работах. Для повышения его устойчивости было разработано множество методов армирования, включая анкеры [1–3], стены, прибитые к грунту [4–7], и армированные материалы [8–10]. Например, Чжан и др. изучено поведение и механизм разрушения армированных откосов с использованием грунтового гвоздя в различных условиях нагружения.
В этом исследовании была проведена серия испытаний модели центрифуги на склонах, укрепленных стеной из грунтовых гвоздей, при трех типах условий нагрузки. Результаты испытаний показали, что забивание грунта значительно уменьшило деформацию откоса и, соответственно, задержало возникновение локализации деформации [11]. Линг и др. проанализированы как статические, так и динамические характеристики армированной подпорной стены. В испытаниях на центробежном встряхивающем столе реакцию стенок на 20 циклов синусоидальной волны с частотой 2 Гц и амплитудой ускорения 0,2 g сравнивают с результатами анализа. Ускорение засыпки, деформация слоев георешетки и деформация облицовки рассчитываются и сравниваются с результатами испытаний. Сравнение численных и экспериментальных результатов показало, что метод конечных элементов может благоприятно моделировать поведение конструкции, а также динамическое поведение. Результаты анализов подтвердили, что длина и шаг арматуры играют важную роль в минимизации деформаций стен и напряжений в арматуре [9].
]. Георешетка, еще один вид легкого поддерживающего компонента, становится все более и более популярной в армировании откосов из-за ее превосходных характеристик в отношении сейсмостойкости и преимущества экономии земли [12]. Сырье, используемое в настоящее время для изготовления георешеток, включает полиэтилен высокой плотности, полипропилен и стекловолокно [13–15]. Эти материалы легкодоступны, безвредны для окружающей среды и дешевы, что делает георешетки экологичными и экономичными [16]. Наряду с быстрым развитием инфраструктурного строительства, особенно в развивающихся странах, георешетки играют все более важную роль в повышении устойчивости насыпи, несущей способности и долговечности земляного полотна. Например, при расширении дороги Чжэншан (Чжэнчжоу, Китай) в 2005 г. георешетки были изготовлены из полиэтилена высокой плотности, которые использовались для стабилизации подпорной стены и устоя [17]. Другой случай использования поддерживающих георешеток — при армировании обочины грунтовой дороги автомагистрали Чуда № 1 в городе Юньнань, Китай, в 1919 г.
96, где были установлены георешетки из стекловолокна [18]. Кроме того, на итальянской дороге А1 георешетки применялись как для укрепления основания, так и для укрепления откосов [19].
Для более разумного размещения армирования необходимо полностью понимать механическое поведение земляных откосов, армированных геосетками, в различных геологических условиях. Предыдущие исследования указывали, что неустойчивость склонов обычно вызывается слабой прочностью грунта, избыточным весом поверхностных грунтовых масс и суровыми природными условиями землетрясений и осадков [20–25]. Поэтому было проведено множество исследований механического поведения земляного откоса, армированного геосетками, в различных геологических условиях [26]. Например, с помощью теста на встряхивающем столе Ramakrishnan et al. изучали ускорения, смещения обернутого армированного земляного откоса и сегментных подпорных стен, армированных геотекстилем, при сейсмической нагрузке, и результаты показали, что эти стены могут выдерживать значительное ускорение до того, как произойдет боковое движение [27].
Было обнаружено, что сегментарная подпорная стенка выдерживает примерно в два раза большее критическое ускорение, чем стена с оберткой. Стены, армированные геотекстилем, могут адекватно работать при землетрясениях от умеренных до сильных (ускорение <0,5 g). В другом исследовании дополнительно изучалось влияние длины армирования, расстояния между армированием, плотности грунта и жесткости армирования на обернутом армированном грунтовом склоне при сейсмической нагрузке [12]. Из результатов работы [12] можно сделать вывод, что жесткость арматуры является ключевым параметром, определяющим сейсмическую реакцию и режим деформации стены, а не предел прочности арматуры на растяжение. Лата и др. основное внимание уделялось пониманию сейсмической реакции подпорных стен, армированных геосинтетикой, посредством испытаний на вибростенде на моделях модульного блока и подпорных стен с жесткой облицовкой. В результате вертикальные деформации стен с жестким покрытием не зависели от типа армирования. Увеличение количества арматуры привело к уменьшению осадок для всех модельных испытаний.
С включением 3-х слоев георешетки вертикальные деформации были снижены примерно на 60% как в жестких облицованных, так и в модульных блочных стенах [28].
С другой стороны, влияние дождя на механическое поведение армированного земляного склона также было исследовано. Основываясь на теории ненасыщенной фильтрации, в этой работе исследовано влияние инфильтрации дождевых осадков на поровое давление и насыщение расширенной насыпи, влияние армирования георешеткой и коэффициента проницаемости уплотнения на устойчивость насыпи. Результаты показывают, что коэффициент безопасности расширения насыпи явно снижается с учетом влияния осадков [29].]. Армирование георешеткой может эффективно уменьшить влияние инфильтрации осадков на устойчивость расширяющейся насыпи. На основе принципа эффективных напряжений пористых сред построена численная модель гидродинамического взаимодействия ступенчатой армированной грунтовой подпорной стенки в условиях дождя, которая моделирует распределение скоростей в стенке, поровое давление и развитие зоны пластичности.
Результаты показывают, что изменение порового давления в стене приводит к оседанию грунта под действием осадков, а изменение порового давления влияет на эффективное напряжение, которое, в свою очередь, влияет на прочность на сдвиг армированной земляной конструкции [30, 31].
Эти выводы легли в основу плана и конструкции армирования георешетки. Возможно сочетание землетрясения и дождя [32, 33], особенно на юго-западе Китая. Уклон является одной из важных структур в инженерно-геологической инженерии. С увеличением числа строительных проектов в горных районах оползни, вызванные стихийными бедствиями, такими как землетрясения и ливни, привели к огромным экономическим потерям и жертвам при строительстве и эксплуатации объектов водного хозяйства, электроснабжения и транспорта. В этом контексте обернутый армированный земляной откос имеет хорошие перспективы применения на автомобильных дорогах, железных дорогах, в водном хозяйстве и других областях благодаря своей простой конструкции, хорошей сейсмостойкости, хорошей адаптируемости, красивому внешнему виду и защите окружающей среды, а также хорошему экономическому эффекту.
Однако его рабочие характеристики более сложны; в частности, не ясна устойчивость гибких обернутых армированных земляных откосов при совместном воздействии землетрясения и дождя. Поэтому для популяризации этой технологии в технике необходимо изучить связь землетрясения и осадков. В связи с этим, в данной статье предполагается изучить механическое поведение обернутого армированного земляного откоса в условиях сопряженного эффекта землетрясения и дождя и отражает превосходство обернутого армированного земляного откоса. Были проанализированы напряжение, смещения и поровое давление армированного откоса под действием совместного воздействия землетрясений и осадков. Систематические исследования инфильтрации и деформации армированного земляного откоса являются не только необходимым условием устойчивого развития противофильтрационной теории армированного земляного откоса, но и важной основой безопасной эксплуатации армированного земляного откоса.
2. Модели моделирования и процедура моделирования
Когда армированный земляной склон подвергается воздействию землетрясения и дождя, поле напряжения и поле просачивания не являются независимыми.
Существует определенная разница напора в среде поля фильтрации, поровая вода будет естественным образом генерировать просачивающееся движение под давлением, и будет создаваться объемная сила просачивания в качестве внешней нагрузки. Возникновение объемной силы просачивания неизбежно повлияет на баланс напряжений в исходном армированном земляном откосе, и тогда изменится смещение грунтовой среды и движение частиц грунта. Необходимо изменить пористость и пористость почвы. Поскольку коэффициент пустотности и пористость имеют определенную связь с коэффициентом проницаемости, изменение коэффициента пустотности и пористости также повлияет на изменение коэффициента проницаемости, а затем поле просачивания почвенной среды будет изменяться до тех пор, пока не достигнет устойчивого равновесия. государство. Таким образом, поле напряжения и поле фильтрации в армированном земляном откосе работают вместе и влияют друг на друга, образуя целую систему. Это взаимодействие представляет собой связь связи [34].
Совместному анализу поля напряжений и поля фильтрации армированного земляного откоса уделяется все больше внимания в геотехнической инженерии. Под эффектом связи поле деформаций, поле напряжений и давление воды в порах армированного земного склона изменяются более близко к реальным инженерным условиям.
2.1. Влияние поля напряжений на поле просачивания
Как упоминалось выше, объемная сила просачивания повлияет на первоначальный баланс поля напряжений армированного земляного склона и изменит смещение грунтовой среды. Движение частиц грунта неизбежно изменит пористость и пористость, поэтому изменится и коэффициент проницаемости среды. Воздействие поля напряжений на поле просачивания существенно изменяет поры и влияет на проницаемость структуры грунта.
По закону Дарси, где k 0 обозначает проницаемость; обозначает абсолютную вязкость воды; обозначает коэффициент вязкости; обозначает плотность; обозначает гравитацию; обозначает объемный вес воды.
Согласно уравнению (1), есть два основных фактора, влияющих на проницаемость грунта: один – это флюидные свойства грунта, которые представлены , а другой – скелетные свойства грунта, представленные проницаемостью . Факторы, влияющие на индекс производительности скелета почвы, включают удельную площадь поверхности, размер частиц, форму и пористость. Среди этих факторов наибольшее влияние на проницаемость оказывает пористость.
Применение и эксперименты в практической инженерии показывают, что коэффициент проницаемости или проницаемость грунта может быть выражен как функция пористости или коэффициента пустотности.
Уравнение расчета коэффициента проницаемости песчаного грунта выглядит следующим образом:
а уравнение расчета коэффициента проницаемости нормально сцементированного связного грунта имеет следующий вид: где D 10 обозначает 10% эффективного размера частиц; С n – коэффициент однородности; C 2 , C 3 и m являются константами.
При изменении поля перемещений и напряжений склона изменяются коэффициент пустотности и пористость, а также коэффициент проницаемости, поэтому необходимо пересчитать поле фильтрации. Функция напряженного состояния может быть использована для представления коэффициента проницаемости k :
Из вышеприведенного анализа следует, что механизм воздействия поля напряжений на поле просачивания приводит к тому, что изменение объемной деформации грунта влияет на изменение коэффициента проницаемости грунта, тем самым влияя на распределение поля фильтрации.
2.2. Влияние поля фильтрации на поле напряжений
При анализе и расчете армированных земляных откосов фильтрация основана на поверхностной силе фильтрации и объемной силе фильтрации как внешних нагрузках в грунтовой среде, которые изменяют поле напряжений армированного грунта. наклон и дальнейшее изменение поля смещения. Предполагая, что распределение напора однородного армированного земного склона равно , давление просачивающейся воды P равно, где y обозначает объемный вес; z обозначает подъемную головку.
Объемная сила фильтрации f в диапазоне фильтрации выражается уравнением (7): где f x обозначает составляющую объемной силы фильтрации в направлении x ; f y обозначает составляющую объемной силы фильтрации в y -направлении; f z обозначает составляющую объемной силы фильтрации в направлении z .
Из вышеприведенного анализа видно, что объемная сила просачивания в поле просачивания как внешняя нагрузка изменяет распределение поля напряжений армированного земляного склона, что также влияет на распределение поля смещения.
2.3. Совместный анализ поля напряжения и поля фильтрации
Основное дифференциальное уравнение пары поля напряжения и поля фильтрации выглядит следующим образом: где обозначают компоненты эффективного напряжения по оси x , y — ось и z — ось. обозначает поровое давление.
Согласно геометрическому уравнению (9) и физическому уравнению (10), три компонента смещения могут представлять шесть компонентов напряжения: и компоненты напряжения могут быть решены.
2.4. Computing Model
Трехмерная конечно-разностная программа FLAC3D была использована здесь для изучения устойчивости армированного земляного откоса. В данной работе выбрана модель Мора-Кулона. И статические, и динамические расчеты основаны на модели Мора-Кулона. Принцип FLAC3D заключается в решении динамического уравнения. На уровне алгоритма принцип алгоритма заключается в решении уравнения движения. Применение модели Мора-Кулона в механике грунтов может дать более обоснованное решение, а модель бесконечного уклона используется для оценки возникновения оползня из-за заданного количества осадков [35, 36]. Это широко используемый метод для изучения вопросов, связанных с инженерно-геологическими работами. Модель выбрана на основе типичного расширенного участка набережной скоростной автомагистрали Уи в провинции Юньнань. На рис. 1(а) представлена модель, имитирующая склон, усиленный георешеткой. Модель включает три части: склон, основание и свободные границы поля. Моделирование разделено на 700 зон и 1025 узлов сетки.
Как грунт склона, так и грунт основания представляют собой глину, распространенный тип грунта при проектировании склонов на юго-западе Китая [37, 38], а механические свойства представлены в таблице 1. Эти параметры были получены в ходе геотехнических испытаний на месте под температура 17°С и относительная влажность 68%. Испытываемые образцы были подготовлены в соответствии с требованиями спецификации испытаний почвы (SL237-19).99) [39]. Для имитации влияния осадков в данном исследовании поверхность армированного откоса определяется как границы, тогда как дно и периферия модели непроницаемы [40].
Угол уклона составляет 53°, а его высота и ширина составляют 4 м (рис. 1(а) модель, имитирующая склон, усиленный георешетками, и (б) его геометрический размер; схемы (в) встроенных георешеток; и (d) точки измерения, которые контролируют смещение уклона). Размер модели в x — направление 7 м. Для уклона, усиленного георешеткой, схема встроенных георешеток показана на рисунке 1(b), а более подробная информация представлена на рисунке 1(c).
Имеется 13 слоев обернутых георешеток длиной 3 м и армированным шагом 0,3 м. Узел георешетки в модели моделируется структурой георешетки в программе FLAC3D [41, 42]. Физические и механические свойства материала компонента георешетки (таблица 2) были получены по результатам испытаний георешетки на растяжение и испытания на прямой сдвиг армированного грунта и ссылаются на соответствующую литературу и фактическую инженерную ситуацию. Конкретные значения показаны в таблице 2.
Во время моделирования контролировались внутреннее напряжение, смещение и поровое давление в различных областях грунта склона, и точное расположение точек мониторинга смещений показано на рис. 1(d). В реальной инженерии откосы, усиленные георешетками, строятся послойно [43]. Таким образом, 0,5 м отводится под возвратный участок после каждого слоя окантовки. В числовой модели построены два слоя георешетки, и слой георешетки вставлен в вертикальную плоскость между двумя слоями для упрощения моделируемого обернутого армированного земляного склона.
Во время моделирования нагрузка прикладывалась в виде волны, а затем использовалась табличная команда для реализации приложения сейсмической нагрузки, соответственно, которые используются для имитации землетрясения. Задав границы просачивания узлов для имитации дождя, процесс моделирования длится 8 часов.
3. Результаты и обсуждение
В этом исследовании рассматривались три различных режима нагрузки: (i) Ситуация-I: дождь перед землетрясением. (ii) Ситуация-II: дождь после землетрясения. (iii) Ситуация-III: землетрясение и осадки.
3.1. Поле напряжений
На рис. 2 показано изображение поля максимального главного напряжения склона. Видно, что напряжение откоса постепенно увеличивается сверху вниз при трех условиях нагружения. На поверхности и вершине армированного земляного откоса возникает зона растяжения. Поскольку склон имеет тенденцию к снижению под действием землетрясения и дождя, независимо от количества осадков перед землетрясением или одновременности землетрясения и дождя, армированный земной склон показывает напряженное состояние при растяжении.
Максимальное сжимающее напряжение составляет 163 кПа и 159кПа, а максимальное растягивающее напряжение составляет 0,20 кПа и 0,44 кПа. Однако в случае дождя после землетрясения зона растягивающих напряжений отсутствует. Армированный земляной склон более неустойчив в случаях осадков перед землетрясением и одновременности землетрясения и дождя, а напряженное состояние постепенно трансформируется из напряжения сжатия в напряжение растяжения. Максимальное сжимающее напряжение находится в нижней части коренной породы при трех условиях нагрузки (рис. 3).
На рис. 4 представлено минимальное главное напряжение армированного земляного откоса при трех условиях нагружения. Из графика видно, что напряжение сжатия постепенно увеличивается сверху вниз. Максимальное сжимающее напряжение приходится на нижнюю часть скальной породы, но области растягивающих напряжений нет.
3.2. Смещение
Из рисунка 5 видно, что максимальное смещение в случае дождя перед землетрясением составляет 2,53 см.
Максимальное смещение в случае дождя после землетрясения составляет 2,45 см, а максимальное смещение в случае одновременности землетрясения и дождя – 4,52 см. Из рисунка 6 также видно, что при одновременном воздействии землетрясения и дождя устойчивость армированного грунтового откоса самая низкая, за ним следует количество осадков перед землетрясением.
На рисунках 7 и 8 представлены контрастные кривые горизонтального смещения и вертикального смещения между армированным земляным откосом и естественным откосом. Максимальное оседание происходит на вершине склона под воздействием совместного действия землетрясения и дождя. Это около 4,12 см. С добавлением георешеток осадка в верхней части склона уменьшилась до 1,48 см, что уменьшилось примерно на 64,1%. Видно, что горизонтальное смещение постепенно увеличивается снизу вверх по высоте склона, но максимальное горизонтальное смещение приходится на высоту 7 м по склону. После укладки георешетки смещение откоса уменьшается почти на 3 см, что указывает на то, что георешетка используется для укрепления откоса в целом.
На рис. 9 показана кривая смещения во времени различных точек мониторинга под действием сопряженного эффекта землетрясения и дождя в наиболее нестабильных условиях. Рисунок 1(d) представляет собой схему точки мониторинга. Из временных кривых горизонтального смещения различных точек мониторинга видно, что закон смещения подобен кривой временной истории нагруженной сейсмической волны, и каждая временная кривая смещения высоты имеет согласованную волновую форму. Момент, когда происходит максимальное смещение точки наблюдения вершины склона, несколько отстает от максимального смещения подошвы склона. Поскольку сейсмическая волна распространяется вверх, верхний ответ задерживается, что согласуется с сейсмической волной, воздействующей на дно. По результатам распределения 1–4 точек по склону видно, что смещение пика в середине склона наибольшее, а с уменьшением высоты склона смещение пика сначала увеличивается, а затем уменьшается. Горизонтальное смещение изменяется в 5–12 точках наблюдения внутри склона, также отражая аналогичные закономерности.
Это можно сделать из рисунка 9.что боковое смещение откоса самое большое, а большая деформация откоса вызывает первую трещину. Серьезная ситуация приводит к вторичной катастрофе оползня.
3.3. Приращение деформации сдвига
На рис. 10 показано распределение приращения деформации при различных условиях нагрузки. Из рисунка 10 видно, что прирост сдвиговой деформации наибольший при одновременном воздействии землетрясения и дождя. Максимальная сдвиговая деформация проявляется в средней и нижней частях армированного земляного откоса. Это самое опасное место для армированного земляного откоса. Склон будет сползать оттуда, а приращение деформации сдвига будет постепенно развиваться вверх и вниз по максимальной площади. Наконец, формируется выпуклая поверхность от пальцев до вершины склона. Эта область наиболее уязвима к разрушению при сдвиге, а также представляет собой наиболее опасную поверхность скольжения армированного земляного откоса.
3.4. Поровое давление
Значение порового давления сначала уменьшается, а затем увеличивается сверху вниз по склону.
Вершина склона в первую очередь контактирует с дождевой водой во время дождя, а верхняя часть дождевой воды непрерывно просачивается в склон. Однако динамическая нагрузка увеличивает поровое давление откоса. Из рисунка 11 видно, что нижняя часть склона постепенно насыщается, а верхняя часть находится в ненасыщенном состоянии. Поровое давление воды в нижних слоях почвы выше, чем в верхних.
3.5. Растягивающее напряжение георешетки
Механизм действия армированных земляных откосов заключается, главным образом, в трении между арматурой и грунтом, ограничении отверстий сетки на почве и сопротивлении ребер сетки. Короче говоря, это взаимодействие между арматурой и грунтом. Все три формы могут сдерживать боковое смещение частиц почвы, тем самым повышая устойчивость почвы. Армирование является важной частью армированного земляного откоса, и его механические характеристики, очевидно, находятся в центре внимания исследований. Как показано на рисунке 12, растягивающее напряжение георешетки сначала увеличивается, а затем уменьшается с увеличением высоты, и в сечении склона формируется эллиптическая зона высокого напряжения.
Пиковое основное напряжение георешетки является наибольшим при совместном воздействии землетрясения и дождя, за которым следует дождь перед землетрясением. На рис. 13 представлена зависимость между осевым растягивающим напряжением георешетки (пик T r ) и высоту склона. По закону изменения кривой осевое напряжение арматуры сначала увеличивается, а затем уменьшается снизу вверх георешетки, а пиковое значение появляется в середине арматуры. Распределение горизонтального осевого растягивающего напряжения георешетки характеризуется «большим в середине и малым на обоих концах».
Посредством численного моделирования распределение поля напряжений, поля перемещений, приращения деформации сдвига, порового давления и растягивающего напряжения армированного земного склона в случаях дождя перед землетрясением, дождя после землетрясения и эффекта связи землетрясение-дождь полученный. Метод снижения прочности используется для определения коэффициента безопасности обернутого армированного земляного откоса (см.
уравнения (11) и (12)). В соответствии с расчетом решения FOS в программном обеспечении получены коэффициенты безопасности для трех условий нагружения, как показано в таблице 3, где обозначает сцепление после уменьшения, обозначает сцепление, обозначает угол внутреннего трения, обозначает угол внутреннего трения после уменьшения и обозначает понижающий коэффициент.
Из таблицы 3 видно, что коэффициент запаса прочности укутанного армированного земляного откоса при осадках после землетрясения составляет 1,32. Коэффициент запаса прочности обернутого армированного земляного откоса при осадках перед землетрясением составляет 1,20, что является относительно низким показателем. Коэффициент безопасности 1,08 при одновременности землетрясения и дождя. Указано, что обернутый армированный грунтовый склон стабилен при трех условиях, но эффект сопряжения землетрясения и дождя является наихудшим. Он находится в критическом состоянии.
В случае эффекта связи дождя перед землетрясением из результатов предыдущего численного моделирования можно узнать, что эта связь оказывает большое влияние на устойчивость армированного земляного откоса, главным образом потому, что дождь увеличивает объемный вес армированного земляного откоса, и касательное напряжение откоса увеличится.
Применение сейсмических нагрузок на этой основе еще больше увеличит напряжение сдвига и снизит устойчивость армированного земляного откоса. Водность инфильтрации дождевых осадков увеличивается на склоне. Мгновенное поровое давление, создаваемое сейсмической силой, и поровое давление, создаваемое просачивающимся потоком, накладываются друг на друга, и маточное всасывание уменьшается. Прочность и устойчивость армированного земляного откоса будут снижаться с уменьшением всасывания матрицы.
Под воздействием дождя после землетрясения проницаемость армированного земляного откоса увеличивается после землетрясения, а землетрясение также вызывает пластическую деформацию армированного земляного откоса и снижает его прочность. После дождя структура почвы становится более рыхлой, а отрицательное поровое давление на поверхности склона больше. Это ускорит проникновение осадков в откос, что приведет к очевидному эффекту увеличения нагрузки, что снизит устойчивость армированного земляного откоса.
Под воздействием комбинированного землетрясения и дождя сейсмическое воздействие увеличивает трещину в армированном земляном откосе. Эффект дождя увеличивает объемный вес армированного земляного откоса. Оба они ускорили разрушение армированного земляного откоса. Согласно предыдущему численному анализу, влияние дождя перед землетрясением больше, чем влияние дождя после землетрясения, но и то, и другое меньше, чем одновременность землетрясения и дождя.
4. Выводы
Посредством численного анализа получены динамическая характеристика и изменение поля фильтрации армированного земляного откоса для случаев дождя перед землетрясением, дождя после землетрясения, дождя и землетрясения. Выводы можно резюмировать следующим образом: (1) Армированный земляной откос неустойчив в случаях выпадения осадков перед землетрясением и одновременности землетрясения и дождя. Напряженное состояние постепенно трансформируется из сжимающего напряжения в растягивающее, а растягивающее напряжение увеличивается под действием сопряжения землетрясения и дождя.
(2) Пиковое растягивающее напряжение стального стержня является наименьшим в условиях землетрясения перед дождем. С увеличением высоты склона растягивающее напряжение георешетки сначала увеличивается, а затем уменьшается, и в сечении склона формируется эллиптическая зона высокого напряжения. Инфильтрация осадков увеличивается на склоне. Мгновенное поровое давление, создаваемое сейсмической силой, и поровое давление, создаваемое просачивающимся потоком, накладываются друг на друга, и прочность уменьшается. (4) В случае дождя после землетрясения дождь легче проникает в склон. Поровое давление уменьшается с увеличением поверхностной влажности почвы(5).Хотя в данной работе активно исследовались и изучались армированные грунтовые откосы и получены некоторые ценные результаты для инженерной практики, из-за сложности факторов, влияющих на механические свойства армированных земляных откосов, использование грунта обратной засыпки еще не учитывало наслоение анизотропных слоев грунта почвенных материалов, и в реальных проектах будут разные грунтовые материалы.
Доступность данных
Данные (рисунки и таблицы), использованные для поддержки результатов этого исследования, включены в статью. Кроме того, конечно-элементные модели можно получить у соответствующего автора по запросу.
Конфликты интересов
Авторы заявляют, что описываемая работа ранее не публиковалась, что она не рассматривается для публикации где-либо еще, что ее публикация одобрена всеми соавторами и что нет конфликта интересов в отношении публикации этой статьи.
Благодарности
Исследование было поддержано Национальной ключевой программой исследований и разработок Китая (2017YFC0405002) и Национальным фондом естественных наук Китая (грант № 51
5).
Ссылки
М. Ян, Ю. Ся, Т. Лю и В. М. Бова, «Расчет предельных значений в сейсмических условиях склона, армированного предварительно напряженными анкерными тросами», Компьютеры и геотехника , том. 2019. Т. 108. С. 226–233.
Посмотреть по адресу:
Сайт издателя | Google Scholar
Д.
-П. Дэн, Л. Ли и Л.-Х. Чжао, «Анализ устойчивости откосов, армированных анкерными тросами, и оптимальный расчет параметров анкерных тросов», European Journal of Environmental and Civil Engineering , стр. 1–16, 2019.Посмотреть по адресу:
Сайт издателя | Google Scholar
E. Conte, A. Troncone, and M. Vena, «Метод расчета встроенных консольных подпорных стен при статической и сейсмической нагрузке», Геотехника , том. 67, стр. 1–9, 2017.
Посмотреть по адресу:
Сайт издателя | Google Scholar
Дж. Х. Донг и Ю. П. Чжу, «Анализ устойчивости склона, поддерживаемого грунтовой подпорной стенкой, при землетрясении», China Journal of Highway & Transport , vol. 21, pp. 20–25, 2008.
Посмотреть по адресу:
Google Scholar
Ю.
П. Чжу и Т. З. Ма, «Модель устойчивости склона, поддерживаемого стеной из композитного грунта, и ее применение при землетрясении», Журнал Ланьчжоуского технологического университета , том. 35, 2009.Просмотр по адресу:
Google Scholar
P. Rawat and K. Chatterjee, «Анализ сейсмической устойчивости склонов грунта с использованием грунтовых гвоздей», Geotechnical Earthquake Engineering and Soil Dynamics , стр. 79– 87, 2018.
Посмотреть по адресу:
Сайт издателя | Google Scholar
Л. Ван, Г. Чжан и Дж.-М. Чжан, «Механизм укрепления гвоздями откосов связного грунта в условиях землетрясения», Грунты и основания , том. 50, нет. 4, стр. 459–469, 2010.
Посмотреть по адресу:
Сайт издателя | Google Scholar
К.
З.З. Ли, Н.Ю. Чанг и Х.Ю. Ко, «Численное моделирование геосинтетически армированных грунтовых стен при сейсмических колебаниях», Geotextiles and Geomembranes , vol. 28, нет. 4, стр. 317–334, 2010.Посмотреть по адресу:
Сайт издателя | Google Scholar
Х. И. Линг, С. Ян, Д. Лещинский, Х. Лю и К. Берк, «Конечно-элементное моделирование полномасштабных модульно-блочных армированных грунтовых подпорных стен при землетрясении», Журнал инженерной механики , вып. 136, нет. 5, стр. 653–661, 2010.
Посмотреть по адресу:
Сайт издателя | Google Scholar
Линг Х.И., Лю Х., Калякин В.Н., Лещинский Д. Анализ динамического поведения подпорных стен, армированных геосинтетическим грунтом, Journal of Engineering Mechanics , vol. 130, нет. 8, стр. 911–920, 2004.
Посмотреть по адресу:
Сайт издателя | Google Scholar
Чжан Г.
, Цао Дж., Ван Л., «Поведение при разрушении и механизм откосов, армированных стеной из грунтовых гвоздей, при различных условиях нагрузки», Грунты и основания , том. 54, нет. 6, стр. 1175–1187, 2014.Посмотреть по адресу:
Сайт издателя | Google Scholar
М. Сабермахани, А. Галандарзаде и А. Фахер, «Экспериментальное исследование режимов сейсмической деформации стен из армированного грунта», Geotextiles and Geomembranes , vol. 27, нет. 2, стр. 121–136, 2009 г.
Посмотреть по адресу:
Сайт издателя | Google Scholar
Ю. Гонг, Ю. Хе, К. Хан, Ю. Шен и Г. Тан, «Анализ устойчивости грунтового откоса насыпи, армированного полипропиленовым волокном, при циклах замораживания-оттаивания», Достижения в области материаловедения и инженерии , vol. 2019 г., идентификатор статьи 5725708, стр.
1–10, 2019 г.Посмотреть по адресу:
Сайт издателя | Google Scholar
Y. Xu, Y. Bai, P. Fang, S. Yuan, and C. Liu, «Структурный анализ гибкой трубы, армированной стекловолокном, подвергаемой растяжению», Ships and Offshore Structures , vol. 14, нет. 7, стр. 777–787, 2019.
Посмотреть по адресу:
Сайт издателя | Академия Google
И. М. Арсени, К. Шазаллон, Дж. Дюше и С. Мухуби, «Моделирование усталостного повреждения асфальтобетона, армированного георешеткой», Дорожные материалы и проектирование дорожного покрытия , том. 18, нет. 1, стр. 1–13, 2016 г.
Посмотреть по адресу:
Сайт издателя | Google Scholar
H. Hargitai, I. Rácz и RD Anandjiwala, «Разработка полипропиленовых композитов, армированных волокнами HEMP», Journal of Thermoplastic Composite Materials , vol.
21, нет. 2, стр. 165–174, 2008.Посмотреть по адресу:
Сайт издателя | Google Scholar
Ю. Т. Ян, «Говоря о применении грунта, армированного георешеткой, при проектировании откосов насыпи дороги Чжэншан в городе Чжэнчжоу», Henan Building Materials , no. 3, стр. 5–7, 2014 г.
Просмотр по адресу:
Google Scholar
Т. К. Линг, «Исследование методов проектирования высокоармированных грунтовых подпорных стен в дорожном строительстве», China Journal of Highway & Transport , том. 13, pp. 13–15, 2000.
Просмотр по адресу:
Google Scholar
П. Римольди и Ф. Талоне, «Усиление основания и откосов очень высоких армированных насыпей для шоссе A1 в Италии», в Proceedings of the 9th International Conference on Geosynthetics: Advanced Solutions for a Challenged World, ICG , pp.
1623–1628, Guarujá, Brazil, 2010. Сюй, З. ДеГао и К. Сяньцзин, «Оценка сейсмических характеристик высоких CFRD на основе анализа хрупкости», Science China (Технологические науки) , vol. 62, нет. 4, стр. 635–648, 2019.Посмотреть по адресу:
Сайт издателя | Google Scholar
Ю. Ван, Ю. Гао, Б. Ли, Л. Го, Ю. Цай и А. Х. Махфуз, «Влияние начального состояния и промежуточного главного напряжения на поведение мягкой глины в недренированном состоянии во время чистого вращения главного напряжения. », Acta Geotechnica , vol. 14, нет. 5, стр. 1379–1401, 2019.
Посмотреть по адресу:
Сайт издателя | Академия Google
Дж. Лян, С. Хе, Н. Ли, В. Ван и К. Яо, «Устойчивость армированной подпорной стены при сейсмических нагрузках», Applied Sciences , vol. 9, нет. 11, с. 2175, 2019.
Посмотреть по адресу:
Сайт издателя | Google Scholar
Б.
Сюй, Ю. Чжоу и Р. Панг, «Оценка надежности сейсмостойкости береговой облицовки атомной электростанции с учетом неармированных и усиленных ситуаций», Annals of Nuclear Energy , vol. 136, Статья ID 107025, 2020.Посмотреть по адресу:
Сайт издателя | Google Scholar
Y. Wang, Y. Wan, M. Liu, C. Guo, C. Zeng и D. Wu, «Недренированные многомерные деформации и деградация природной мягкой морской глины по результатам экспериментов HCA». Грунты и основания , vol. 60, нет. 1, стр. 103–114, 2020.
Посмотреть по адресу:
Сайт издателя | Google Scholar
П. Ни, Г. Мэй и Ю. Чжао, «Влияние повышенного уровня грунтовых вод на устойчивость ненасыщенных почвенных склонов», Международный журнал геомеханики , том. 18, стр. 4018161–4018168, 2018.
Посмотреть по адресу:
Сайт издателя | Google Scholar
L.
Tang, S. Cong, X. Ling и N. Ju, «Граничные условия для моделирования эксперимента с вибростендом по сейсмической реакции трехмерного склона», Earthquake Engineering & Engineering Vibration , том. 16, нет. 1, стр. 23–32, 2017 г.Посмотреть по адресу:
Сайт издателя | Академия Google
С. Рамакришнан, М. Будху и А. Бритто, «Лабораторные сейсмические испытания сегментных подпорных стен, облицованных геотекстилем и армированных геотекстилем», Geosynthetics International , vol. 5, нет. 1–2, стр. 55–71, 1998.
Посмотреть по адресу:
Сайт издателя | Google Scholar
Г. М. Лата и П. Сантанакумар, «Сейсмическая реакция мелкомасштабных модульных блоков и армированных стен с жестким покрытием при испытаниях на вибростенде», Geotextiles and Geomembranes , том. 43, нет. 4, стр. 307–316, 2015.

Посмотреть по адресу:
Сайт издателя | Google Scholar
Дж. Дж. Чжэн, Х. Ю, З. С. Го и В. З. Цао, «Численный анализ устойчивости расширенной насыпи в условиях дождя», Журнал Хунаньского университета (естественные науки) , том. 2017. Т. 44. С. 150–155. Шоссе , ул. 2, стр. 28–32, 2011.
Просмотр по адресу:
Google Scholar
Пей Пей, Ю. Чжао, П. Ни и Г. Мэй, «Защитная мера для обширных почвенных склонов на основе контроль влажности», Инженерная геология , вып. 269, ID статьи 105527, 2020.
Посмотреть по адресу:
Сайт издателя | Google Scholar
Б. Тивари, Б. Аджмера и Д. Тран, «Влияние осадков после землетрясения на устойчивость глиняных откосов — IPL-192», in World Landslide Forum 4 , Springer, Berlin, Germany, 2017.

Посмотреть по адресу:
Google Scholar
М. А. Био, «Механика деформации и распространение звука в пористой среде», Журнал Прикладная физика , вып. 33, нет. 4, стр. 1482–1498, 1962.
Посмотреть по адресу:
Сайт издателя | Google Scholar
Х.-з. Qiu, J.-m Kong, R.-c Wang, Y. Cui, and S.-w Huang, «Механизм реакции склонов после землетрясения на проливные дожди», Журнал сейсмологии , том. 21, нет. 4, стр. 869–884, 2017.
Посмотреть по адресу:
Сайт издателя | Google Scholar
E. Conte и A. Troncone, «Аналитический метод прогнозирования подвижности медленно движущихся оползней из-за колебаний грунтовых вод», Journal of Geotechnical and Geoenvironmental Engineering , vol. 137, нет. 8, стр.
777–784, 2011.Посмотреть по адресу:
Сайт издателя | Google Scholar
А. Тронконе и Э. Конте, «Метод анализа оползней почвы, вызванных дождями», Геотехника , том. 62, стр. 187–192, 2012.
Посмотреть по адресу:
Сайт издателя | Google Scholar
Ван Дж. С., Ли Ю. М., Ван Г. X. и Чжао X. П., «Экспериментальное исследование инженерных свойств красной глины в юго-западной горной местности», Subgrade Engineering , vol. 6, pp. 97–101, 2013.
Просмотр по адресу:
Google Scholar
YH Qin, X. Xin, YR Li, and Y. Deng, «Расчет и анализ деформационного напряжения осадки подземного фундамента гидроэлектростанция Ханцзянъянь в провинции Юньнань», Водные ресурсы провинции Хэйлунцзян , том. 2, стр.
5–10, 2016 г.Посмотреть по адресу:
Google Scholar
Отраслевой стандарт Китайской Народной Республики. SL237-1999, Спецификация испытаний почвы , China Water&Power Press, Пекин, Китай, 1999.
K.-H. Ян, Дж. Н. Туо, Дж.-В. Чен и К.-Н. Лю, «Неудачное исследование склона геосинтетического армированного грунта, подверженного воздействию осадков», Geosynthetics International , vol. 26, нет. 2018. Т. 1. С. 42–65.
Посмотреть по адресу:
Сайт издателя | Google Scholar
Y.M. Chen and D.P. Xu, FLAC\FLAC3D Foundation and Engineering Examples , China Water&Power Press, Пекин, Китай, 2013.
Z. Zhan and S. Qi, «Численное исследование динамического отклика горизонтального слоистого склона горных пород под действием перпендикулярно падающей волны sv // Прикладные науки , т.

