горячего и холодного копчения своими руками размеры и чертежи
Копченые продукты, особенно домашнего приготовления, очень вкусные и ароматные. В них нет никаких вредных добавок. Для того, чтобы можно было частенько порадовать свою семью вкусными и натуральными продуктами, можно сделать коптильную камеру своими руками.
Камера холодного копчения из дерева
Простой вариант самодельной коптильни считается из дерева.Достаточно простой вариант самодельной коптильни считается из деревянных досок. Конструкция напоминает обычный деревянный ящик, в котором есть дверца. Изготовить такую коптильню очень просто.
Чертежи, схемы и размеры
Для того, чтобы использовать деревянную коптильню в домашних условиях, вполне достаточно будет изготовить конструкцию с размерами 1х1х1м.
В интернете можно найти подробные схемы и чертежи, по которым легко можно сделать устройство своими руками.
Процесс изготовления
Для того, чтобы сделать коптильный аппарат из дерева, нужно следовать следующей инструкции.
- Из деревянных реек сначала собирается каркас устройства.
- Крыша и дно, а также три стороны конструкции необходимо обшить досками.
- В верхней части аппарата устанавливать труба, на которую с помощью крюков будут подвешиваться продукты.
- На стенках нужно закрепить рейки для решеток. Они должны находиться на одинаковой высоте.
- Дверь можно сделать из брусков и старой вагонки.
- К готовой дверной конструкции стоит прикрепить ручку, петли и шпингалет, затем установить на коптильню.
- В сделанное в аппарате отверстие необходимо установить термометр.
В том случае, если дымоход прокладывается в земле, то отверстие для него нужно вырезать в дне конструкции.
В случае применения дымогенератора, коптильня предварительно устанавливается на подставку, а отверстие вырезается примерно на высоте 5-10 см выше дна устройства.
Камера горячего копчения из бочки
Элементарную коптильню своими руками можно изготовить из металлической бочки. Лучше всего подобрать бочку с крышкой. В противном случае ее придется дополнительно вырезать.
Элементарную камеру горячего копчения своими руками можно сделать из металлической бочки.Схемы, чертежи и размеры
Лучше всего подготовить бочку, объем которой будет составлять 200 литров. В сети можно выбрать наиболее подходящий вариант схемы или чертеж, который подойдет в вашем индивидуальном случае.
Сбор конструкции
Сделать коптильню из бочки очень просто.- Крышка снимается или вырезается. Бочку нужно очистить от загрязнений.
- Чуть выше дна делается отверстие для подключения дымохода.
- В стенках необходимо сделать четыре отверстия на одном уровне на высоте примерно 20 см от дна для поддона. На этой высоте будут устанавливаться решетки или подвешиваться крюки с будущими копченостями.
- Затем вырезается определенное количество прутьев из стали или кусков арматуры, диаметр которой не менее 10 мм.
- На нижний ряд прутьев необходимо установить поддон. Диаметр емкости для жира должен быть чуть меньше, чем внутренний диаметр используемой бочки. Для того, чтобы его было удобнее доставать, поддон оснащается крючками или петлями. С их помощью емкость крепится к верху бочки.
- Решетки можно изготовить из стальных прутьев, палок. Для холодного способа копчения подойдут старые решетки из холодильника.
- Готовая коптильня накрывается крышкой.
Если крышки нет, то можно воспользоваться листом металла или деревянным щитом.
Универсальная камера из холодильника
Простой коптильней можно назвать конструкцию из холодильника, которая изначально имеет все основные элементы камеры.
Используется устройство как для холодного метода копчения, так и для горячего.
Чертежи, размеры и схемы
Схема коптильной камеры из холодильника.
Для изготовления такой коптильни можно воспользоваться разными вариантами схем и чертежей, представленных в интернете. Размеры коптильной камеры будут зависеть от того, какой есть в распоряжении старый холодильник.
Изготовление камеры
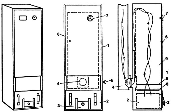
Из холодильника можно сделать коптильню, следуя следующим указаниям.- Морозилка демонтируется, вынимается терморегулятор и плата. Отверстия, которые остались, нужно заделать.
- Удаляются детали из пластика, уплотнительная резинка, теплоизолятор, которые во время нагревания могут отрицательно сказываться на вкусе и качестве копченостей.
- На место уплотнительной резины ставятся деревянные планки, имеющие такую же толщину, как и резинка. При необходимости, можно переделать крепление дверцы.
- К стенкам холодильника прикручиваются болтами уголки, на которых будут находиться решетки с продуктами.
- На дно конструкции ставится электрическая плитка, а на нее чугунная сковорода со щепой.
- Чуть выше сковородки нужно установить поддон, в который будет стекать жир.

Сделать коптильню своими руками не составит труда. Достаточно подготовить все необходимые материалы и инструменты, а также следовать пошаговой инструкции.
Страница не найдена — 1pokopcheniyu.ru
Содержание1 Выбор, подготовка и разделка тушки2 Лучшие рецепты маринования2.1 Сухой посол2.2 Мокрый посол2.3 Комбинированный
Содержание1 Выбор сала2 Рецепты засолки полуфабрикатов2.1 Экспресс засолка2.2 Сухая классическая2.3 Маринование с помощью тузлука2.4
Содержание1 Технология холодного копчения1.1 Способы холодного копчения2 Выбор и подготовка мяса2.1 Посол и маринование3
Дымогенератор
Содержание1 Устройство аппарата с нижним расположением эжектора1.
1 Принцип работы дымогенератора1.2 Схема и чертежи генератора
Содержание1 Все, что нужно знать о гриль коптильнях1.1 Как устроена гриль коптильня1.2 Принцип работы1.3
Дымогенератор
Содержание1 Принцип работы дымогенератора с компрессором2 Основные требования к компрессору3 Из чего можно и
Содержание1 Рецепты маринадов для сала1.1 С пряностями1.2 С молотым тмином1.3 Для копчения сала1.4 Маринад
Содержание1 Классический суп с копченой куриной грудкой2 Виды супов с копченой грудкой2.1 С вермишелью2.2
Содержание1 Что такое копчение?2 Как устроена и работает коптильня горячего копчения2. 1 Процесс приготовления продуктов2.2
Содержание1 Ингредиенты2 Гороховый суп с копченой грудкой3 Гороховый суп с копченой грудкой и колбасой4
Страница не найдена — 1pokopcheniyu.ru
Содержание1 Лучшие рецепты супов с копченостями1.1 Гороховый суп1.2 Суп с копчеными охотничьими колбасками1.3 Сырный
Копчение рыбы
Содержание1 Выбираем селедку для копчения1.1 Как правильно подготовить рыбу1.2 Посол и маринование2 Рецепт копчения
Копчение рыбы
Содержание1 Подготовка к копчению2 Способы копчения2.
1 Горячее копчение2.2 Холодное копчение3 Копчение с жидким дымом
Содержание1 Как приготовить балык из осетра в домашних условиях1.1 Как правильно выбрать рыбу1.2 Как
Содержание1 Как приготовить шашлык в духовке с жидким дымом1.1 Выбираем мясо1.2 Ингредиенты1.3 Подготавливаем и
Содержание1 Вкуснейший рассольник с колбасой и солеными огурцами1.1 Ингредиенты1.2 Пошаговое описание2 Схожий рецепт рассольника
Содержание1 Приготовление классического горохового супа в мультиварке2 Лучшие рецепты гороховых супов с копченостями для
Копчение рыбы
Содержание1 Окунь – как рыба для копчения2 Выбираем рыбу2.
Копчение рыбы
Содержание1 Как выбрать рыбу2 Подготовка рыбы2.1 Разделка тушки2.2 Посол или маринад3 Горячее копчение4 Холодное
Дымогенератор
Содержание1 В чем отличие холодного и горячего копчения2 Устройство коптильни для горячего копчения2.
1 Принцип
Страница не найдена — 1pokopcheniyu.ru
Копчение рыбы
Содержание1 Как правильно выбрать время для копчения2 Зависимость между сырьем и временем копчения3 Сколько
Копчение рыбы
Содержание1 Выбор рыбы2 Подготовка тушки к копчению2.
1 Маринование3 Способы копчения лосося3.1 Горячим копчением3.2 Копчение
Копчение рыбы
Содержание1 Как выбирать рыбу для копчения2 Разделка тушки3 Посол3.1 Мокрый посол3.2 Сухой посол3.3 Комбинированный
Содержание1 Подборка лучших рецептов салатов1.1 Курица с сыром1.2 С копченой курицей и корейской морковью1.3
Копчение рыбы
Содержание1 Как выбрать хорошего палтуса2 Подготовка к копчению3 Рецепты3.
1 С сахаром, лимонным соком и
Содержание1 Как приготовить балык говяжий2 Балык из говядины: свойства3 Выбираем мясо для балыка4 Ингредиенты5
Дымогенератор
Содержание1 Дымогенератор холодного копчения Merkel Optima1.1 Почему стоит выбрать дымогенератор Merkel1.2 Технические характеристики Merkel
Копчение рыбы
Содержание1 Как выбрать рыбу2 Подготовка рыбы2.
1 Разделка тушки2.2 Посол или маринад3 Горячее копчение4 Холодное
Содержание1 Выбираем тушку кролика1.1 Подготовка и разделка тушки2 Рецепты маринадов2.1 Быстрый универсальный маринад2.2 Маринад
Содержание1 Как приготовить гороховый суп с салом1.1 Ингредиенты1.2 Пошаговое описание2 Похожие рецепты2.1 С курицей2.2
камера для дачи, конструкция для копчения колбасы, сала, размеры печи, как выбрать круглое устройство и смокер, стационарная коптильня
Среди нас очень много любителей копченой продукции. Для того чтобы не тратить больших денег на ее покупку в магазинах, многие уже используют домашнее копчение. Можно остановить свой выбор на заводской модели или смастерить самому подобную конструкцию.
О видах копчения, разновидностях коптилен и способах их изготовления своими руками мы расскажем в этой статье.
Что это такое?
Практически любая коптильня представляет собой короб (чаще металлический), в котором размещена металлическая решетка или крюки для продуктов. Копчение происходит путем их окуривания холодным или горячим дымом, что и придает им особенный вкус и аромат.
птильни отличаются друг от друга принципом работы и размещени Заводские коптильни зачастую стоят недешево, но все равно спрос на них не падает многие годы. Также с помощью копчения можно продлить срок годности продуктов в несколько раз.
Магазины представляют огромный выбор копченой продукции, но она явно не может сравниться с домашним копчением. Дело в том, что делая продукцию для массовой продажи, производитель не уделяет должного внимания правилам безопасного копчения и зачастую использует «жидкий дым» и прочие сомнительные добавки.
А настоящие ценители знают, что вкусовые качества и цвет продукта зависят от способа маринования или засолки перед копчением, породы древесных опилок и других важных факторов, которые в массовом производстве просто не учитываются.
Коптить можно очень разные продукты: мясо, рыбу, птицу, сало, сыр, овощи, фрукты, ягоды и даже орехи. Можно без конца импровизировать и открыть для себя какой-нибудь особенный рецепт.
Особенности
Различают коптильни холодного и горячего копчения. Копчености, полученные первым способом, получаются более сухими и плотными по структуре. При горячем копчении еда сохраняет свою жирность. Когда только пришла мысль об изготовлении или приобретении домашней коптильни, стоит сразу определить, какие продукты любят больше всего в семье.
Основываясь на этом, уже можно выбирать конструкцию прибора.
Коптильни отличаются друг от друга принципом работы и размещением топки. Так, в коптильне горячего копчения камера с продуктами нагревается с помощью открытого огня или электроприбора, размещенного под устройством. Таким способом образуется горячий дым, который обволакивает продукты и доводит их до готовности.
На рисунке показаны схемы простейших коптилен с вариантами размещения некоторых деталей и продуктов:
Холодное копчение происходит очень похожим способом. Главное различие в том, что дым успевает остынуть прежде, чем дойдет до продукта. Температура в таких коптильнях составляет 35-40 градусов, а сам процесс холодного копчения может занять несколько дней. Ее самостоятельное оборудование тоже будет посложнее, если сравнивать с горячей коптильней.
Но это не останавливает любителей домашних копченостей без каких-либо примесей и добавок.
Простая схема на рисунке показывает принцип работы такой коптильни:
Необходимые инструменты и аксессуары
Горячее копчение осуществляется при температуре дыма от 60 до 120 градусов, поэтому занимает гораздо меньше времени, чем холодное. Тут обратно пропорциональная связь: при уменьшении жара увеличивается время готовки. Все коптильни горячего копчения имеют типичную конструкцию: емкость, внутри которой решетка (крюки) для продуктов, металлический поддон и древесные опилки на дне. Этот резервуар помещается на открытый огонь или разогретую печь так, чтобы опилки начали тлеть, образуя нужный для копчения горячий дым.
Поддон под продуктами нужен для того, чтобы в него стекали излишки жира, это очень упрощает чистку коптильни после использования.
Еще один важный момент: такая коптильня должна герметично закрываться крышкой, чтобы можно было контролировать температурный режим на протяжении всего процесса и выводить из камеры лишний дым. Покупные модели коптилен могут иметь в комплектации компрессор для дымогенератора, вентиляторы, контроллер температуры, блок управления и специальные термометры. Но домашнее копчение вполне можно производить без этих дополнительных деталей.
Основное отличие конструкции для холодного копчения – это продолговатый дымоход, по которому дым идет от тлеющих опилок до продукта.
Рыба и мясо, приготовленные таким способом, могут храниться до 60 дней. Конструкция состоит из трех основных элементов: коптильная камера, топка и дымоходная труба, которая их соединяет. Циркуляцию дыма можно регулировать с помощью специальной заслонки. Зачастую ее роль выполняет крышка или дверца в камере для розжига.
Дымогенератор
Это устройство, которое позволяет дыму непрерывно поступать в камеру копчения. Используется как при холодном копчении, так и при горячем.
Преимущества:
- постоянное поступление дыма внутрь во время всего процесса;
- используется меньше топлива для получения нужного количества дыма;
- дым имеет постоянную температуру;
- процесс не требует постоянного контроля.
Устроен дымогенератор довольно просто.
Он выглядит как труба со шлангами, которые соединяют две камеры: с продуктами и с тлеющими опилками. Дым нагнетается внутрь бытовым компрессором. Все что нужно для работы дымогенератора – электричество и тление топлива.
Это устройство довольно легко сделать своими руками с целью экономии средств.
Виды
С видами коптилен по способу копчения мы разобрались. Теперь стоит рассмотреть различные конструкции. Для горячего копчения существует 4 основных разновидности. Рассмотрим подробнее каждую из них.
Мини-коптильня
Мини-коптильни завоевали большую популярность благодаря своей компактности, небольшому весу и простоте в использовании.
Их еще называют переносными или уличными. Зачастую их используют охотники, рыбаки и туристы, потому что для них очень важна мобильность конструкции. Такие конструкции выполняются из нержавеющей стали толщиной в 2-3 см, потому что коптильня будет часто нагреваться. Этот материал устойчив к коррозии и к воздействию высоких температур. Для сравнения – коптильня из обычного металла прослужит 1-2 года, а из нержавейки – все 10 лет.
Такую конструкцию легко изготовить в домашних условиях.
Для этого можно использовать кастрюлю, жаровню или металлическое ведро. Жар в камеру поступает от открытого огня или электроплитки, температура при копчении – от 90 градусов. Благодаря этому еда готовится очень быстро: от 30 до 60 минут. Мини-коптильню можно сравнить с духовым шкафом или смокером, в котором продукт насыщается горячим дымом.
Используя этот прибор в полевых условиях, нужно сразу употреблять приготовленную пищу, чтобы не допустить ее порчи. Внешне такие коптильни очень похожи на микроволновую печь. Единственный недостаток – малоемкая камера, которая не вместит много продуктов за раз.
Для квартиры
Для того, у кого нет дачи или возможности выезда за город, создали коптильни для готовки в пределах квартиры. Принцип работы у такой конструкции будет аналогичным другим видам, только источником нагрева будет служить электроплита или газ.
В комплектации домашних коптилен есть детали, которые избавляют от неудобств во время готовки.
- Дымоотвод. При копчении дома очень важно выводить дым на улицу. С этой целью в крышке сделано отверстие со шлангом, который протягивается в окно. Обязателен именно этот метод избавления от дыма, ведь обычная вытяжка может справиться с этой задачей, но далее по вентиляции дым пойдет в квартиры соседей.
- Гидрозатвор. Он необходим, чтобы не допустить проникновение дыма и гари наружу. Это своеобразный желоб с водой, который находится между стенкой коптильной камеры и краями крышки. Вода, в свою очередь, не позволяет дыму просачиваться.
- Крышка. Для квартирных коптилен нужна только герметичная крышка. Можно использовать и гидрозатвор – это взаимозаменяемые детали, но будет лучше, если присутствуют они обе.
Фабричные аппараты для использования в квартире делают и нержавеющей стали толщиной 2-3 мм, они могут прослужить до 12 лет.
Что-то подобное можно сделать и самому из старой кастрюли, например. Изготовить гидрозатвор будет не совсем просто, поэтому герметичность крышки лучше обеспечить с помощью резиновых прокладок.
Электрокоптильня
Такое устройство тоже хорошо подходит для копчения дома – нужно лишь наложить внутрь опилок, закрыть крышку и подключить его к сети.
Можно выделить несколько его основных преимуществ.
- Компактность. Габариты домашней электрокоптильни позволяют хранить ее в обычном кухонном шкафу.
- Не требует специальных навыков. Достаточно собрать прибор, прочитать инструкцию по эксплуатации и установить нужный температурный режим. Механизм сделает все сам.
- Быстрая готовка. Благодаря полной герметичности конструкция сохраняет жар на протяжении всего копчения и можно получить готовые продукты уже через 30-60 минут.

- Полная комплектация. Наличие всех необходимых деталей позволяет не заботиться самому о дымоотведении или регулировке температуры.
- Гарантия. При покупке некачественной коптильни можно будет ее обменять или вернуть деньги. Зачастую брак становится очевиден уже во время первой готовки.
- Доступная цена. Сейчас рынок предоставляет достаточно большой выбор таких конструкций по приемлемой цене.
Автоматическая
Такая коптильня работает от электричества и используется для копчения колбасы, сала, рыбы, сыра, мяса, овощей и многих других продуктов. В ресторанах зачастую используются именно такие конструкции. Все дело в большом объеме коптильной камеры: одна загрузка может вместить до 200 кг продуктов. Это очень удобно при большой загруженности заведения.
Помимо профессиональных автоматических коптилен, существует и несколько бытовых моделей:
- для холодного копчения;
- универсальные модели;
- угольные коптильни;
- с открытым трубчатым электронагревателем – для растопки такой модели подойдет исключительно щепа или опилки.

Автоматические коптильни для бытового использования удобны тем, что не требуют особых навыков и постоянного контроля процесса, как, например, при копчении на дровах. Среди промышленных коптилен можно выделить многофункциональные (могут использоваться как жарочный шкаф и осуществляют горячее и холодное копчение) и стационарные коптильные печи (могут быть двухъярусными, включать варочную панель и выполнять сразу от 1 до 6 процессов).
Конструкции для холодного копчения можно разделить на 3 основных вида – стационарная, мобильная и походная.
Стационарная
Каждая деталь для такой конструкции делается из расчета долгого функционирования и долговечности.
Дымогенератор зачастую выполняется из старых бочек или металлических баллонов. Также его можно выложить из кирпича. Зачастую дымоход помещают ниже уровня обеих камер. Размеры коптильной камеры зависят от количества заготовок, которые планируется изготовить. Оптимальным вариантом будет бак из металла на 20-230 литров.
В качестве коптильной камеры хорошо подойдет корпус от старого холодильника или стиральной машины. Избавившись от лишних элементов, можно получить идеальную стальную емкость. Дымоход должен плотно соединяться с камерами и тоже быть стационарным. Важно предусмотреть, чтобы на его работу не влияли погодные условия. Перед оборудованием дымопровода из старых труб необходимо убедиться в том, что металл при нагревании не нанесет вреда продуктам.
Мобильная
Разборная конструкция с маленьким весом, которую легко перемещать.
Дымогенератор зачастую выполнен из металла и приварен. Изготовление коптильной камеры допускается как из металла, так и из дерева. Дымоход делается из трубы аналогично стационарной модели.
Походная
Холодное копчение в походных условиях значительно упрощается. В качестве дымогенератора выступает обычная яма с опилками и листом из металла. Снизу этот лист нагревается углями или костром. Для оборудования дымохода просто вырывается траншея в земле и накрывается каким-нибудь плотным подручным материалом (доской, например).
Коптильную камеру можно сделать, просто обтянув полиэтиленом вертикальный каркас из деревянных или металлических колышек, чтобы получилось что-то вроде купола. Важно предусмотреть герметичность верхней части конструкции. Для этого сверху полиэтилен можно просто затянуть в пучок и завязать веревкой.
Когда понадобится отверстие для вытяжки, нужно просто расслабить веревку.
Главные задачи, с которыми должна справляться самодельная походная коптильня – это стабильная температура при готовке и герметичность.
Материалы
Материал изготовления коптильни должен выдерживать высокие температуры, не реагировать на влагу и быть легким для очистки. Идеально подходит нержавеющая сталь.
Преимущества материала:
- Не подвержен коррозии. Это особенно важно, если планируется использование коптильни на открытом воздухе. Для сравнения – черные металлы могут разрушиться до дыр в стенках.
- Нержавеющую сталь достаточно легко очистить от гари после готовки.
- Не выделяет вредных для здоровья испарений во время нагревания.

Оптимальная толщина стального листа – 2-3 см. Если он будет тоньше, то деформируется довольно быстро, если толще – это затруднит процесс копчения и увеличит вес конструкции. Нержавейка используется для всех видов заводских коптилен. Но есть и альтернативные варианты материалов, которые можно использовать для самостоятельного изготовления. Рассмотрим некоторые из них.
Из кирпича
Такой вариант хорошо подойдет тем, кто имеет дачный участок и планирует изготавливать деликатесы для продажи. Такая коптильня довольно большая и способна вместить достаточно много продуктов за раз. Ее можно оборудовать в виде пристройки к дому или как отдельный элемент. Определив размер, расположение на участке и подробный проект конструкции, можно переходить к покупке строительных материалов.
Для сооружения понадобятся:
- красный и силикатный кирпич;
- цемент и песок;
- деревянный брус;
- материал для кровли;
- труба диаметром примерно 100 – 150 мм для оборудования дымохода;
- дверца и петли.
Коптильную камеру лучше располагать выше уровня топки, если есть такая возможность.
Из дерева
Дерево – экологически чистый материал, который не выделяет никаких вредных токсинов и не излучает неприятного запаха при нагревании. Для изготовления коптильни хорошо подойдет дуб, ольха, яблоня. Главное требование к древесине – плотная структура и устойчивость к различным погодным условиям.
Материалы, необходимые для изготовления деревянной коптильни.
- деревянный брус, из которого будет возводиться каркас;
- Ообработанные доски толщиной в 0,8 – 1 см – они будут прикрепляться к каркасу в два слоя, чтобы обеспечить герметичность конструкции;
- кровельный материал;
- красный кирпич;
- силикатный кирпич;
- материал для гидроизоляции;
- трубы с диаметрами 10 см и 20-25 см;
- лист из металла.
Форма коптильной камеры определяется тем резервуаром, который был взят за ее основу. Если же оборудование производится самостоятельно от начала до конца, то форму можно выбрать самостоятельно. Оптимальными являются круглые, цилиндрические или прямоугольные камеры. Некоторые умельцы изготавливают кованые формы для оборудования коптильной камеры.
Как выбрать и собрать?
При покупке устройства нужно ориентироваться на свои предпочтения и планы.
В принципе, со сборкой коптильни все обстоит точно таким же образом, только придется учесть больше особенностей. С чем стоит определиться, прежде чем изготавливать коптильню:
- Материал. Очевидно, что это будет металл, но важно определиться, какой именно. Если под коптильную камеру адаптируется ведро, бочка или другие хозяйственные предметы – выбор очевиден. Для основания чаще используется кирпич, однако при отсутствии опыта может получиться негерметичная конструкция.
- Мобильность. Этот вопрос решить легче всего, потому что мало кому требуется сразу два вида коптилен – стационарная и переносная. Гораздо логичнее сделать универсальную коптильню для обоих видов копчения.
- Величина емкости коптильной камеры. Следует определиться с продуктами, которые хотелось бы коптить. Исходя из количества людей в семье или из планов о продаже продукта можно рассчитать габариты.
Приведем поэтапную инструкцию по сборке коптильни холодного копчения из дерева.
- После того, как выбрано подходящее место, необходимо выкопать две ямы на расстоянии примерно 20-25 см друг от друга. Первая должна располагаться на возвышенности, потом она будет оборудована под коптильную камеру. Вторая – для топки, немного ниже. Оптимальная глубина котлована под коптильную камеру – 35-40 см. Такая глубина обеспечит задержку и охлаждение дыма.
- Далее эти ямы соединяются траншеей. В нее позже будет укладываться дымоходная труба. Ширину траншеи делаем соответствующей ширине трубы (с небольшим припуском).
- Нужно хорошенько утрамбовать дно той ямы, которая предназначена под топку, а затем засыпать песком и щебнем (6-7 см).
- Сверху на щебень заливается цементный раствор. Для укрепления стяжки на цемент после полного высыхания нужно уложить армирующую сетку, которая заливается вторым слоем цемента и песка толщиной примерно в 40 мм.
- На дно траншеи помещается труба, которая будет служить дымопроводом.
Она должна быть короче траншеи, чтобы потом можно было присоединить к ней отрезок трубы с большим диаметром. Дымоход, оборудованный таким способом, позволит остывать дыму до оптимальной температуры. Важно учесть, что труба с большим диаметром должна заходить в резервуар коптильной камеры примерно на 15 см. - Когда уложены несколько рядов кирпичей топочной камеры, самое время оборудовать дверцу. Размеры окошка должны быть достаточными для того, чтобы было удобно закладывать топливную смесь.
- Фундамент для коптильной камеры выкладывается из кирпича. Ровность стенок контролируется строительным уровнем.
- Когда кирпичная основа выполнена, можно заливать траншею с трубой бетонным раствором. Особое внимание стоит уделить участку, где две трубы с разными диаметрами стыкуются и участку входа дымохода в топочную камеру. Не нужно заполнять раствором траншею полностью, потому что далее последует слой грунта толщиной в 7-8 см.
Если после высыхания останутся зазоры или трещины, их следует заполнить глиной или утрамбованным грунтом.
- Чтобы проверить, что все идет по плану, можно поджечь в топке опилки или любой другой природный материал. Если все оборудовано правильно – дым будет выходить в цокольное отверстие без препятствий.
- Далее идет изготовление коптильной камеры из дерева. Для начала нужно нарезать все необходимые детали (их количество и размер напрямую зависит от габаритов конструкции). Скреплять элементы можно с помощью саморезов или гвоздей.
- При обшивке каркаса доски нужно сначала уложить вертикально относительно друг друга, а затем горизонтально. Это обеспечит необходимую герметичность. Не стоит использовать для обшивки вагонку, т. к. со временем она может расшириться под воздействием высоких температур, что приведет к деформации стенок. Обшиваются все стенки, кроме боковой, чтобы потом можно было свободно закрепить стержни и крюки, на которые будут подвешиваться продукты.

- Далее устанавливается дверца. Она может быть покупной или самодельной, а стыки можно закрыть уголками из дерева или металла. Некоторые просверливают в дверце специальное отверстие, в которое вставляют термометр. Это позволит производить контроль температуры внутри коптильной камеры, лишний раз не открывая дверцу.
- Дно следует оставить открытым, т. к. это позволит проникать дыму в камеру.
- Чтобы увеличить устойчивость коптильной камеры к воздействию влаги и погодных условий, следует обработать ее водоотталкивающей пропиткой. Ее можно найти на полках магазинов со стройматериалами.
- Последний шаг – установка деревянной камеры на цоколь из кирпича. Скрепление двух элементов можно осуществить с помощью металлических скоб, которые с одной стороны фиксируются на поверхности досок, с другой – на стенках из кирпича.
Крышу покрывать кровельным материалом не обязательно, но лишним это не будет.
Можно выбрать профнастил, металлочерепицу или мягкую кровлю.
Теперь рассмотрим все этапы изготовления коптильни горячего копчения, за основу которой взята обычная бытовая бочка. В такой конструкции нет необходимости располагать на расстоянии коптильную камеру и топку, они могут находиться прямо друг над другом.
Оборудование коптильни из бочки.
- Дно бочки нужно просверлить в нескольких местах. Эти отверстия будут выполнять функцию поддувала для топки и в то же время через них будет высыпаться лишняя зола.
- Вырезается небольшой проем для дальнейшей установки дверцы. Прямоугольника размером 20 на 30 см будет вполне достаточно. К самой дверце приделывается ручка или шнурок, за который ее можно будет открывать, не обжигаясь.
- Если разделить всю бочку на части, то 2 из 3 будет приходиться на коптильную камеру, а 1 часть займет топка.
Эти пространства нужно разделить металлическим листом толщиной примерно в 4 мм, приварив его к стенкам бочки. - Дымовая труба вставляется в отверстие в нижней части камеры и тоже приваривается к стенке бочки.
Дальше все по стандарту: установка поддона для стекания жира, оборудование решеток и крючков для подвешивания продуктов, герметичная крышка. Схематично коптильня горячего копчения из бочки выглядит так: На бочке желательно установить термометр с датчиком. Он поможет избежать многих ошибок при тестировании прибора. Разобравшись с основными принципами работы коптильни и ее устройством, можно импровизировать с материалами и способами изготовления. В любом случае, идеальный продукт с первого раза едва ли удастся получить и потребуется время, чтобы внести необходимые поправки в работу устройства.
Советы и рекомендации
- При постройке коптильни холодного копчения стоит помнить, что чем короче и шире будет траншея, тем быстрее дым поступит в камеру продуктам.
Нужно рассчитать оптимальную длину, чтобы дым успел охладиться, иначе дымопровод просто не будет выполнять свою основную функцию. - Делая трубу длинной, обязательно нужно ее наклонить градусов на 10-15. Это нужно для того, чтобы дым подолгу не застаивался у верхней стенки трубы и не остывал раньше времени.
- Чтобы не возникло проблем, описанных выше, следует сразу определиться с продуктами, которые будут коптиться чаще всего. Копчение белковых продуктов (мяса, рыбы) требует больше времени, чем растительных.
- Важно серьезно отнестись к процессу подготовки продуктов к копчению. Мясо или рыбу необходимо натереть крупной солью и оставить в холодильнике на несколько дней. Соль уничтожает бактерии, забирая влагу из продуктов. Чтобы удалить излишки соли, следует замочить продукт на пару часов в чистой воде. Затем его необходимо просушить в сухом месте, после чего уже можно приступать к копчению.
- Дым способен влиять на вкус продукта не меньше, чем соль или перец.
Для правильного дыма нужны опилки фруктовых деревьев. В принципе, многие древесные опилки сгодятся для копчения, кроме хвойных: от них еда приобретает горьковатый привкус.
- Продукты, приготовленные путем горячего копчения, сохраняются около 10 часов. Если есть необходимость продлить этот срок, можно использовать вакуумную упаковку или заморозку. Но очевидно, что после размораживания вкус продукта будет уже совсем не таким приятным.
- При оборудовании коптильни можно добавить к конструкции дополнительный поддон, на котором можно хранить дрова для растопки. Это особенно актуально для монументальных стационарных построек.
- Размеры мини-коптильни могут быть абсолютно любыми. Главное, что необходимо учесть – зазор в несколько сантиметром от стенок коптильни до продуктов.
- Если во время приготовления на улице повышенная влажность, можно сделать огонь более интенсивным, чтобы приготовление не затянулось на долгие часы.

- Важно не переборщить с толщиной стенок коптильни. Так, например, бочка со стенками более 3 мм не подойдет, потому что в таком случае процесс нагревания будет проходить очень долго и результат может разочаровать.
- Испорченный холодильник подойдет в качестве основы под коптильню даже при наличии трещин. Нужно произвести небольшой ремонт: залатать их железными пластинами.
- В том случае, если дым получается слишком черным, в топливо можно добавить свежей травы.
- Некоторые дачники специально увлажняют топливо, чтобы уменьшить объем сажи на пище. Но профессионалы советуют использовать только хорошо просушенную щепу, а продукты оборачивать марлей и перевязывать перед началом копчения.
- При копчении рыбы нужно соблюдать правило пропорций продукта и используемых опилок. На 3 кг рыбы (или около 40 литров коптильной камеры) потребуется всего одна горсть опилок. Это будет вполне достаточно, потому что дым заполняет камеру не сразу, а в течение 20-25 минут.
За это время рыбка успевает пропитаться неповторимым ароматом, который определяется сортом древесины для опилок.
- Если переборщить с количеством опилок, это может не лучшим образом отразиться на вкусе продуктов и даже навредить человеческому здоровью.
- Самодельные коптильни довольно часто полностью прогорают в днище. Чтобы этого избежать, нужно в самом начале позаботиться о качественном металле для оборудования дна.
- Если на дачном участке недостаточно места для оборудования дымоходной трубы нужной длины, ее можно сделать изогнутой или поместить на трубу охладитель дыма. С этой ролью прекрасно справится латунная трубка, которой нужно обмотать дымоход. Холодная вода в этой трубке охладит дым должным образом.
- Некоторые прибегают к таким хитростям, как мокрая мешковина, натянутая над топочной камерой. Она сможет пропускать дым, одновременно задерживая в себе пепел, гарь и прочие загрязняющие элементы.

- При отсутствии термометра можно проверить температуру копчения с помощью воды, сбрызнув ей крышку коптильни. Если испарение происходит без шипения – температура допустимая. Если вода при попадании на корпус шипит, температуру необходимо уменьшить.
Производители и отзывы
Довольно популярна модель для холодного копчения «Дачник». Прибор можно подключить к вытяжке благодаря наличию гибкого дымохода. Обработка продуктов дымом осуществляется при температуре от 20 до 28 градусов, а сама коптильня работает от электросети. Материал изготовления – нержавеющая сталь.
Элементы в комплекте:
- трубчатый электронагреватель;
- коптильная камера;
- поддон для жира;
- регулятор температуры;
- таймер;
- индикаторы включения и выключения в виде маленьких лампочек;
- решетка для продуктов.

Эта модель имеет доступную цену и, судя по многочисленным отзывам в Сети, это отличное соотношение качества и стоимости. Из заводских моделей для горячего копчения можно выделить коптильню «Сельмаш Сатурн». Объем коптильной камеры позволяет вместить за раз около 5 кг продукта. В комплекте идут металлические штыри, герметичная крышка и противень для стекания жира. Эта коптильня может использоваться и на плите, и на открытом огне. Но отсутствуют такие важные элементы, как термометр и дымоотвод. Тем не менее, эта модель довольно популярна среди любителей практиковать домашнее копчение.
Еще одна простая модель российского производства – Коптильня FireWood. Тут настораживает толщина стали: всего 1,5 мм. Понятно, что на долгий срок службы такой конструкции рассчитывать не приходится, но для первого опыта она как раз подойдет.
Комплектация предусматривает два яруса для продуктов, а также включает биметаллический термометр. Если речь идет о профессиональной кухне и больших объемах копчения, то стоит задуматься о коптильне TTM Big Smak. Она вмещает до 35 кг продукта за раз, имеет механическое управление, 5 решеток в комплекте и отвечает всем требованиям правильного копчения.
Коптильни «Кедр» сразу привлекают своей низкой ценой, но некоторые модели не оснащены даже поддоном для сбора жира. Так что делая выбор в пользу дешевизны, нужно быть готовым самостоятельно доделывать конструкцию и доводить ее до рабочего состояния.
При покупке также можно рассмотреть финские или немецкие модели, но нужно быть готовыми к тому, что цена у них будет не для всех доступная.
Приходя в специализированный магазин, нужно обращать внимание на многие детали при выборе.
- Глубина коптильной камеры. Она должна соответствовать размеру тех продуктов, которые планируется в ней готовить.
- Даже при маленьких габаритах конструкции расстояние между продуктами и источником жара должно быть достаточным. В противном случае копчение не сможет осуществляться в соответствии с нормами и рецептурой.
- Любая конструкция должна предусматривать отверстия для вентиляции. Они должны быть, даже если в комплекте отсутствуют шланги для дымоотведения.
- Крышка коптильни обязательно должна быть герметичной. Без этого нормальный процесс копчения просто невозможен.
- Обязательно наличие поддона для стекания жира. Иначе жир будет капать с продуктов прямо на щепу, та будет загораться и нарушится одно из основных правил копчения – медленное тление щепы.

- Дымоход для коптильни холодного копчения обязательно должен быть из металлической или керамической трубы. Пластик под воздействием высоких температур начинает выделять ядовитые вещества, которые могут попасть на продукты и навредить здоровью. Это правило касается и оборудования всех остальных труб в конструкции.
Удачные примеры и варианты
Можно оборудовать коптильню и дерева, которая будет вмещать специальный навес для размещения и просушивания дров. Конечно, от дождя такой навес не сможет защитить, но поленья можно поместить под навес в солнечную погоду за пару часов до начала готовки. За это время они успеют просушиться.
А вот так выглядит полноценная стационарная коптильня из кирпича. Она включает мощный дымоотвод, шампуры, решетки и зону для мытья посуды. Такая конструкция может выполнять все функции летней кухни.
Очень интересная коптильня для горячего копчения, за основу которой взяты две бочки. Понятно, что сооружение может занять целые недели, но по функциональности такой аппарат будет близок к заводскому, а может даже и лучше. Основная сложность состоит в том, чтобы выбрать бочки с толщиной стенок не более 3 мм, но не менее 2, и максимально качественно их обрезать и сварить. Примерно так должна выглядеть простая коптильная камера, изготовленная из дерева. Наличие множества ярусов позволит делать закладку до 10 килограмм продукта, а качественно оборудованная труба позволит не задерживаться лишнему дыму внутри емкости.
Такая маленькая коптильня имеет несколько названий: ручная или переносная.
Главные ее преимущества – мобильность и маленькие габариты. Такую модель можно брать с собой в походы, на рыбалку или в экспедицию.
А вот так выглядит складная коптильня для холодного копчения. Конечно, в сложенном виде она будет занимать больше места, чем мобильная конструкция для горячего копчения. Но тут уже стоит исходить от желания приготовить что-нибудь особенной вдали от дома и от продолжительности похода/путешествия. Стоит правильно рассчитать резонность транспортировки такого прибора, чтобы потом не оставить его посреди леса.
Еще один пример умелого использования старых газовых баллонов. Такая конструкция может служить и коптильней, и мангалом, и печью. Небольшой деревянный столик сделает максимально удобной нарезку продуктов и их подготовку к помещению в агрегат. Конечно, со сваркой такой коптильни придется повозиться, но делается такой аппарат на века: на него не смогут повлиять погодные условия, ему не страшна коррозия и он не деформируется под воздействием влаги.
Можно один раз приложить максимум усилий, чтобы потом навыками копчения смогли овладеть дети и даже внуки.
Такую коптильню самому не получится изготовить, но именно так выглядят конструкции для использования на больших кухнях в ресторанах и кафе. Стоимость таких агрегатов может достигать невиданных высот, но наличие разнообразных функций не может не радовать. Это стерильность, энергосбережение, экономный расход древесной щепы, встроенный дымогенератор, отвод лишнего дыма и многое другое. На картинке представлена модель отечественного производства «Электра» для холодного копчения.
Пример деревянной коптильни, в конструкции которой соблюдены все основные правила изготовления: коптильная камера обшита деревом в два слоя – вертикально и горизонтально, труба дымохода хорошо приделана к фундаменту, габариты дверки достаточные для удобной работы, размещение коптильной камеры выше по уровню, чем расположение топки.
Очень удачный вариант оборудования коптильни из деревянной бочки. Для того чтобы крышку не пришлось каждый раз снимать, приделана специальная цепочка, которая соединяет верхнюю и нижнюю части конструкции. Расстояние между решеткой для продуктов и источником жара достаточное, чтобы не закоптить еду и не испортить ее. Оборудованы рукоятки по бокам для возможности перемещения коптильни по участку. Эта модель – один из лучших вариантов, который можно изготовить своими руками. Он не настолько сложен, как конструкции из баллонов и железных бочек, но может прослужить тоже достаточно длительное время.
Одна из самых простых конструкций – металлический смокер, помещенный на открытый огонь. При таком способе приготовления важно следить за тем, чтобы щепа внутри коптильни не воспламенилась, иначе продукт испортится за считаные минуты. Естественное, очистить внешний слой короба после готовки будет очень проблематично, но мало кто обращает на это внимание.
Зачастую коптильню чистят только изнутри.
О том, как сделать коптильню из бочки, смотрите в следующем видео.
камера для дачи, конструкция для копчения колбасы, сала, размеры печи, как выбрать круглое устройство и смокер, стационарная коптильня
Среди нас очень много любителей копченой продукции. Для того чтобы не тратить больших денег на ее покупку в магазинах, многие уже используют домашнее копчение. Можно остановить свой выбор на заводской модели или смастерить самому подобную конструкцию.
О видах копчения, разновидностях коптилен и способах их изготовления своими руками мы расскажем в этой статье.
Что это такое?
Практически любая коптильня представляет собой короб (чаще металлический), в котором размещена металлическая решетка или крюки для продуктов. Копчение происходит путем их окуривания холодным или горячим дымом, что и придает им особенный вкус и аромат.
птильни отличаются друг от друга принципом работы и размещени Заводские коптильни зачастую стоят недешево, но все равно спрос на них не падает многие годы. Также с помощью копчения можно продлить срок годности продуктов в несколько раз.
Магазины представляют огромный выбор копченой продукции, но она явно не может сравниться с домашним копчением. Дело в том, что делая продукцию для массовой продажи, производитель не уделяет должного внимания правилам безопасного копчения и зачастую использует «жидкий дым» и прочие сомнительные добавки.
А настоящие ценители знают, что вкусовые качества и цвет продукта зависят от способа маринования или засолки перед копчением, породы древесных опилок и других важных факторов, которые в массовом производстве просто не учитываются.
Коптить можно очень разные продукты: мясо, рыбу, птицу, сало, сыр, овощи, фрукты, ягоды и даже орехи. Можно без конца импровизировать и открыть для себя какой-нибудь особенный рецепт.
Особенности
Различают коптильни холодного и горячего копчения. Копчености, полученные первым способом, получаются более сухими и плотными по структуре. При горячем копчении еда сохраняет свою жирность. Когда только пришла мысль об изготовлении или приобретении домашней коптильни, стоит сразу определить, какие продукты любят больше всего в семье.
Основываясь на этом, уже можно выбирать конструкцию прибора.
Коптильни отличаются друг от друга принципом работы и размещением топки. Так, в коптильне горячего копчения камера с продуктами нагревается с помощью открытого огня или электроприбора, размещенного под устройством. Таким способом образуется горячий дым, который обволакивает продукты и доводит их до готовности.
На рисунке показаны схемы простейших коптилен с вариантами размещения некоторых деталей и продуктов:
Холодное копчение происходит очень похожим способом. Главное различие в том, что дым успевает остынуть прежде, чем дойдет до продукта. Температура в таких коптильнях составляет 35-40 градусов, а сам процесс холодного копчения может занять несколько дней. Ее самостоятельное оборудование тоже будет посложнее, если сравнивать с горячей коптильней.
Но это не останавливает любителей домашних копченостей без каких-либо примесей и добавок.
Простая схема на рисунке показывает принцип работы такой коптильни:
Необходимые инструменты и аксессуары
Горячее копчение осуществляется при температуре дыма от 60 до 120 градусов, поэтому занимает гораздо меньше времени, чем холодное. Тут обратно пропорциональная связь: при уменьшении жара увеличивается время готовки. Все коптильни горячего копчения имеют типичную конструкцию: емкость, внутри которой решетка (крюки) для продуктов, металлический поддон и древесные опилки на дне. Этот резервуар помещается на открытый огонь или разогретую печь так, чтобы опилки начали тлеть, образуя нужный для копчения горячий дым.
Поддон под продуктами нужен для того, чтобы в него стекали излишки жира, это очень упрощает чистку коптильни после использования.
Еще один важный момент: такая коптильня должна герметично закрываться крышкой, чтобы можно было контролировать температурный режим на протяжении всего процесса и выводить из камеры лишний дым. Покупные модели коптилен могут иметь в комплектации компрессор для дымогенератора, вентиляторы, контроллер температуры, блок управления и специальные термометры. Но домашнее копчение вполне можно производить без этих дополнительных деталей.
Основное отличие конструкции для холодного копчения – это продолговатый дымоход, по которому дым идет от тлеющих опилок до продукта.
Рыба и мясо, приготовленные таким способом, могут храниться до 60 дней. Конструкция состоит из трех основных элементов: коптильная камера, топка и дымоходная труба, которая их соединяет. Циркуляцию дыма можно регулировать с помощью специальной заслонки. Зачастую ее роль выполняет крышка или дверца в камере для розжига.
Дымогенератор
Это устройство, которое позволяет дыму непрерывно поступать в камеру копчения. Используется как при холодном копчении, так и при горячем.
Преимущества:
- постоянное поступление дыма внутрь во время всего процесса;
- используется меньше топлива для получения нужного количества дыма;
- дым имеет постоянную температуру;
- процесс не требует постоянного контроля.
Устроен дымогенератор довольно просто.
Он выглядит как труба со шлангами, которые соединяют две камеры: с продуктами и с тлеющими опилками. Дым нагнетается внутрь бытовым компрессором. Все что нужно для работы дымогенератора – электричество и тление топлива.
Это устройство довольно легко сделать своими руками с целью экономии средств.
Виды
С видами коптилен по способу копчения мы разобрались. Теперь стоит рассмотреть различные конструкции. Для горячего копчения существует 4 основных разновидности. Рассмотрим подробнее каждую из них.
Мини-коптильня
Мини-коптильни завоевали большую популярность благодаря своей компактности, небольшому весу и простоте в использовании.
Их еще называют переносными или уличными. Зачастую их используют охотники, рыбаки и туристы, потому что для них очень важна мобильность конструкции. Такие конструкции выполняются из нержавеющей стали толщиной в 2-3 см, потому что коптильня будет часто нагреваться. Этот материал устойчив к коррозии и к воздействию высоких температур. Для сравнения – коптильня из обычного металла прослужит 1-2 года, а из нержавейки – все 10 лет.
Такую конструкцию легко изготовить в домашних условиях.
Для этого можно использовать кастрюлю, жаровню или металлическое ведро. Жар в камеру поступает от открытого огня или электроплитки, температура при копчении – от 90 градусов. Благодаря этому еда готовится очень быстро: от 30 до 60 минут. Мини-коптильню можно сравнить с духовым шкафом или смокером, в котором продукт насыщается горячим дымом.
Используя этот прибор в полевых условиях, нужно сразу употреблять приготовленную пищу, чтобы не допустить ее порчи. Внешне такие коптильни очень похожи на микроволновую печь. Единственный недостаток – малоемкая камера, которая не вместит много продуктов за раз.
Для квартиры
Для того, у кого нет дачи или возможности выезда за город, создали коптильни для готовки в пределах квартиры. Принцип работы у такой конструкции будет аналогичным другим видам, только источником нагрева будет служить электроплита или газ.
В комплектации домашних коптилен есть детали, которые избавляют от неудобств во время готовки.
- Дымоотвод. При копчении дома очень важно выводить дым на улицу. С этой целью в крышке сделано отверстие со шлангом, который протягивается в окно. Обязателен именно этот метод избавления от дыма, ведь обычная вытяжка может справиться с этой задачей, но далее по вентиляции дым пойдет в квартиры соседей.
- Гидрозатвор. Он необходим, чтобы не допустить проникновение дыма и гари наружу. Это своеобразный желоб с водой, который находится между стенкой коптильной камеры и краями крышки. Вода, в свою очередь, не позволяет дыму просачиваться.
- Крышка. Для квартирных коптилен нужна только герметичная крышка. Можно использовать и гидрозатвор – это взаимозаменяемые детали, но будет лучше, если присутствуют они обе.
Фабричные аппараты для использования в квартире делают и нержавеющей стали толщиной 2-3 мм, они могут прослужить до 12 лет.
Что-то подобное можно сделать и самому из старой кастрюли, например. Изготовить гидрозатвор будет не совсем просто, поэтому герметичность крышки лучше обеспечить с помощью резиновых прокладок.
Электрокоптильня
Такое устройство тоже хорошо подходит для копчения дома – нужно лишь наложить внутрь опилок, закрыть крышку и подключить его к сети.
Можно выделить несколько его основных преимуществ.
- Компактность. Габариты домашней электрокоптильни позволяют хранить ее в обычном кухонном шкафу.
- Не требует специальных навыков. Достаточно собрать прибор, прочитать инструкцию по эксплуатации и установить нужный температурный режим. Механизм сделает все сам.
- Быстрая готовка. Благодаря полной герметичности конструкция сохраняет жар на протяжении всего копчения и можно получить готовые продукты уже через 30-60 минут.

- Полная комплектация. Наличие всех необходимых деталей позволяет не заботиться самому о дымоотведении или регулировке температуры.
- Гарантия. При покупке некачественной коптильни можно будет ее обменять или вернуть деньги. Зачастую брак становится очевиден уже во время первой готовки.
- Доступная цена. Сейчас рынок предоставляет достаточно большой выбор таких конструкций по приемлемой цене.
Автоматическая
Такая коптильня работает от электричества и используется для копчения колбасы, сала, рыбы, сыра, мяса, овощей и многих других продуктов. В ресторанах зачастую используются именно такие конструкции. Все дело в большом объеме коптильной камеры: одна загрузка может вместить до 200 кг продуктов. Это очень удобно при большой загруженности заведения.
Помимо профессиональных автоматических коптилен, существует и несколько бытовых моделей:
- для холодного копчения;
- универсальные модели;
- угольные коптильни;
- с открытым трубчатым электронагревателем – для растопки такой модели подойдет исключительно щепа или опилки.

Автоматические коптильни для бытового использования удобны тем, что не требуют особых навыков и постоянного контроля процесса, как, например, при копчении на дровах. Среди промышленных коптилен можно выделить многофункциональные (могут использоваться как жарочный шкаф и осуществляют горячее и холодное копчение) и стационарные коптильные печи (могут быть двухъярусными, включать варочную панель и выполнять сразу от 1 до 6 процессов).
Конструкции для холодного копчения можно разделить на 3 основных вида – стационарная, мобильная и походная.
Стационарная
Каждая деталь для такой конструкции делается из расчета долгого функционирования и долговечности.
Дымогенератор зачастую выполняется из старых бочек или металлических баллонов. Также его можно выложить из кирпича. Зачастую дымоход помещают ниже уровня обеих камер. Размеры коптильной камеры зависят от количества заготовок, которые планируется изготовить. Оптимальным вариантом будет бак из металла на 20-230 литров.
В качестве коптильной камеры хорошо подойдет корпус от старого холодильника или стиральной машины. Избавившись от лишних элементов, можно получить идеальную стальную емкость. Дымоход должен плотно соединяться с камерами и тоже быть стационарным. Важно предусмотреть, чтобы на его работу не влияли погодные условия. Перед оборудованием дымопровода из старых труб необходимо убедиться в том, что металл при нагревании не нанесет вреда продуктам.
Мобильная
Разборная конструкция с маленьким весом, которую легко перемещать.
Дымогенератор зачастую выполнен из металла и приварен. Изготовление коптильной камеры допускается как из металла, так и из дерева. Дымоход делается из трубы аналогично стационарной модели.
Походная
Холодное копчение в походных условиях значительно упрощается. В качестве дымогенератора выступает обычная яма с опилками и листом из металла. Снизу этот лист нагревается углями или костром. Для оборудования дымохода просто вырывается траншея в земле и накрывается каким-нибудь плотным подручным материалом (доской, например).
Коптильную камеру можно сделать, просто обтянув полиэтиленом вертикальный каркас из деревянных или металлических колышек, чтобы получилось что-то вроде купола. Важно предусмотреть герметичность верхней части конструкции. Для этого сверху полиэтилен можно просто затянуть в пучок и завязать веревкой.
Когда понадобится отверстие для вытяжки, нужно просто расслабить веревку.
Главные задачи, с которыми должна справляться самодельная походная коптильня – это стабильная температура при готовке и герметичность.
Материалы
Материал изготовления коптильни должен выдерживать высокие температуры, не реагировать на влагу и быть легким для очистки. Идеально подходит нержавеющая сталь.
Преимущества материала:
- Не подвержен коррозии. Это особенно важно, если планируется использование коптильни на открытом воздухе. Для сравнения – черные металлы могут разрушиться до дыр в стенках.
- Нержавеющую сталь достаточно легко очистить от гари после готовки.
- Не выделяет вредных для здоровья испарений во время нагревания.

Оптимальная толщина стального листа – 2-3 см. Если он будет тоньше, то деформируется довольно быстро, если толще – это затруднит процесс копчения и увеличит вес конструкции. Нержавейка используется для всех видов заводских коптилен. Но есть и альтернативные варианты материалов, которые можно использовать для самостоятельного изготовления. Рассмотрим некоторые из них.
Из кирпича
Такой вариант хорошо подойдет тем, кто имеет дачный участок и планирует изготавливать деликатесы для продажи. Такая коптильня довольно большая и способна вместить достаточно много продуктов за раз. Ее можно оборудовать в виде пристройки к дому или как отдельный элемент. Определив размер, расположение на участке и подробный проект конструкции, можно переходить к покупке строительных материалов.
Для сооружения понадобятся:
- красный и силикатный кирпич;
- цемент и песок;
- деревянный брус;
- материал для кровли;
- труба диаметром примерно 100 – 150 мм для оборудования дымохода;
- дверца и петли.
Коптильную камеру лучше располагать выше уровня топки, если есть такая возможность.
Из дерева
Дерево – экологически чистый материал, который не выделяет никаких вредных токсинов и не излучает неприятного запаха при нагревании. Для изготовления коптильни хорошо подойдет дуб, ольха, яблоня. Главное требование к древесине – плотная структура и устойчивость к различным погодным условиям.
Материалы, необходимые для изготовления деревянной коптильни.
- деревянный брус, из которого будет возводиться каркас;
- Ообработанные доски толщиной в 0,8 – 1 см – они будут прикрепляться к каркасу в два слоя, чтобы обеспечить герметичность конструкции;
- кровельный материал;
- красный кирпич;
- силикатный кирпич;
- материал для гидроизоляции;
- трубы с диаметрами 10 см и 20-25 см;
- лист из металла.
Форма коптильной камеры определяется тем резервуаром, который был взят за ее основу. Если же оборудование производится самостоятельно от начала до конца, то форму можно выбрать самостоятельно. Оптимальными являются круглые, цилиндрические или прямоугольные камеры. Некоторые умельцы изготавливают кованые формы для оборудования коптильной камеры.
Как выбрать и собрать?
При покупке устройства нужно ориентироваться на свои предпочтения и планы.
В принципе, со сборкой коптильни все обстоит точно таким же образом, только придется учесть больше особенностей. С чем стоит определиться, прежде чем изготавливать коптильню:
- Материал. Очевидно, что это будет металл, но важно определиться, какой именно. Если под коптильную камеру адаптируется ведро, бочка или другие хозяйственные предметы – выбор очевиден. Для основания чаще используется кирпич, однако при отсутствии опыта может получиться негерметичная конструкция.
- Мобильность. Этот вопрос решить легче всего, потому что мало кому требуется сразу два вида коптилен – стационарная и переносная. Гораздо логичнее сделать универсальную коптильню для обоих видов копчения.
- Величина емкости коптильной камеры. Следует определиться с продуктами, которые хотелось бы коптить. Исходя из количества людей в семье или из планов о продаже продукта можно рассчитать габариты.
Приведем поэтапную инструкцию по сборке коптильни холодного копчения из дерева.
- После того, как выбрано подходящее место, необходимо выкопать две ямы на расстоянии примерно 20-25 см друг от друга. Первая должна располагаться на возвышенности, потом она будет оборудована под коптильную камеру. Вторая – для топки, немного ниже. Оптимальная глубина котлована под коптильную камеру – 35-40 см. Такая глубина обеспечит задержку и охлаждение дыма.
- Далее эти ямы соединяются траншеей. В нее позже будет укладываться дымоходная труба. Ширину траншеи делаем соответствующей ширине трубы (с небольшим припуском).
- Нужно хорошенько утрамбовать дно той ямы, которая предназначена под топку, а затем засыпать песком и щебнем (6-7 см).
- Сверху на щебень заливается цементный раствор. Для укрепления стяжки на цемент после полного высыхания нужно уложить армирующую сетку, которая заливается вторым слоем цемента и песка толщиной примерно в 40 мм.
- На дно траншеи помещается труба, которая будет служить дымопроводом.
Она должна быть короче траншеи, чтобы потом можно было присоединить к ней отрезок трубы с большим диаметром. Дымоход, оборудованный таким способом, позволит остывать дыму до оптимальной температуры. Важно учесть, что труба с большим диаметром должна заходить в резервуар коптильной камеры примерно на 15 см. - Когда уложены несколько рядов кирпичей топочной камеры, самое время оборудовать дверцу. Размеры окошка должны быть достаточными для того, чтобы было удобно закладывать топливную смесь.
- Фундамент для коптильной камеры выкладывается из кирпича. Ровность стенок контролируется строительным уровнем.
- Когда кирпичная основа выполнена, можно заливать траншею с трубой бетонным раствором. Особое внимание стоит уделить участку, где две трубы с разными диаметрами стыкуются и участку входа дымохода в топочную камеру. Не нужно заполнять раствором траншею полностью, потому что далее последует слой грунта толщиной в 7-8 см.
Если после высыхания останутся зазоры или трещины, их следует заполнить глиной или утрамбованным грунтом.
- Чтобы проверить, что все идет по плану, можно поджечь в топке опилки или любой другой природный материал. Если все оборудовано правильно – дым будет выходить в цокольное отверстие без препятствий.
- Далее идет изготовление коптильной камеры из дерева. Для начала нужно нарезать все необходимые детали (их количество и размер напрямую зависит от габаритов конструкции). Скреплять элементы можно с помощью саморезов или гвоздей.
- При обшивке каркаса доски нужно сначала уложить вертикально относительно друг друга, а затем горизонтально. Это обеспечит необходимую герметичность. Не стоит использовать для обшивки вагонку, т. к. со временем она может расшириться под воздействием высоких температур, что приведет к деформации стенок. Обшиваются все стенки, кроме боковой, чтобы потом можно было свободно закрепить стержни и крюки, на которые будут подвешиваться продукты.

- Далее устанавливается дверца. Она может быть покупной или самодельной, а стыки можно закрыть уголками из дерева или металла. Некоторые просверливают в дверце специальное отверстие, в которое вставляют термометр. Это позволит производить контроль температуры внутри коптильной камеры, лишний раз не открывая дверцу.
- Дно следует оставить открытым, т. к. это позволит проникать дыму в камеру.
- Чтобы увеличить устойчивость коптильной камеры к воздействию влаги и погодных условий, следует обработать ее водоотталкивающей пропиткой. Ее можно найти на полках магазинов со стройматериалами.
- Последний шаг – установка деревянной камеры на цоколь из кирпича. Скрепление двух элементов можно осуществить с помощью металлических скоб, которые с одной стороны фиксируются на поверхности досок, с другой – на стенках из кирпича.
Крышу покрывать кровельным материалом не обязательно, но лишним это не будет.
Можно выбрать профнастил, металлочерепицу или мягкую кровлю.
Теперь рассмотрим все этапы изготовления коптильни горячего копчения, за основу которой взята обычная бытовая бочка. В такой конструкции нет необходимости располагать на расстоянии коптильную камеру и топку, они могут находиться прямо друг над другом.
Оборудование коптильни из бочки.
- Дно бочки нужно просверлить в нескольких местах. Эти отверстия будут выполнять функцию поддувала для топки и в то же время через них будет высыпаться лишняя зола.
- Вырезается небольшой проем для дальнейшей установки дверцы. Прямоугольника размером 20 на 30 см будет вполне достаточно. К самой дверце приделывается ручка или шнурок, за который ее можно будет открывать, не обжигаясь.
- Если разделить всю бочку на части, то 2 из 3 будет приходиться на коптильную камеру, а 1 часть займет топка.
Эти пространства нужно разделить металлическим листом толщиной примерно в 4 мм, приварив его к стенкам бочки. - Дымовая труба вставляется в отверстие в нижней части камеры и тоже приваривается к стенке бочки.
Дальше все по стандарту: установка поддона для стекания жира, оборудование решеток и крючков для подвешивания продуктов, герметичная крышка. Схематично коптильня горячего копчения из бочки выглядит так: На бочке желательно установить термометр с датчиком. Он поможет избежать многих ошибок при тестировании прибора. Разобравшись с основными принципами работы коптильни и ее устройством, можно импровизировать с материалами и способами изготовления. В любом случае, идеальный продукт с первого раза едва ли удастся получить и потребуется время, чтобы внести необходимые поправки в работу устройства.
Советы и рекомендации
- При постройке коптильни холодного копчения стоит помнить, что чем короче и шире будет траншея, тем быстрее дым поступит в камеру продуктам.
Нужно рассчитать оптимальную длину, чтобы дым успел охладиться, иначе дымопровод просто не будет выполнять свою основную функцию. - Делая трубу длинной, обязательно нужно ее наклонить градусов на 10-15. Это нужно для того, чтобы дым подолгу не застаивался у верхней стенки трубы и не остывал раньше времени.
- Чтобы не возникло проблем, описанных выше, следует сразу определиться с продуктами, которые будут коптиться чаще всего. Копчение белковых продуктов (мяса, рыбы) требует больше времени, чем растительных.
- Важно серьезно отнестись к процессу подготовки продуктов к копчению. Мясо или рыбу необходимо натереть крупной солью и оставить в холодильнике на несколько дней. Соль уничтожает бактерии, забирая влагу из продуктов. Чтобы удалить излишки соли, следует замочить продукт на пару часов в чистой воде. Затем его необходимо просушить в сухом месте, после чего уже можно приступать к копчению.
- Дым способен влиять на вкус продукта не меньше, чем соль или перец.
Для правильного дыма нужны опилки фруктовых деревьев. В принципе, многие древесные опилки сгодятся для копчения, кроме хвойных: от них еда приобретает горьковатый привкус.
- Продукты, приготовленные путем горячего копчения, сохраняются около 10 часов. Если есть необходимость продлить этот срок, можно использовать вакуумную упаковку или заморозку. Но очевидно, что после размораживания вкус продукта будет уже совсем не таким приятным.
- При оборудовании коптильни можно добавить к конструкции дополнительный поддон, на котором можно хранить дрова для растопки. Это особенно актуально для монументальных стационарных построек.
- Размеры мини-коптильни могут быть абсолютно любыми. Главное, что необходимо учесть – зазор в несколько сантиметром от стенок коптильни до продуктов.
- Если во время приготовления на улице повышенная влажность, можно сделать огонь более интенсивным, чтобы приготовление не затянулось на долгие часы.

- Важно не переборщить с толщиной стенок коптильни. Так, например, бочка со стенками более 3 мм не подойдет, потому что в таком случае процесс нагревания будет проходить очень долго и результат может разочаровать.
- Испорченный холодильник подойдет в качестве основы под коптильню даже при наличии трещин. Нужно произвести небольшой ремонт: залатать их железными пластинами.
- В том случае, если дым получается слишком черным, в топливо можно добавить свежей травы.
- Некоторые дачники специально увлажняют топливо, чтобы уменьшить объем сажи на пище. Но профессионалы советуют использовать только хорошо просушенную щепу, а продукты оборачивать марлей и перевязывать перед началом копчения.
- При копчении рыбы нужно соблюдать правило пропорций продукта и используемых опилок. На 3 кг рыбы (или около 40 литров коптильной камеры) потребуется всего одна горсть опилок. Это будет вполне достаточно, потому что дым заполняет камеру не сразу, а в течение 20-25 минут.
За это время рыбка успевает пропитаться неповторимым ароматом, который определяется сортом древесины для опилок.
- Если переборщить с количеством опилок, это может не лучшим образом отразиться на вкусе продуктов и даже навредить человеческому здоровью.
- Самодельные коптильни довольно часто полностью прогорают в днище. Чтобы этого избежать, нужно в самом начале позаботиться о качественном металле для оборудования дна.
- Если на дачном участке недостаточно места для оборудования дымоходной трубы нужной длины, ее можно сделать изогнутой или поместить на трубу охладитель дыма. С этой ролью прекрасно справится латунная трубка, которой нужно обмотать дымоход. Холодная вода в этой трубке охладит дым должным образом.
- Некоторые прибегают к таким хитростям, как мокрая мешковина, натянутая над топочной камерой. Она сможет пропускать дым, одновременно задерживая в себе пепел, гарь и прочие загрязняющие элементы.

- При отсутствии термометра можно проверить температуру копчения с помощью воды, сбрызнув ей крышку коптильни. Если испарение происходит без шипения – температура допустимая. Если вода при попадании на корпус шипит, температуру необходимо уменьшить.
Производители и отзывы
Довольно популярна модель для холодного копчения «Дачник». Прибор можно подключить к вытяжке благодаря наличию гибкого дымохода. Обработка продуктов дымом осуществляется при температуре от 20 до 28 градусов, а сама коптильня работает от электросети. Материал изготовления – нержавеющая сталь.
Элементы в комплекте:
- трубчатый электронагреватель;
- коптильная камера;
- поддон для жира;
- регулятор температуры;
- таймер;
- индикаторы включения и выключения в виде маленьких лампочек;
- решетка для продуктов.

Эта модель имеет доступную цену и, судя по многочисленным отзывам в Сети, это отличное соотношение качества и стоимости. Из заводских моделей для горячего копчения можно выделить коптильню «Сельмаш Сатурн». Объем коптильной камеры позволяет вместить за раз около 5 кг продукта. В комплекте идут металлические штыри, герметичная крышка и противень для стекания жира. Эта коптильня может использоваться и на плите, и на открытом огне. Но отсутствуют такие важные элементы, как термометр и дымоотвод. Тем не менее, эта модель довольно популярна среди любителей практиковать домашнее копчение.
Еще одна простая модель российского производства – Коптильня FireWood. Тут настораживает толщина стали: всего 1,5 мм. Понятно, что на долгий срок службы такой конструкции рассчитывать не приходится, но для первого опыта она как раз подойдет.
Комплектация предусматривает два яруса для продуктов, а также включает биметаллический термометр. Если речь идет о профессиональной кухне и больших объемах копчения, то стоит задуматься о коптильне TTM Big Smak. Она вмещает до 35 кг продукта за раз, имеет механическое управление, 5 решеток в комплекте и отвечает всем требованиям правильного копчения.
Коптильни «Кедр» сразу привлекают своей низкой ценой, но некоторые модели не оснащены даже поддоном для сбора жира. Так что делая выбор в пользу дешевизны, нужно быть готовым самостоятельно доделывать конструкцию и доводить ее до рабочего состояния.
При покупке также можно рассмотреть финские или немецкие модели, но нужно быть готовыми к тому, что цена у них будет не для всех доступная.
Приходя в специализированный магазин, нужно обращать внимание на многие детали при выборе.
- Глубина коптильной камеры. Она должна соответствовать размеру тех продуктов, которые планируется в ней готовить.
- Даже при маленьких габаритах конструкции расстояние между продуктами и источником жара должно быть достаточным. В противном случае копчение не сможет осуществляться в соответствии с нормами и рецептурой.
- Любая конструкция должна предусматривать отверстия для вентиляции. Они должны быть, даже если в комплекте отсутствуют шланги для дымоотведения.
- Крышка коптильни обязательно должна быть герметичной. Без этого нормальный процесс копчения просто невозможен.
- Обязательно наличие поддона для стекания жира. Иначе жир будет капать с продуктов прямо на щепу, та будет загораться и нарушится одно из основных правил копчения – медленное тление щепы.

- Дымоход для коптильни холодного копчения обязательно должен быть из металлической или керамической трубы. Пластик под воздействием высоких температур начинает выделять ядовитые вещества, которые могут попасть на продукты и навредить здоровью. Это правило касается и оборудования всех остальных труб в конструкции.
Удачные примеры и варианты
Можно оборудовать коптильню и дерева, которая будет вмещать специальный навес для размещения и просушивания дров. Конечно, от дождя такой навес не сможет защитить, но поленья можно поместить под навес в солнечную погоду за пару часов до начала готовки. За это время они успеют просушиться.
А вот так выглядит полноценная стационарная коптильня из кирпича. Она включает мощный дымоотвод, шампуры, решетки и зону для мытья посуды. Такая конструкция может выполнять все функции летней кухни.
Очень интересная коптильня для горячего копчения, за основу которой взяты две бочки. Понятно, что сооружение может занять целые недели, но по функциональности такой аппарат будет близок к заводскому, а может даже и лучше. Основная сложность состоит в том, чтобы выбрать бочки с толщиной стенок не более 3 мм, но не менее 2, и максимально качественно их обрезать и сварить. Примерно так должна выглядеть простая коптильная камера, изготовленная из дерева. Наличие множества ярусов позволит делать закладку до 10 килограмм продукта, а качественно оборудованная труба позволит не задерживаться лишнему дыму внутри емкости.
Такая маленькая коптильня имеет несколько названий: ручная или переносная.
Главные ее преимущества – мобильность и маленькие габариты. Такую модель можно брать с собой в походы, на рыбалку или в экспедицию.
А вот так выглядит складная коптильня для холодного копчения. Конечно, в сложенном виде она будет занимать больше места, чем мобильная конструкция для горячего копчения. Но тут уже стоит исходить от желания приготовить что-нибудь особенной вдали от дома и от продолжительности похода/путешествия. Стоит правильно рассчитать резонность транспортировки такого прибора, чтобы потом не оставить его посреди леса.
Еще один пример умелого использования старых газовых баллонов. Такая конструкция может служить и коптильней, и мангалом, и печью. Небольшой деревянный столик сделает максимально удобной нарезку продуктов и их подготовку к помещению в агрегат. Конечно, со сваркой такой коптильни придется повозиться, но делается такой аппарат на века: на него не смогут повлиять погодные условия, ему не страшна коррозия и он не деформируется под воздействием влаги.
Можно один раз приложить максимум усилий, чтобы потом навыками копчения смогли овладеть дети и даже внуки.
Такую коптильню самому не получится изготовить, но именно так выглядят конструкции для использования на больших кухнях в ресторанах и кафе. Стоимость таких агрегатов может достигать невиданных высот, но наличие разнообразных функций не может не радовать. Это стерильность, энергосбережение, экономный расход древесной щепы, встроенный дымогенератор, отвод лишнего дыма и многое другое. На картинке представлена модель отечественного производства «Электра» для холодного копчения.
Пример деревянной коптильни, в конструкции которой соблюдены все основные правила изготовления: коптильная камера обшита деревом в два слоя – вертикально и горизонтально, труба дымохода хорошо приделана к фундаменту, габариты дверки достаточные для удобной работы, размещение коптильной камеры выше по уровню, чем расположение топки.
Очень удачный вариант оборудования коптильни из деревянной бочки. Для того чтобы крышку не пришлось каждый раз снимать, приделана специальная цепочка, которая соединяет верхнюю и нижнюю части конструкции. Расстояние между решеткой для продуктов и источником жара достаточное, чтобы не закоптить еду и не испортить ее. Оборудованы рукоятки по бокам для возможности перемещения коптильни по участку. Эта модель – один из лучших вариантов, который можно изготовить своими руками. Он не настолько сложен, как конструкции из баллонов и железных бочек, но может прослужить тоже достаточно длительное время.
Одна из самых простых конструкций – металлический смокер, помещенный на открытый огонь. При таком способе приготовления важно следить за тем, чтобы щепа внутри коптильни не воспламенилась, иначе продукт испортится за считаные минуты. Естественное, очистить внешний слой короба после готовки будет очень проблематично, но мало кто обращает на это внимание.
Зачастую коптильню чистят только изнутри.
О том, как сделать коптильню из бочки, смотрите в следующем видео.
Собираем шкаф для копчения своими руками: чертежи, схемы, размеры
Человек — существо, привыкшее не только к комфорту, но и к вкусной пище. Одними из любимых деликатесов, которые изобрели еще пещерные люди, стали копчености: мясо, рыба, сало и колбасы. Однако натуральные продукты сейчас в магазине найти невозможно. Процесс этот длительный, и для достижения идеального вкуса требует соблюдения технологии и определенного вида древесины. Производителям такие хлопоты не выгодны, поэтому на прилавках можно встретить лишь суррогаты, обработанные «жидким дымом».
Они выглядят и пахнут замечательно, но не принесут ничего кроме вреда. Поэтому многих интересует коптильня холодного копчения своими руками: чертежи и способы добиться желаемого вкуса и аромата.Процесс холодного копчения: особенности
Консервирующие свойства дыма известны давно, но сегодня это не самое главное, что привлекает человека в копченых изделиях. Аппетитный запах и неповторимый вкус — вот, чего добиваются при копчении мясных, рыбных продуктов, сыра и даже фруктов. В процессе холодного копчения полуфабрикат насыщается ароматическими веществами, которые выделяются при горении древесного сырья. Лучшими считаются опилки плодовых деревьев — яблони, груши, сливы, абрикоса. Из дикорастущих отличный запах дает ольха, дуб.
Принцип работы коптильни холодного копчения
Холодное копчение предполагает длительное воздействие дыма с температурой 30-50°С на протяжении нескольких суток. При таком режиме продукты равномерно пропитываются ароматическими веществами и окончательное созревают.
Стационарная коптильня: как сделать, устройство
Если позволяют площадь и рельеф участка, можно построить стационарную коптильню холодного копчения. Конструкция представляет собой коптильную камеру, соединенную с топкой посредством дымохода. Территория должна иметь небольшой склон для обеспечения естественной тяги дыма.
Стационарная коптильня
Камера
Камеру изготавливают из дерева или металла, оборудуют плотно прилегающей дверцей и трубой для отвода дыма. Можно выложить коптильню из глиняного кирпича, установив сооружение на прочный фундамент.
Камера коптильни
Камеру размещают с таким расчетом, чтобы между ней и топкой образовался перепад высот. За счет разницы давления создается естественная тяга, заставляющая дым двигаться вверх.
Топка
Топку устраивают из кладочных жаропрочных материалов или металла. Для периодической очистки ее снабжают зольником с дверцей. Подача дыма регулируется заслонкой. Как правило, при розжиге ее держат закрытой, чтобы не испортить продукцию первыми едкими продуктами горения.
Топка
Конструкция дымохода
Задача этого важного элемента конструкции — осаждение смол и других канцерогенных веществ, содержащихся в дыме, а также снижение температуры копчения. Чем длиннее дымоход, тем эффективнее происходит сжигание дымовых газов и очищение их от продуктов горения.
Конструкция представляет собой трубу длиной 2 и более метров. Ее изготавливают из металла, а чаще просто отрывают в земле туннель. Копоть и конденсат оседают на частицах грунта, а почвенные бактерии отлично справляются с канцерогенными отходами.
Важно. В отличие от металлической поверхности земля не нуждается в очистке. Дым, проходя через канал, сохраняет оптимальную для копчения температуру.
На участке выбирают естественный склон, наверху устанавливают камеру, внизу организуется топка. Для дымохода выкапывают канавку, накрывают листами металла и засыпают землей. Коптильня холодного копчения своими руками готова, можно проводить испытания.
Дымоход в земле
Устройство коптильни
Конструкция коптильни представляет собой комплекс, состоящий из трех основных элементов:
- камера для сжигания топлива или дымогенератор;
- коптильный шкаф;
- дымовой канал, соединяющий эти узлы.
Конструкция коптильного шкафа практически одинакова в любом варианте. Это любая емкость (закрытый ящик или металлическая бочка), в которой развешивают соленые или маринованные продукты. Размеры шкафа подбирают соответственно объемам обрабатываемых продуктов. Обычно стараются сократить количество процедур, чтобы сэкономить время, поэтому коптильные шкафы делаются довольно большими.
Мнение эксперта
Левин Дмитрий Константинович
Есть знатоки, которые утверждают, что материал коптильного шкафа влияет на вкусовые качества и аромат продуктов не меньше, чем качество и состав тлеющей щепы. Они рекомендуют обшивать емкость изнутри тонкими досками лиственных пород дерева.
Максимальный эффект можно достичь, если использовать фруктовые породы.
Дымогенератор.
Для образования дыма используют жаровню, костер или дымогенератор. Последняя конструкция самая сложная, но позволяет организовать равномерную и весьма длительную подачу дыма — щепа в дымогенераторе способна тлеть по 9 часов и более.
Выбор подходящего варианта — прерогатива пользователя. Добиться хороших результатов можно при использовании любого способа, нужен только опыт копчения продуктов.
Дымоход, или дымовой канал — самый простой элемент. Как уже говорилось, это может быть траншея или труба определенной длины, подобранной опытным путем.
При необходимости ее увеличивают, добавляя отрезки трубы или увеличивая протяженность земляного рва. Более компактные коптильни, собранные на базе дымогенераторов, имеют короткую (около 1 м) соединительную трубу.
В продаже есть готовые комплекты, которые собраны из дымогенераторов и систем контроля. Некоторые комплектуются коптильной камерой, но большинство из них представляют собой только сам генератор, без дополнительных элементов.
Предлагаются разные конструкции, но они довольно дорогие. Поэтому, большинство пользователей предпочитает самостоятельную сборку коптилен.
Самодельный дымогенератор для коптильни
Если на участке нет возможности разместить полноценную топку и длинный дымовой канал, для получения дыма пригодится дымогенератор. Это компактное устройство не требует много места, а изготовить конструкцию можно из подручных средств — старого огнетушителя, консервной банки, отрезка трубы большого диаметра. Еще понадобятся более тонкие трубки для дымохода, компрессор (можно аквариумный), штуцер, емкость для сбора конденсата.
Простейший дымогенератор состоит из элементов:
- корпус, где происходит тление щепы без доступа воздуха;
- дымовая труба;
- система охлаждения.
Супер аппарат
В нижней части емкости размещается колосник для щепы, пространство под ним используется для накопления золы. Доступ нужного для горения воздуха осуществляется через нижнее отверстие с заслонкой.
Устройство дымогенератора
Важно. Если сделать решетку колосника съемной и оборудовать дно дымогенератора крышкой, поверхности будет легче очищать от золы и нагара.
Посредством патрубка устройство присоединяется к дымопроводу. Для регулирования подачи дыма предусматривается эжектор в виде подвижной трубки, вставленной в патрубок.
Виды дымогенератора
Опилки укладывают в емкость и разжигают через нижний клапан. Дым, проходя по трубке, частично очищается и подается в коптильную камеру. Движение газов активизируется с помощью компрессора.
Весь процесс
Видео — дымогенератор холодного копчения своими руками
Преимущества копчения
Блюда аппетитно пахнут, и в коптильне горячего копчения изготовленной своими руками, хозяин может приготовить много вкусностей. При этом он потратит намного меньше денег, ведь такие продукты стоят в магазинах достаточно дорого. Готовить самому намного приятней и интересней.
Чтобы не тратиться лишний раз, смастерите практичную конструкцию из недорогих материалов.
Если вы не знаете, как сделать коптилку, то наши советы наверняка пригодятся вам.
У этого способа есть свои преимущества, поэтому его до сих пор применяют:
- дым уничтожает микробов и гельминтов, живущих в мясе;
- в копченостях сохраняются витамины, если их не окуривали при высокой температуре;
- продукты хранятся долго, поскольку дым «консервирует» их.
Агрегаты устанавливают на приусадебных участках или на даче. Есть и другие плюсы домашних установок: блюда готовятся быстро (мелкая рыба окуривается за 30 мин., птица и сало — 40 мин.).
Коптилка горячего копчения не займет много места в вашем дворе. Вы сможете нагревать ее разными способами: на открытом огне или углях. Есть как стационарные, так и переносные виды.
Конструкцию можно переносить, ставить в сарай или другое сухое место для хранения.
Кроме того, установки делают из недорогих материалов, на их изготовление уходит не много времени.
Коптильня из холодильника: пошаговая инструкция
Старый бытовой охладитель, от которого давно хотелось избавиться, может получить «вторую жизнь» и принести владельцу пользу. Это практически готовая коптильная камера, в которой уже есть полочки для продуктов и плотно закрывающаяся дверца.
Коптильня с холодильника
Устроить коптильню холодного копчения из холодильника для домашнего умельца не составит большого труда. Потребуются:
- 2 стальных трубы — одна для дымохода, другая для отвода дыма;
- топка или дымогенератор;
- кирпичи или блоки для фундамента;
- холодильник, лучше советского образца с металлической внутренней обшивкой.
Сам холодильник
Холодильники более нового поколения тоже можно использовать. Рекомендуется убрать пластиковые внутренности, оставив только металл. Для подвешивания или раскладки продуктов понадобятся крючья и решетки.
В советских охладителях пригодятся старые принадлежности.
Рыба готова к копчению
Этапы изготовления коптильни из холодильника:
- Подготовить агрегат — слить фреон, удалить пластиковую обшивку, закрепить приспособления для навешивания крючков, установки решеток.
- Для сбора стекающего жира изготовить металлический поддон на ножках.
- В дне холодильника прорезать отверстие для дымохода. Он должен вставляться максимально плотно.
- В верхней части камеры проделать выходное отверстие для дымовой трубы.
- На ровной площадке выложить фундамент из кирпича или блоков либо закрепить прочную подставку.
- Установить холодильник на постаменте, чтобы создать необходимую разницу высот.
- Подключить коптильню с помощью трубы к топке или дымогенератору.
- Провести пробный запуск.
Готовимся к розжигу
Для регулирования подачи дыма и интенсивности тяги дымоход оборудуют заслонками или клапанами. Аналогичным способом можно устроить коптильню холодного копчения из бочки, стального короба или трубы большого диаметра.
Разновидности шкафов для копчения
Есть несколько разных видов шкафов для копчения, которые могут использоваться для копчения разных видов продуктов.
Каждый из них имеет свои преимущества и недостатки, а также особенности.
Для копчения колбасы
Домашнюю колбасу нужно коптить исключительно в подвешенном состоянии и изготавливается она в форме колец. Кольца надеваются на прочную деревянную палку.
На заметку! Для подвешивания колбас нужно выбирать только те палки, которые изготовлены из лиственных пород дерева. Также они должны быть достаточно хорошо просушены.
Для копчения рыбы
Коптильня, в которой можно коптить рыбу, практически не отличается от других конструкций, но при этом имеет одну важную особенность. Рыба считается нежирным продуктов и во время перегрева может слишком сильно пересыхать. Она теряет много жира, из-за чего становится не копченой, а вареной.
Во время копчения рыбы очень важно контролировать температуру в коптильной камере.
При необходимости, на каждом ярусе решеток желательно делать огонь поменьше во время процесса копчения.
Из холодильника
Домашнюю коптильню очень легко можно сделать со старого холодильника. Конструкция в таком случае будет зависеть от того, для какого именно метода копчения будет использоваться коптильня.
Идеальным вариантом станут старые советские холодильники, в которых решетки изготовлены из прочной проволоки или качественного металла.
С дымогенератором
В устройствах, которые используются для холодного типа копчения, дым будет вырабатываться не в коптильной камере, а в специальном устройстве – дымогенераторе. Его нужно устанавливать немного ниже коптильного шкафа, чтобы во время перехода по дымоходу, дым успевал охладиться до нужной температуры.
На заметку! Чтобы сделать дым более качественным, дополнительно стоит установить сборник для конденсата и фильтр, который очистит его от вредных примесей.
Из дерева для холодного копчения
Небольшой коптильный шкаф легко можно изготовить из дерева.
Лучше всего использовать лиственные породы древесины. В противном случае нужно будет провести несколько копчений без продуктов, чтобы стенки достаточно пропитались с дымом.
Чтобы использовать коптильню в домашних условиях, вполне достаточно будет конструкции с размерами 0,5х0,5х1 метр. Также нужно установить дымогенератор с объемом три литра. Для копчения стоит выделить сутки. Если нет подходящих досок для конструкции, то по такому же принципу можно соорудить кирпичное устройство.
Деревянная коптильня может напомнить обычный ящик с дверкой или же небольшой дачный домик.
Собирать конструкцию нужно из брусков 40х40 миллиметров. Из этих же брусков можно изготовить направляющие для решеток. Каркас коптильни стоит обшить фанерой или обычными досками. Идеальным вариантом станут половые доски или вагонка. Данные материалы имеют специальные пазы, с помощью которых элементы легко соединяются. Полученное соединение будет весьма герметичным и не позволит дыму выходить из конструкции.
Если будут использоваться доски, то дополнительно все щели нужно обработать паклей или любым другим качественным уплотнителем. Неплохого результата удается добиться, если использовать фанеру. В стенах не будут присутствовать щели, но из-за постоянного воздействия влаги, материал может быстро испортится. Поэтому после каждого использования коптильни, устройство должно тщательно просушиваться. Дополнительно его нужно будет покрыть специальной водостойкой краской с наружной стороны.
Сделать деревянный коптильный шкаф можно с бревен. Готовая конструкция напоминает избу. Между бревнами стоит проложить дополнительный слой уплотнителя.
Дверцу можно сделать из нескольких, собранных вместе досок. В случае использования фанеры, достаточно вырезать подходящий кусок. Для крепления двери используются петли. По контуру ее нужно обработать войлочным или резиновым уплотнителем.
Крышу в деревянной коптильне можно сделать односкатную или двухскатную. Первый вариант намного проще.
Для этого достаточно немного скосить верх боковых стенок конструкции, а заднюю стенку при этом сделать немного меньше, чем дверь. В крышу обязательно вставляется труба дымохода.
Генератор дыма устанавливается отдельно от коптильни в небольшом углублении. Для горячего метода копчения топку необходимо расположить под коптильным шкафом.
Из нержавейки для холодного копчения
Самый лучший материал для домашней коптильни – это пищевая листовая нержавейка, толщина которой составляет 1,2-2 миллиметра. Ее очень легко мыть и со временем она не будет подвергаться коррозии.
Готовая конструкция чем-то напоминает устройство из холодильника. Собирать его нужно из прямоугольных кусков металла. На дно и потолок подойдут куски размером 50х50 сантиметров. Для боковых стенок стоит взять два куска размером 1,2х0,5 метра. для задней стенки и двери – 0,5х1,2 метра. Собирать такой коптильный шкаф необходимо используя электросварку. Для того, чтобы дверь лучше прилегала к стенам, а также для установки решеток, к стенкам коптильни стоит приварить специальные нержавеющие уголки.
Коптильня для холодного копчения с дополнительным подогревом
Для холодного копчения продуктов нужна температура 20-50 градусов.
В том случае, если на улице низкая температура, то и дым в коптильне будет более холодным. В таком случае дополнительно нужно обогревать коптильную камеру внутри. На дно конструкции устанавливается обычная электрическая плитка или же несколько небольших ламп накаливания. Для того, чтобы температура была стабильной, лампы стоит включать исключительно через термостат.
Электрический для холодного копчения
В продаже можно найти модели коптилен, в которых топливо будет нагреваться с помощью электрического нагревателя. В них могут присутствовать встроенные вентиляторы, терморегуляторы и прочее. Такие коптильные шкафы не нуждаются в открытом огне для того, чтобы нагреваться. Их достаточно подключить к сети 220 В. Процесс копчения будет отнимать больше времени, чем в устройствах для горячего копчения, а продукты при этом обрабатываются при более низких температурах.
Такой коптильный шкаф можно сделать своими руками, используя металлический ящик. Все регуляторы в электрической коптильне будут устанавливаться в специальный пульт, который необходимо для удобства прикрепить к одной из стенок коптильни.
Универсальный
Есть устройства, которые можно использовать или для холодного копчения, или для горячего. Также в продаже можно найти коптильни «широкого профиля» – универсальные. С их помощью можно обрабатывать подготовленные продукты в самых разных режимах. Конструкции оборудуются внешним дымогенератором со специальным охладителем. На дне устанавливается нагревательный элемент, а в верхней части находится вытяжной регулятор.
В зависимости от выбранного режима копчения, будут использоваться разные элементы коптильного шкафа.
- Для холодного копчения подключается вытяжной вентилятор и дымогенератор с охладителем.
- Для горячего копчения включается нагревательный элемент, на который ставится емкость с топливом.
- Для режима сушки нужно включить вытяжной вентилятор, а для ускоренного процесса еще дополнительно и нагревательный элемент.

Для того, чтобы увеличить эффективность универсального коптильного шкафа, все электрические приборы оснащаются регулятором мощности.
При этом корпус желательно дополнительно утеплить.
Коптильня из газового баллона: пошаговая инструкция
Наверняка у запасливого хозяина найдется в закромах старый газовый баллон из-под кислорода, углекислого газа или пропана. Владея навыками работы с металлом, можно соорудить экономичный вариант коптильни холодного копчения из газового баллона.
Универсальная конструкция из газовых баллонов
Понадобятся 2 газовых баллона — один побольше, другой меньших размеров, стальные трубы диаметром 80-100 мм, ручки для крышек, решетки, можно от барбекю. Для работы нужен инструмент: сварочный аппарат, приспособление для резки металла. Предварительно оборудуют место под коптильню и сваривают несущий каркас.
Кислородные или углекислотные емкости не представляют опасности. Достаточно стравить остатки газа.
Баллон от пропана нужно подготовить: после освобождения от взрывоопасного вещества раскрутить вентиль и заполнить водой. Если металлическая колба старая, вентиль можно аккуратно спилить ножовкой. Чтобы избежать искр, поливают место реза водой.
Порядок проведения работ по изготовлению коптильни:
- Заполнить емкости водой, дать постоять 1-2 дня. Раствор слить
- Вырезать в торцах 2 баллонов отверстия для дымовой трубы.
- В емкости, предназначенной для сжигания опилок, пропилить отверстие под заслонку (произвольной формы). В баллоне для копчения вырезать отверстие под вытяжную трубу.
- Проделать в корпусе несколько распилов под крышку, приварить петли и потом уже отрезать ее до конца. Установить ручки.
- Изготовить таким же способом крышку второго баллона.
- Вварить соединительную и вытяжную трубу. Установить заслонки.
- Внутри коптильной камеры закрепить опоры для решеток.
- Оборудовать коптильню термометром, окрасить конструкцию в любой цвет по желанию.

Изготовление коптильни из газовых баллонов
Такая коптильня универсальна. При некоторых доработках ее можно использовать как барбекю или мангал.
Коптильня из кирпича
Коптильня холодного копчения из кирпича — прочная надежная конструкция, строительство которой требует навыков каменщика. Можно соорудить универсальный вариант для горячего копчения или приготовления продуктов на гриле.
Перед началом строительства выбирают место на участке и подготавливают фундамент. Особенность кирпичной коптильни — внутренний дымоход. Дым от тлеющей щепы поступает в каналы и шахты, охлаждается и заполняет коптильную камеру. Для кладки используют только огнеупорные материалы.
Чертеж коптильни холодного копчения из кирпича дает наглядное представление, как можно использовать огонь сразу для 2 вида обработки продукции — внизу коптильная камера, сверху мангал.
Понадобятся материалы и инструменты:
- огнеупорный кирпич, глина, вода;
- дверцы, заслонки, решетки и крюки для продуктов, колосник, крышка;
- лопата, ведро, шпатель, строительный уровень, шнурка.

Кладка ведется порядово. Швы плотно заполняют раствором и затирают для обеспечения воздухонепроницаемости. Внутри сооружения формируют дымоход с расчетом, чтобы естественная тяга стимулировала движение разогретых газов в определенном направлении.
Кладка коптильни из кирпича
В верхней части топки предусмотрен металлический поддон для разогрева опилок. Скорость прохождения дыма и температура регулируются заслонками, закрепленными в просветах каналов. Вокруг зольника в кладке устраивают зону теплоизоляции, куда засыпают мелкую речную гальку.
Важно. Отделать сооружение можно различными материалами — облицовочной плиткой, кирпичом, штукатуркой. Такая коптильня станет украшением и «изюминкой» участка.
Шедевр
Советы по эксплуатации
Коптильня холодного копчения в домашних условиях удобна и практична. Но при пользовании устройством нужно соблюдать правила безопасности:
- не допускать контакта с легковоспламеняющимися материалами;
- не касаться горячих поверхности незащищенной рукой;
- не устанавливать конструкцию на неустойчивое основание;
- не допускать попадания воды на электропроводку и компрессор дымогенератора;
- не использовать опилки со следами краски, лаков, пропитки;
- не оставлять рядом маленьких детей без присмотра;
- не устанавливать коптильню вблизи жилого дома для предотвращения задымления;
- контролировать температуру, чтобы не допустить перегрев;
- не обрабатывать продукты с истекшим сроком годности.

Коптильня на безопасном расстоянии от дома
Дымоход и камеру нужно периодически очищать от нагара, решетки и крючки промывать моющими средствами. Неработающую коптильню желательно оставлять слегка приоткрытой для проветривания.
Важно. Готовые копчености перед употреблением 1-2 дня выдерживают на сквозняке, чтобы удалить остатки дыма.
Подготовка продуктов
Сало, дичь, рыбу или мясо перед копчением подготавливают определенным образом, поскольку продукты обрабатываются дымом при низкотемпературном режиме. Копчение обладает консервирующими свойствами и продлевает срок хранения, но происходит это не сразу, а постепенно. Чтобы во время длительного процесса деликатес не испортился, обязательна предварительная засолка.
Засолка рыбы перед копчением
Сало нарезать на кусочки 7-15 см, замочить в маринаде из воды, соли и специй. Рассол должен быть концентрированным, чтобы всплывало сырое яйцо. Держать в холодильнике.
Через 3-5 дней сало достать, обсушить и уложить в коптильню для дальнейшей обработки на 1-2 суток при температуре 30°С.
Слюнки текут…
Рыбу сначала необходимо выпотрошить и промыть. Уложить в посуду, обильно пересыпав солью. Через 2-3 дня вынуть, тщательно промыть в проточной воде и вымочить в течение 1-2 суток. Затем рыбе нужно дать хорошо обветриться на сквозняке до полувлажного состояния. Время зависит от размера и структуры мякоти. Коптить 2 дня при температуре 30-40°С.
Пивка не хватает…
Мясо засаливают сухим, мокрым или комбинированным способом. Держат в холодильнике под гнетом от 5-7 дней, до 2-3 недель. Затем полуфабрикат просушивают около 5 дней на сквозняке и отправляют коптить на 2-3 суток.
Холодное и горячее копчение
Процесс копчения может происходить при разных температурах. Температурный режим непосредственно зависит от расстояния, на котором продукты находятся от источника дыма. Различают такие виды копчения:
● холодное — самые вкусные копчености получаются именно при приготовлении таким способом, однако продукт необходимо заранее заготавливать.
Температура при холодном копчении составляет 25—45 градусов, а сам процесс может затянуться на несколько дней. Такие пищевые запасы могут храниться очень долгое время, не теряя своих вкусовых качеств, правда, немного усыхая;
● горячее — быстрый и самый удобный способ для приготовления мяса или рыбы в домашних условиях, ведь готовое блюдо можно сразу подавать к столу. Длительность процесса занимает около 4-х часов при температурном режиме 50—100 градусов. Однако, стоит отметить, что при такой обработке пища быстро портится.
Подготовка дров
От состава щепы во многом зависит вкус и запах конечного продукта. Разнообразное готовое сырье для копчения продается в магазинах, но приготовить дрова можно самостоятельно.
Если в саду проводятся работы по формированию крон и обрезке плодовых деревьев, не нужно спешить выбрасывать ветки и сучья. После хорошей просушки их измельчают и используют по назначению. Особенно аппетитный аромат приобретают копчености от стружек яблони.
Щепа должна быть сухой и чистой
Виноградную лозу для копчения и приготовления шашлыка часто применяют на Кавказе. Дым от тлеющей лозы придает деликатесу нежный фруктовый вкус и золотистый цвет. На дачных и приусадебных участках более северной зоны эта теплолюбивая культура тоже довольно распространена. При ежегодной обрезке остается много ненужных веток, которые можно высушить, измельчить и использовать в смеси с древесными опилками.
Для придания пряных ноток в щепу добавляют веточки можжевельника, рябины, акации. Они не только обогащают продукт ярким ароматом, но и дополнительно оказывают бактерицидное действие.
Важно. Нельзя использовать щепу из хвойных пород деревьев. Она придает дыму горечь из-за высокой смолистости.
Насколько большим должна быть топка?
Джейсон
(Джефферсон-Сити, штат Миссури)
Я строю офсетную коптильню вдоль
с другом.
Это наша первая попытка, и я придумал свой дизайн
с габаритами. Это 3’x5 ‘WxL, а зона готовки для стоек
высотой 28 дюймов. Камера для переноса дыма из топки в
противоположная сторона имеет 20 дюймов в глубину на 36 дюймов в ширину, и я оставляю зазор в пять дюймов на
конец дыма, чтобы путешествовать.
Дымоход со стороны топки около на полпути в зоне готовки. Я собирался сделать свою топку 2 ‘ квадрат. Мне сказал парень, который строит большие угольные грили и только две коптильные ямы, которых моя топка слишком велика. Моя топка большой или маленький, и камера, по которой дым будет распространяться, будет большой?
Также есть 10 «перекрытие между коптильней и топкой, как большим, следует ли делать проем — все 10 дюймов или меньше? Спасибо за чтение и я действительно с нетерпением жду вашего ответа.Я бы хотел это иметь построен до 11 июля, первого дня рождения моего первого сына! О да, большой барбекю планируется!
Определение размера топки самодельного курильщика
размер топки
от: bbqjim
Я работаю с мелкими курильщиками, поэтому могу возить их
легче готовить выезды и вечеринки.
Я обнаружил, что 1/3 размера — это хорошо, и я
обнаружите, что круглые топки работают лучше.
Поток тепла более стабильный, потому что тепло не хочет уходить вбок.Он хочет идти вверх. Если квадратная, тепловые ловушки сверху и с выходным воздухом толкает его в сторону. Это реально жарко, потом круто. Я тестировал это.
Если у вас есть квадратная коробка для работы, сделайте отверстие в верхней части и используйте
штуцер 90 градусов к дымовой камере. Ящик поставил на колеса и поставил дымоход
в трубе 90 град. Теперь у вас есть 2 части, которые нужно переместить. Намного легче. Поставить
тянуть ручку на коробке как на тележке.
О, если вы используете круглую коробку, вам нужно будет сделать еще 2 вентиляционных отверстия с каждой стороны под решеткой посередине, что лучше всего подходит.Вентиляционное отверстие на конце просто не проходит.
Счастливые курящие братья
барбекю джим,
8-кратный гранд чемпион с барбекю Билла Андерсона
team
удачного дня.
размер топки
, автор: chas
Практическое правило. Размер топки должен составлять 1/3 объема варочной камеры.
кладем черновой пол
от: Chipster
Мне было интересно поставить металлический пол на самую высокую точку топки, поэтому он должен пройти через обе стороны мясо .Мне НУЖНЫ некоторые вещи, которые можно и чего нельзя делать в отношении этой идеи. Ваши предложения был бы очень признателен. спасибо
топка сбоку или сзади?
автор: Anonymous
Я строю своего первого курильщика, каково ваше мнение относительно крепления топки позади и параллельно дыму камера? Будет ли работать так же хорошо, как положить на соде перпендикулярно коптильной камере?
топка
от: ray ray
У меня есть курильщик на 250 галлонов.
Насколько большой должна быть моя топка
Дымоход не вылетал
от: Аноним
Написание дымоход , а не летел или случайность.
Это курильщик с обратным потоком …
от: BBQ Mike
Привет, ребята! Похоже, вы создаете курильщика с обратным потоком. со смещенной топкой. Это фантастический дизайн для приготовления отличного барбекю.Похоже, твоя топка достаточно велика для такой кухни. камера, которая у вас будет.
Но эмпирическое правило, которое подходит для многих «Чем больше, тем лучше» … Вы всегда можете контролировать температуру с помощью твои заслонки … Кстати, это «прилетела» а не «Слезка» как кто-то выразился Это.
Удачи,
Барбекю Майк
Начинающий Питтмастер
от: Аноним
Почему вы ставите топку на ту же сторону, что и ваша
дымоход? Я подумываю поставить свою топку на ту же сторону, но
укладывать черновой пол так, чтобы дым выходил на противоположную сторону
пола перед возвращением к двуустке, для дополнительного дыма и
распределение тепла.
Самодельная топка коптильни размер
автор: Билл
Похоже, слишком большая топка высасывает тепло из меньший огонь, прежде чем он попадет в дымовую камеру. Интересно.
РАЗМЕР ПОЖАРНОГО ЯЩИКА
от: Bacnars Backyard BBQ
Джейсон,
Я только что закончил один примерно такого же размера. Он курит мясо.Шахтная топка имеет размер 24X24X24 и с трудом поддерживает постоянная температура без огромного пожара. Я считаю, что 18X18X24 ИЛИ 16X16X24 — это более чем достаточно.
Я дам вам знать, как мой работает после модификация. Я слышал, что топка должна составлять 30% от основного курильщика!
Коптильно-варочные камеры универсальные
| Камерный тип | 2-ст.![]() |
|---|---|
| Размеры камеры (без дымогенератора сбоку и шкафа управления сбоку) ДхШхВ | 3500х2120х3075 |
| Грузоподъемность | Решетка для 2 сосисок |
| Максимальный размер стойки | 1950 * 1020 * 1020 см |
| Одновременная нагрузка | До 600 кг |
| Колбаса для копчения | 100 см |
| Панель управления | ADITEC |
| Напряжение | 230 / 400В с N |
| Потребляемая мощность | 48 Гц |
| Минимальный размер рабочего пространства | 3160 мм |
| Рекомендуемый размер рабочего пространства | 3330 мм |
Приложение
Камера предназначена для термической обработки (варки, копчения) различных мясных и мясных продуктов, сыра, рыбы и др.
Камера позволяет выполнять следующие процессы:
• Сушка.
• Курение.
• Готовка.
• Вентиляция.
• Автоматическая мойка камеры
Преимущества
• Равное распределение температуры в камере и продукте.
• Автоматизированный технологический процесс.
• Машина изготовлена из высококачественной нержавеющей стали.
• Использование пенополиуретана и силикатного хлопка обеспечивает отличную теплоизоляцию.
• Уплотнения из силиконовой резины обеспечивают герметичность внутреннего пространства.
• Система циркуляции воздуха обеспечивает равномерное распределение температуры.
• Кратковременная обработка продукта.
• Энергетическая безопасность.
• Минимальная потеря веса продукта, высокое качество и повторяемость
Принципы работы:
Коптильно-варочная камера представляет собой камеру с теплоизоляцией.
На первом этапе продукт подвергается сушке (обжигу) при заданной влажности и температуре. После сушки продукт можно подвергнуть копчению (если того требует технология изготовления) или непосредственно процессу варки. Процесс варки продукта происходит при заданной влажности (заданная влажность в камере поддерживается разбрызгиванием воды через форсунки) , и температура.
Особенности конструкции
• Продукция, предназначенная для обработки в камере, размещается на тележках размером 1000х1000х2000 мм.
• Каждая тележка должна быть снабжена циркуляционным вентилятором.
• Возможность регулировки притока свежего воздуха (дыма).
• Используемая система удаления воздуха.
• Автоматическая очистка с помощью насоса и бункера.
• система увлажнения воздуха в камере.
• система подогрева воздуха внутри камеры.
• двери можно открывать изнутри камеры.
• Камера изготовлена из нержавеющей стали AISI 304.
• Одно-, двух-, трех- и четырехстоечные камерные версии.
Скачать инструкцию
- другие фотографии товара,
- Посмотреть видео о продукте
- и скачать сертификаты и другую документацию.
Добро пожаловать на сайт http://unitym.ru/
В настоящее время наша компания производит широкий спектр мясоперерабатывающего оборудования под торговой маркой UNITY FOOD MACHINERY.
На предприятии работают высококвалифицированный инженерно-технический персонал, собственная производственная база, современное металлообрабатывающее оборудование ведущих мировых компаний. Весь процесс производства нашей продукции построен на строгом соблюдении требований стандартов и использовании только высококачественных материалов и комплектующих.
Создание профессионального курильщика для барбекю: 14 шагов (с изображениями)
ВАЖНО: Резка пропанового баллона может быть очень опасной, если не выполняется безопасно, поэтому я бы рекомендовал профессионально очистить и разрезать резервуар для ваш, если вам это неудобно.
Хороший метод безопасной резки пропанового баллона — заполнить весь резервуар водой и мылом для посуды, чтобы удалить остатки пропана и безопасно разрезать его в резервуаре.
Первый шаг — отметить, где будут находиться ваши двери. Мне нравится измерять четверть длины вокруг резервуара для нижней части дверцы, а затем делать верхнюю часть дверцы в нескольких дюймах от верха резервуара. Используйте уровень и мягкую ленту, чтобы линии были прямыми. Если вы собираете коптильню для приготовления большого количества свиней, вы можете подумать о том, чтобы иметь только одну дверцу вместо двух.Однако, когда у вас только одна дверь, существует больший риск деформации при вырезании двери. Все внутренние напряжения в стали снимаются, когда дверь отделена от остальной части резервуара, и двери могут сильно сплющиваться или деформироваться, что затрудняет их установку. Вот почему я рекомендую две двери вместо одной. Также неплохо приварить петли к двери, прежде чем закончить ее вырезать, чтобы дверь оставалась выровненной.
Есть много разных типов петель, которые вы можете купить, но вы также можете легко сделать свои собственные, используя трубы и круглый приклад.Если вы делаете петли своими руками, вы можете отрезать трубы и круглую заготовку до нужной длины с помощью угловой шлифовальной машины и отрезного круга или пилы для резки металла, если она у вас есть. Сначала приварите трубку прихваточным швом чуть выше того места, где вы будете вырезать дверь.
Затем сделайте петли, которые будут входить в трубку, согнув в тисках круглую заготовку. Мне удалось легко согнуть круглый приклад в тисках, используя кусок трубы, чтобы увеличить силу изгиба, но вы также можете использовать горелку для нагрева материала и облегчения гибки.Я использовал простой зажим, чтобы создать рельефный изгиб на петлях, чтобы оставить место для дверного уплотнения в верхней части двери.
Теперь, когда у вас есть петли, вы можете начать вырезать двери, но не вырезайте всю дверь, пока петли полностью не приварены.
Вырежьте по размеченным линиям с помощью угловой шлифовальной машины и отрезного круга. Если бак по-прежнему полон воды, эта часть может сильно испачкаться!
После того, как двери в основном вырезаны, можно приварить петли.Просто вставьте L-образные круглые стержни в трубу и приварите их к двери. Как только вы приварите петли, вы можете закончить вырезать двери.
Руководство для офсетных курильщиков-бочонков — Barburgbible.com
История барбекю
Стивен Райхлен Водяные курильщики, курильщики коробок, бочек и пеллет отлично справляются с курением мяса и морепродуктов. Но ничто не укрепит вашу репутацию мастера пит-стопа, который занимается бизнесом, как заправленный курильщик.В течение многих лет эти курильщики хунка-хунка — также известные как курильщики офсетной бочки, горизонтальные курильщики, курильщики трубки или «курильщики палки» — доминировали в соревнованиях по приготовлению барбекю. Теперь, благодаря моделям для массового рынка, доступным в таких магазинах, как Home Depot и Lowes, они привносят свою особую ауру мужского мужества в американские и европейские дворы.
История офсетных копчилок
Первые офсетные коптильные аппараты, вероятно, были построены нефтяниками в Техасе и Оклахоме. Вдали от дома и ресторанов изголодавшимся по барбекю сварщикам не потребовалось много времени, чтобы взглянуть на излишки нефтепродуктов и стальные бочки емкостью 55 галлонов, увидеть грилей и курильщиков.В основе конструкции со смещением лежат традиционные кирпичные ямы для барбекю, где огонь разводится в одной камере, а дым и тепло пересекают пищу в другой.
В начале 1980-х цена на нефть упала с 30 до 10 долларов за баррель. Техасский производитель металла Уэйн Уитворт, основатель нефтяной компании в Хьюстоне, зависящей от контрактов, начал строить ямы для барбекю, чтобы занять своих сотрудников во время экономического спада. Он назвал свой бизнес курильщиков «Pitt’s & Spitt’s» — сегодня это одно из самых уважаемых имен в индустрии офсетного курения.
Большинство коптильных аппаратов с горизонтальным смещением имеют аналогичную конструкцию — бочкообразная или коробчатая коптильная / варочная камера с крышкой, с топкой, присоединенной немного ниже к одному концу (отсюда и название «смещение»), и дымоходом, выходящим с другого.
В некоторых моделях топка находится сзади.
Как работают офсетные курильщики?
Вы разводите дровяной или угольный и усиленный дровами огонь в топке, поэтому тепло находится рядом с мясом (а не непосредственно под ним). Тепло и дым проходят через портал в камеру готовки, где они циркулируют вокруг продуктов и выходят через дымоход.Этот поток горячего воздуха и древесного дыма является одной из отличительных черт офсетного коптильня, производящего ребра и свиные лопатки с темно-красными кольцами дыма и грудинки с исключительно хрустящей корой.
Вы управляете потоком тепла и дыма в офсетном коптильне — по крайней мере теоретически — регулируя воздухозаборные и вытяжные отверстия. (Открытые вентиляционные отверстия означают больше кислорода, что приводит к более горячему огню.) На практике температура внутри варочной камеры меняется, причем конец, ближайший к топке, является самым горячим.Таким образом, помимо поддержания огня, вы также должны вращать продукты или иным образом управлять потоком воздуха, чтобы избежать неравномерного приготовления. Чем больше гриль, тем сильнее разница температур.
Для выравнивания внутренней температуры готовки производители разработали так называемую технологию обратного потока . Это звучит несколько сложнее, чем есть на самом деле. Одним из примеров является конвекционная пластина , используемая у популярных курильщиков, таких как Horizon, производимая в Оклахоме.Эта тяжелая перфорированная металлическая пластина скользит взад и вперед под продуктами на решетке в дымовой камере с меньшими отверстиями для воздуха ближе к огню и большими отверстиями дальше. Положение пластины и отверстия помогают уравновесить поток горячего воздуха.
Более сложная технологическая система с обратным потоком, разработанная Lang BBQ Smokers из Нахунты, Джорджия, использует внутренние трубопроводы, перегородки и дымоход, установленный на конце топки коптильни. Горячий воздух и дым перемещаются в дальний конец камеры для приготовления пищи, а затем изменяют свой курс над решеткой и возвращаются к топке и дымоходу.Это не только выравнивает боковые температуры в варочной камере, но и помогает удерживать тепло при открытии крышки.
Но даже если в вашем коптильне отсутствует технология обратного потока, вы можете обеспечить равномерное приготовление, просто перемещая и вращая пищу в камере для готовки. Начните с более крупного и жирного конца грудинки или свиной лопатки к огню. Поворачивайте мясо примерно каждый час, перемещая куски, которые начинаются в более прохладном конце камеры приготовления, ближе к огню. Это делает курильщиков офсетным способом немного более трудоемкими, чем грили на пеллетах, которые устанавливаются и забывают, но для многих людей — считайте меня — это часть удовольствия.Курение — это такой же спорт, как и наука, и именно в этом преуспевают спортсмены-барбекю.
Как пользоваться офсетной бочковой коптильней
Если вы знаете, как разводить огонь, вы знаете, как использовать офсетную дымовую трубку. Для курильщиков, работающих в домашних условиях, полностью открывайте воздухозаборное отверстие и вытяжное отверстие дымохода. Начните свой древесный уголь (я предпочитаю натуральный кусковой древесный уголь) в дымоходе и разложите угольки по решетке для угля на дне топки. Закройте крышку — убедитесь, что крышка варочной камеры тоже закрыта — и предварительно нагрейте коптильню до желаемой температуры (обычно от 225 до 275 градусов).Если температура слишком высока, частично закройте форточки и дайте температуре стабилизироваться; если слишком мало, добавьте еще угля. (Примечание: если курильщик новый, следуйте инструкциям производителя по добавлению приправы для курильщика и выжиганию заводской смазки или защитных покрытий до вашего первого сеанса курения.)
Разложите продукты на решетке в рабочей камере. Поместите пропитанные копчением древесные опилки или куски (от 1 до 2 чашек в час в зависимости от размера коптильни) или небольшие поленья твердой древесины в огонь.Долейте топливо и щепу и при необходимости управляйте вентиляционными отверстиями, чтобы поддерживать заданную температуру.
Если вы регулярно участвуете в соревнованиях по приготовлению барбекю или владеете рестораном или кейтеринговой компанией, у вас, вероятно, есть более крупная офсетная коптильня, которая сжигает только «палочки» (дрова). Используйте выдержанные бревна твердых пород и складывайте их в соответствии с инструкциями производителя. Примечание: при сжигании только дров важна хорошая циркуляция воздуха, чтобы аромат дыма не подавлял мясо.
Есть много заядлых курильщиков — одни отличные, другие едва адекватные.Перед покупкой проявите должную осмотрительность. Хорошее место для начала — Доска для барбекю; у нашего сообщества есть лотов и опыта работы с курильщиками за пределами дома, и у нас есть множество твердых мнений о том, какие из них лучше.
Факторы, которые следует учитывать при покупке офсетного курильщика
- Определите свой бюджет. Вы можете купить устройства массового спроса всего за 200 долларов или потратить 5000 долларов или больше на изготовленных по индивидуальному заказу курильщиков.
- Курильщик изготовлен из толстолистовой (1/4 дюйма) стали? (Это золотой стандарт.) Это выглядит и ощущается существенным? Устойчиво ли основание (желательно на колесах)?
- Как мастерство? Сварные швы выглядят прочными? Ручки утеплены?
- Хорошо ли закрываются крышки варочной камеры и топки? Как насчет уплотнения между двумя камерами? (Иногда трудно сказать, пока вы не выкурите курильщика, а к тому времени не сделаете этого.)
- Достаточно ли большой курильщик для вашего стиля развлечения? Если вы готовите целиком свинью один раз в месяц, вам понадобится совсем другой курильщик, чем если бы вы иногда курили ребра или свиную лопатку.В любом случае, я всегда рекомендую покупать больше гриля или коптильни, чем вы думаете, что вам понадобится — это вдохновит вас на развитие вашего воображения и развитие навыков.
- Не забудьте рассмотреть варианты, которые могут включать дополнительные решетки для гриля, съемный ящик или подставку для угля, противовес на крышке варочной камеры, решетки для отрывного копчения, ящик для подогрева, передние или нижние полки, прицеп и т. Д.
- Наконец, насколько хороша гарантия? На некоторые устройства более высокого класса предоставляется пожизненная гарантия.
Преимущества и недостатки офсетных курильщиков
Преимущества использования офсетного курильщика (перед другими курильщиками)
- Вы можете разжечь огонь или добавить щепу, куски, поленья или древесные гранулы, не открывая варочную камеру.
- Большинство агрегатов можно использовать для прямого гриля, установив решетку для гриля над топкой. (Многие устройства поставляются с индивидуальными решетками для гриля.)
- Большой размер камеры готовки позволяет коптить большое количество продуктов.
- Нет электрических схем, которые можно сжечь, или движущихся частей, которые нужно заменить.
- Большинство известных производителей (см. Ниже) предлагают широкий спектр аксессуаров или вариантов настройки.
- Фактор «крутизны» у офсетного курильщика, особенно у большой модели из черной стали, высок.
Недостатки использования офсетной коптильни
- Рынок наводнен недорогими и плохо построенными аппаратами, которые могут навсегда отпугнуть самых благонамеренных людей.Трудно поддерживать петли, отслаиваться от краски, ржавчину металла и заданные температуры. Обычно требуется некоторая сборка.
- Стоимость начального уровня относительно высока для хорошо построенных единиц, 1000 долларов и более.
- Для предварительного нагрева ямы может потребоваться до часа. После этого вам нужно будет часто его проверять. Непрактично для пикника после работы.
- Даже офсетные курильщики скромного роста могут весить сотни фунтов, что затрудняет маневрирование (или прицеп) без посторонней помощи.
- На работоспособность курильщика может повлиять ветреная, дождливая или холодная погода.
- Офсетные курильщики занимают довольно много места, что делает их непрактичными для людей с ограниченным пространством на открытом воздухе.
- Создание и поддержание постоянного огня требует целеустремленности, терпения и, прежде всего, практики. Много практики. Как я уже сказал: это спорт.
Рекомендуемые бренды офсетных курильщиков
Поскольку диапазон цен очень широк, я сгруппировал выбранных производителей в три уровня.Знайте, что некоторые производители колеблются между диапазонами цен.
Зачетные курильщики от 200 до 1000 долларов:
От 1000 до 3000 долларов США, курильщики:
Курильщики со скидкой от 3000 долларов США:
Offset Smoker Вопросы и ответы: что может пойти не так и как это исправить?
Проблема: Спустя всего пару лет мой недорогой офсетный коптильня начинает ржаветь, и решетка гриля выглядит довольно грубой.Раствор: Отшлифуйте пятна ржавчины стальной мочалкой и перекрасьте пораженные участки высокотемпературной краской.Что касается решетки для гриля, замените ее или обработайте пескоструйной очисткой в мастерской по ремонту машин или автомобилей.
Проблема: Дым выходит из крышки варочной камеры и топки.Раствор: Закройте крышки рулоном высокотемпературным силиконом или высокотемпературной прокладкой. Прокладка, произведенная Nomex, например, рассчитана на 800 градусов F.
Проблема: Трудно поддерживать надлежащий нагрев при понижении температуры.Решение: Здесь есть несколько вариантов: 1) Выложите дно коптильни огнеупорным кирпичом перед предварительным нагревом коптильни. 2) Во время готовки накиньте одеяло сварщика из стекловолокна или космическое одеяло на крышку рабочей камеры. Некоторые производители продают для своих плит специальные утепленные одеяла.
Проблема: Я собираюсь провести большую семейную вечеринку в ближайшее время и хочу закоптить свиные ребрышки, но моя решетка для гриля недостаточно велика для того, чтобы вместить необходимое количество решеток.Решение: Купите одну или две стойки для ребер. (Я неравнодушен к своей собственной решетке для ребер Best of барбекю Ultimate.) Или сверните каждую решетку ребер после приправы и закрепите бамбуковыми шпажками. Поставьте змеевики на решетку гриля вертикально. Так они возьмут меньше недвижимости.
Проблема: Температура значительно варьируется от одной стороны курильщика к другой.Решение: Вы можете импровизировать тепловой дефлектор для бедняков, установив перегородку из листового металла или даже противень.Короткая сторона должна быть прикреплена прямо над порталом топки (используйте саморегулирующийся винт) и наклонена вниз к противоположной стороне варочной камеры. Вы можете положить его на огнеупорные кирпичи. Цель состоит в том, чтобы направить тепло и дым вниз, тем самым минимизируя разницу температур. Или просто поставьте алюминиевый противень прямо на решетку гриля рядом с топкой. Как только курильщик нагреется до нужной температуры, налейте в него воду или пиво. Это сохранит среду для курения (и вашу пищу) влажной и снизит температуру возле топки.
Дымовая камера камина, дымовая полка и конструкция заслонки
Топка и дымоход соединены щелевым отверстием, называемым горловиной. Именно в этот момент предусмотрена заслонка, за которой следует дымовая полка и дымовая камера, чтобы помочь направить дым и дымовые газы из дымохода наружу, как показано на рисунке 1.
Демпфер:
Заслонка — это металлическая дверь, которая регулирует тягу в дымоходе. С помощью заслонки можно полностью открыть или закрыть горловину, предотвращая потерю тепла из комнаты, когда камин не используется, и предотвращая попадание насекомых в дом летом.Заслонка простирается на всю ширину проема камина и устанавливается примерно на 6-8 дюймов над перемычкой, которая представляет собой кусок металла, который позволяет кирпичной кладке перекрывать проем камина.
Рисунок 1 — Камин — функциональные элементы
Дымовая полка:
Чтобы нисходящие потоки, образующиеся снаружи, не мешали восходящим потокам, несущим дым и газы, предусмотрена дымовая полка. Его функция — отталкивать нисходящие потоки обратно в дымоход.Дымовая полка проходит по всей длине горла. Его глубина колеблется от 6 дюймов до 12 дюймов в зависимости от глубины камина. В каменных каминах дымовая полка строится из кирпича, камня или другого материала и делается вогнутой на растворе.
Примечание: Специальная смесь огнеупорного раствора используется во камина и дымохода строительства.
Примечание: Сборные камины имеют уже встроенную дымовую полку.
Дымовая камера:
Дымовая камера — это пространство над дымовой полкой, которое действует как воронка для дыма и газа.Он наклоняется от стенок топки к дымоходу, корректируя расстояние между ними, одновременно выдавливая газы из дымохода.
Сборные секции дымохода также доступны для установки с каминными агрегатами.
Дополнительная информация по каминам
Дополнительная информация о конструкции дымохода камина
Дополнительная информация о поленьях для сушки каминов
Дополнительная информация о мраморных каминах для каминов
Дополнительная информация о как построить каменный камин
Обращающие внимание аспекты конструкции и размеров камина
- Боковые стороны камина должны защемляться назад
- Задняя стенка камина должна быть ровной для первых 12 дюймов
- Задняя стенка должна иметь наклон вперед для остальной высоты
- Ширина и высота проема ДОЛЖНЫ быть указаны в таблице ниже
- Дымовая полка над камином должна иметь правильный размер — см. Ниже
Топка — внутренняя конструкция топки, в которой горит огонь. Есть два аспекта конструкции камина, о которых следует позаботиться.Первый — это внутренняя конструкция топки, где горит огонь (топка), скрытая область дымовой полки над топкой и дымоход, который поднимается вверх и проходит через крышу. Это ДОЛЖНО БЫТЬ сделано правильно, иначе камин будет выпускать клубы дыма в ваш дом. Все, что вам нужно знать, находится ниже.
Второе дизайнерское соображение — это то, как выглядит камин для тех, кто смотрит на него, находясь в комнате. Второе дизайнерское соображение — это то, как выглядит камин для тех, кто смотрит на него, находясь в комнате.Если вам нужно вдохновение и вы хотите увидеть потрясающие фотографии фантастических каминов, закажите «Камины: Практическое руководство по проектированию каминов и печей»
.Таблица размеров камина
Все следующие размеры указаны в дюймах, за исключением высоты дымохода. Это значение указано в футах. Конструкция топки имеет решающее значение. Выше фотография каменной топки в моем собственном доме. Задняя стенка топки поднимается вертикально от пола камина, а затем начинает наклоняться к каминному отверстию примерно на 14 дюймов.Боковины топки вертикальные. Обратите внимание, что топка не одинаковой ширины спереди назад. К задней части топки он сужается.
Глубина топки не включает толщину кирпича — или мраморной плитки в моем случае — который обращен к вашему камину. Это очень важно! Вы можете комбинировать размеры дымохода с высотой дымохода. Чтобы правильно определить размер дымохода, необходимо использовать номограф. См. Техническую записку 19B Ассоциации производителей кирпича — Дымоходы в жилых домах. Всегда лучше использовать дымоход меньшего размера, если у вас есть два варианта.При использовании дымохода меньшего размера вам потребуется увеличить высоту дымохода. Более высокие дымоходы втягивают лучше, чем короткие дымоходы того же размера.
Высота и конструкция коптильной камеры очень важны. Обычно это пространство не видно, так как оно скрыто над заслонкой камина. Высота заслонки тоже очень важна. Нижняя часть заслонки должна быть минимум на 8 дюймов выше верха отверстия камина. Если ваш демпфер находится не менее чем на 8 дюймов выше этого места, у вас наверняка будут проблемы с курением!
Я призываю вас прочитать упомянутые мной брошюры от Ассоциации производителей кирпича.У них есть отличные иллюстрации, которые позволят вам ясно увидеть то, что я пытаюсь объяснить. Следующая таблица и ее значения любезно предоставлены Ассоциацией производителей кирпича.
Размеры топки и высота дымохода
| Ширина проема камина | 24 ″ | 28 ″ | 32 ″ | 36 ″ | 40 ″ | 42 ″ | 48 ″ |
| Высота камина | 24 ″ | 24 ″ | 29 ″ | 29 ″ | 29 ″ | 32 ″ | 32 ″ |
| Глубина топки | 16 ″ | 16 ″ | 16 ″ | 16 ″ | 16 ″ | 16 ″ | 18 ″ |
| Ширина задней топки | 11 ″ | 15 ″ | 19 ″ | 23 ″ | 27 ″ | 29 ″ | 33 ″ |
| Высота задней стенки топки по вертикали | 14 ″ | 14 ″ | 14 ″ | 14 ″ | 14 ″ | 16 ″ | 16 ″ |
| Номинальный размер дымохода | 8 × 12 | 8 × 12 | 12 × 12 | 12 × 12 | 12 × 16 | 12 × 16 | 16 × 16 |
| Минимальная высота дымохода | 15 ′ | 20 ′ | 18.5 ′ | 20,5 ′ | 13 ′ | 19,5 ′ | 16,5 ′ |
Еще статьи
Использование поддона для воды в курильщиках Weber
Когда использовать, что класть и как чистить
В этой теме
Назначение поддона для воды
Поддон для воды в плите Weber Smokey Mountain Cooker служит двум целям:
Сковорода создает среду для косвенного приготовления пищи
Многие люди считают, что приготовление на косвенном огне необходимо для приготовления хорошего барбекю.В офсетных коптильнях на дровах камера для приготовления пищи и топка расположены бок о бок в разных отсеках, поэтому процесс приготовления пищи является косвенным по замыслу. В вертикальном коптильне, таком как Weber Bullet, среда непрямого приготовления достигается за счет использования поддона для воды в качестве физического барьера между мясом и теплом. Сковорода улавливает капли, которые в противном случае попали бы на угли и воспламенились, создавая вкус, который у некоторых людей ассоциируется с жареным мясом, а не с мясом, приготовленным на гриле.
Кастрюля для воды
Ну, это кажется очевидным, правда? Поддон для воды используется для удержания воды во время приготовления… но зачем использовать воду при приготовлении барбекю?
Зачем курильщикам Weber использовать воду?
Есть две причины использовать воду при приготовлении барбекю с помощью печи Weber Smokey Mountain Cooker:
Вода поддерживает низкую и медленную температуру плиты
Вода в кастрюле позволяет легко поддерживать и поддерживать «низкую и медленную» температуру барбекю.Чтобы нагреть воду до температуры кипения 212 ° F, требуется много энергии, после чего она превращается в пар. Если скороварка станет слишком горячей, выкипит больше воды, потребляя дополнительную тепловую энергию и снизив температуру скороварки.
Вода сохраняет мясо влажным, усиливает аромат дыма и дымовое кольцо
Когда вода в сковороде закипает, водяной пар заполняет камеру для готовки и окружает мясо. Часть этого водяного пара конденсируется на поверхности мяса, благодаря чему дым прилипает к мясу.Дым придает вкус мясу, а нитрит натрия в дыме играет решающую роль в образовании розового «кольца дыма», которое мы ассоциируем с мясом, приготовленным в присутствии дыма.
Водяной пар также сохраняет мясо влажным и предотвращает его высыхание. Некоторые эксперты заходят так далеко, что говорят, что водяной пар «поливает» мясо, охлаждая его за счет испарения с поверхности. Это замедляет процесс приготовления и способствует превращению жестких соединительных тканей в желатин.Это может быть особенно полезно для жестких нарезок, таких как грудинка и свиной окурок, но кожа птицы может получиться мягкой, а не хрустящей при копчении в присутствии воды.
Кастрюли для воды бывают четырех размеров
Поддон для копчения 14,5
Поддон для копчения 18,5
Поддон для копчения 22,5
Поддон для копчения 18,5 (2008 г. и ранее)
Форма, размер и емкость поддона для воды различаются для каждой модели плиты Weber Smokey Mountain Cooker.
| Форма кастрюли | Размеры | Вместимость | |
| 14,5 ″ WSM | Широкий обод, плоское дно | Внешний диаметр 11,5 дюймов x 4,125 дюйма | 11 чашек — 0,6875 галлона |
| 18,5 ″ WSM | Узкий обод, глубокое круглое дно | 14,375 дюйма x 7 дюймов | 2,5 галлона |
| 22,5 ″ WSM | Узкий обод, неглубокое круглое дно | 18.75 ″ OD x 4,25 ″ | 3 галлона |
| 18,5 ″ WSM (2008 г. и ранее) | Узкий обод, неглубокое круглое дно | 14,75 дюйма x 3 дюйма | 1 галлон |
Расположение сковороды в курильщике
Поддон для воды подвешен на четырех ремнях для гриля в нижней части средней рабочей секции.
Много лет назад в Руководстве пользователя WSM предлагалось, чтобы поддон для воды мог быть помещен непосредственно на верхнюю часть угольной камеры при использовании WSM в качестве пароварки.Как и следовало ожидать, использование Weber Bullet в качестве парохода так и не прижилось.
Когда следует использовать поддон для воды?
Большая часть барбекю в курильщике Weber выполняется с установленным поддоном для воды. Вам следует использовать поддон для воды при приготовлении непрямым методом , независимо от того, насколько горячая вы используете плиту или что вы делаете или не кладете в поддон для воды. не следует использовать поддон для воды при приготовлении пищи прямым методом на горячих углях.
Я использую поддон для воды большую часть своего барбекю, иногда наполненный водой, иногда пустой. Я снимаю поддон с водой, когда готовлю курицу при высоких температурах, чтобы лучистое тепло от углей хрустело куриной кожей, как в рецепте Hot & Fast Chicken. Я также жарил на гриле свиные окурки без сковороды, чтобы жир растекся на горячих углях. Конечно, во время готовки он хорошо пах, но я не почувствовал особой разницы в готовом продукте, и в миске с углем образовался жирный беспорядок.Больше я этого не делал.
Что вы должны положить в поддон для воды? Если что?
На эту тему мнений столько же, сколько владельцев WSM, и нет абсолютно правильного или неправильного ответа. Есть много способов приготовить отличное барбекю с помощью коптильни Weber, независимо от того, что вы кладете или не кладете в поддон для воды. Но вот мой совет после многих лет работы с этой плитой.
Новым владельцам WSM следует использовать воду в сковороде при готовке при температуре 225-275 ° F
Как новый владелец, у вас много забот — узнать о мясе, трении, древесном угле и о том, как управлять своей новой плитой.Думайте о воде как о тренировочном колесе для курильщика. Практически невозможно запустить пулю Weber Bullet при температуре более 275 ° F, пока кастрюля заполнена водой.
Не беспокойтесь о негативных вещах, которые некоторые люди говорят об использовании воды в вашем курильщике (например, пополнение воды во время использования, очистка после использования). Как новый владелец, ваша самая важная цель — добиться успеха и уверенно контролировать температуру плиты. В этом вам очень поможет вода.
Опытные владельцы могут экспериментировать с приготовлением пищи без воды при температуре 225-275 ° F
Можно использовать воду каждый раз, когда готовите на WSM. Если вам нравятся результаты и вас устраивает процесс, не думайте, что вам нужно что-то менять. Однако, освоив воду, вы можете поэкспериментировать с приготовлением пищи без воды.
Для жарки на сильном огне требуется пустая емкость для воды
Для достижения температуры плиты в диапазоне 325–375 ° F необходимо оставлять поддон для воды пустой.Этот диапазон температур часто используется при приготовлении жареных блюд из курицы, индейки, грудинки, свиной окурки и трехконечного наконечника.
Имейте в виду, что пустая сковорода сразу же будет излучать много тепла в сторону мяса на нижней решетке для жарки, поэтому внимательно следите за этими предметами. Вы можете чередовать продукты между верхней и нижней решеткой, чтобы предотвратить переваривание.
Пиво для питья, вода для кастрюль
Не выливайте пиво, вино, сок, лук, травы и специи или другие вещи в поддон для воды.Эти продукты могут хорошо пахнуть во время приготовления, но опыт показывает, что они не придают мяса или не придают им особого вкуса. На вкус мяса больше всего влияют растирание, инъекции и соус. Мой совет: пейте пиво и используйте в кастрюле обычную водопроводную воду.
Пропустить глиняные тарелки, песок, камни лавы, кирпичи, стальные пластины и другие наполнители кастрюль
Владельцы курильщиков Creative Weber испробовали практически все в качестве альтернативы воде в кастрюле или даже самой кастрюле.Обычно цель состоит в том, чтобы создать радиатор, который помогает поддерживать умеренную температуру плиты, но не испаряется, как вода, и легко очищается после приготовления.
Я пробовал несколько из этих альтернативных подходов, и мне не кажется, что они дают много пользы. Если вы не хотите использовать воду в кастрюле, я рекомендую просто обернуть кастрюлю алюминиевой фольгой и оставить ее пустой. Я знаю, что некоторые люди предпочитают альтернативные начинки и заменители кастрюль для воды, но несколько команд соревнований по приготовлению барбекю доказали, что вы можете приготовить чемпионское барбекю в Weber Bullet из пустой сковороды с фольгированной подкладкой.Для меня этого достаточно.
Оборотная сторона использования воды в поддоне
У использования воды в поддоне есть несколько недостатков. К ним относятся:
- Уровень воды необходимо проверить и долить.
- Кожа птицы получается мягкой, но не хрустящей при приготовлении в воде.
- При приготовлении пищи на воде используется больше древесного угля.
- После приготовления утилизируйте остатки воды / жира.
- При неправильном использовании кастрюли возможны травмы от горячей воды и / или пара.
Несмотря на это, я по-прежнему считаю, что преимущества использования воды перевешивают недостатки для новых пользователей WSM, пытающихся поддерживать «низкую и медленную» температуру плиты в диапазоне 225-275 ° F.
Использование горячей воды Vs. Холодная вода в кастрюле
В большинстве случаев можно использовать холодную воду в кастрюле, независимо от того, зажигаете ли вы курильщика стандартным методом или методом миньонов. В самые холодные зимние дни вы можете использовать горячую воду, чтобы поддерживать температуру в плите.
Как часто проверять и наполнять поддон для воды
Если вы готовите только до 4 часов, например, курицу или ребрышки, проверять и снова наполнять сковороду не нужно. Заполните его один раз в начале, и все готово. Для более длительного приготовления проверяйте сковороду и доливайте воду каждые 3-4 часа. Если вы используете 14,5-дюймовый WSM с меньшим поддоном для воды, проверяйте уровень воды чаще.
Советы по безопасности при использовании воды в поддоне
В этом видео демонстрируются советы по безопасности при использовании воды, описанные в этом разделе.
Кипячение горячей воды и / или пара может привести к серьезным травмам, если поддон для воды заполнен небезопасным образом или если поддон упадет на раскаленные угли во время использования. Вот как безопасно использовать воду в плите Weber Smokey Mountain Cooker.
Убедитесь, что сковорода надежно установлена внутри плиты
Выключив среднюю секцию готовки, поставьте емкость для воды на место, убедившись, что она надежно закреплена на четырех ремнях гриля. Если поддон кажется неустойчивым, не используйте поддон и не добавляйте в него воду, пока проблема не будет решена. Ремни гриля можно модифицировать, чтобы сковорода была надежнее закреплена; подробности см. в разделе «Устранение неполадок с деталями».
Добавьте воды в холодную сковороду
Надежно закрепив противень, поместите нижнюю решетку для жарки в среднюю секцию для готовки (если она используется), затем поместите среднюю решетку для жарки над горячими углями в угольной чаше.
Налейте воду в кастрюлю. немедленно , прежде чем она станет горячей. Вылейте в центр сковороды через нижнюю решетку для жарки сверху средней рабочей секции.Не кладите лицо прямо на сковороду. Отойдите от плиты и наденьте длинные перчатки для барбекю, чтобы защитить руки.
Избегайте разбрызгивания и переполнения
Не проливайте воду из кастрюли в огонь и не переполняйте кастрюлю. См. Емкость поддона для воды ранее в этой статье. При доливке в темноте бывает трудно определить, сколько воды находится в кастрюле, поэтому включите уличный свет или используйте фонарик, чтобы убедиться, что кастрюля не переполнена.
Также помните, что во время приготовления пищи слой жидкого жира будет плавать поверх воды.Этот жир будет первым, что выльется в раскаленные угли, если сковорода будет переполнена, что может привести к возгоранию жира… еще одна причина быть осторожной при повторном наполнении сковороды.
Не беспокоить сковороду во время готовки
Перемещение плиты или поднятие средней секции готовки во время использования может привести к падению поддона для воды на раскаленные угли. Вы делаете это на свой страх и риск!
Как добавить воду во время готовки
Чтобы добавить воды в кастрюлю во время приготовления, снимите дверцу доступа и налейте воду через нижнюю решетку для жарки в кастрюлю.
Установите дверцу доступа и убедитесь, что ручка дверцы закреплена правильно. Нет ничего хуже, чем температура в плите выросла до 350 ° F, потому что дверца доступа упала!
Емкости для наполнения сковороды
У вас, вероятно, есть где-то в доме емкость, которую можно использовать для наполнения емкости для воды во время приготовления еды. Попробуйте одно из этих:
- Пластиковый кувшин для молока емкостью 1 галлон
- 2-литровая бутылка газировки
- Бутылка кетчупа емкостью 64 унции (показана на фото выше)
- Винная бутылка
- Садовая лейка с длинным изливом
Удаление воды / жира и очистка поддона
Одна из жалоб людей по поводу использования воды заключается в том, что необходимо утилизировать смесь воды и жира и мыть посуду после использования.У нас есть несколько советов по утилизации и очистке в статье «Очистка, обслуживание и хранение».
Это видео демонстрирует, как я избавляюсь от золы и содержимого поддона для воды после использования моего WSM.
Как запломбировать поддон для воды
В этом видео демонстрируется процесс запечатывания водяного поддона, описанный ниже.
Обмотка поддона для воды широкой прочной алюминиевой фольгой делает очистку быстрой и легкой.Некоторые люди смеются над идеей делать что-либо, кроме простого ополаскивания сковороды после каждого использования, но мне нравится запускать «чистую машину», и для меня важно поддерживать чистоту сковороды.
В зависимости от размера вашей сковороды вам может потребоваться сшить два куска фольги вместе, чтобы сделать один кусок достаточно большим, чтобы покрыть сковороду.
Вот мои рекомендации по срыву сковороды, основанные на многолетнем личном опыте:
Каждый раз при использовании кастрюли оберните дно широкой прочной алюминиевой фольгой.Это избавляет от необходимости счищать скопившийся на дне сковороды дым.
При использовании пустой кастрюли также оберните изнутри фольгой.
При использовании воды в кастрюле, не оставляет фольги внутри кастрюли. Покройте фольгой только нижнюю часть сковороды, накинув фольгу на верхний край сковороды, чтобы закрепить ее, затем удалите излишки материала, чтобы фольга не касалась воды. Наполняя кастрюлю, убедитесь, что уровень воды на ниже на фольге.
Почему? Когда вы покрываете внутреннюю часть сковороды фольгой, вода может пройти через фольгу в сковороду через отверстия, небольшие разрывы или швы, образовавшиеся при соединении двух частей фольги. При нагревании вода под фольгой может расширяться вверх и за край сковороды в огонь, создавая беспорядок в угольной чаше и иногда вызывая неприятный запах. Если эти капли выходят через одно из нижних вентиляционных отверстий или одно из отверстий для винтов на ножках, вы получите беспорядок, показанный ниже.
Если покрыть фольгой только внешнюю часть кастрюли, но продлить фольгу ниже уровня воды, у вас может возникнуть аналогичная проблема — вода попадет между фольгой и внешней поверхностью сковороды, где она может просочиться через фольгу в Огонь.
Итак, я рекомендую никогда не запекать внутреннюю поверхность поддона для воды при использовании воды . Пока вы не прокипятили поддон для воды полностью, его можно очистить без особых усилий с помощью горячей мыльной воды и губки для чистки. Неабразивное очищающее средство, такое как Soft Scrub, поможет с устойчивыми пятнами.
Если вы настаиваете на том, чтобы внутренняя часть сковороды была обернута фольгой, по возможности используйте один лист широкой, прочной алюминиевой фольги и внимательно осмотрите ее на предмет небольших отверстий или разрывов.Если необходимо, плотно сшейте два узких листа фольги, но имейте в виду, что вода может проникнуть через шов, как описано выше.
Забивание поддона для сбора капель для соуса из индейки
Для сбора капель со сковороды при копчении индейки готовьте индейку на верхней решетке для жарки. Выстелите поддон для воды широкой прочной алюминиевой фольгой, но подвесьте фольгу на 1-1 / 2 дюйма над дном кастрюли, чтобы она не касалась. Этот воздушный зазор помогает предотвратить горение капель.
Если вы не перекурите индейку, то капля будет идеальной для приготовления соуса. Когда вы вынимаете индейку из скороварки, вылейте в сковороду все соки, скопившиеся в полости тела.


Можно выбрать профнастил, металлочерепицу или мягкую кровлю.
Главные ее преимущества – мобильность и маленькие габариты. Такую модель можно брать с собой в походы, на рыбалку или в экспедицию.


Главные ее преимущества – мобильность и маленькие габариты. Такую модель можно брать с собой в походы, на рыбалку или в экспедицию.
